
7
E
5. Indicate that you want to add this measurement to the
next measurement.
• On the DW099E keypad, click (Figure
A#7).
• On the DW099S keypad, click (Figure B#1).
6. Point the laser at the top of the tool toward the next
wall or object.
7. Click to measure the distance and add it to the
previous measurement.
8. View the total of the two measurements at the bottom
of the display window (Figure E#3).
Subtracting Measurements
You can subtract one measurement from another.
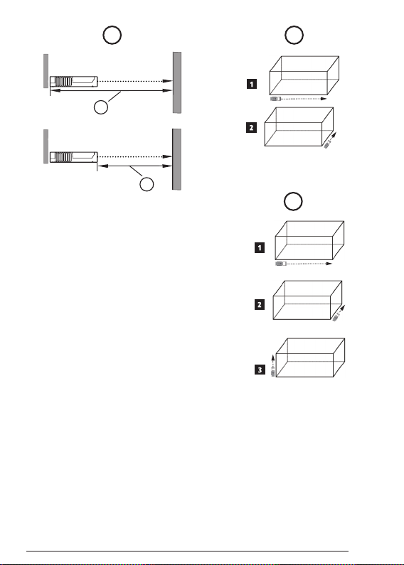
1. Click (Figure A#5) to turn on the tool.
2. The tool will measure the distance from the bottom of
the tool to the wall or object (Figure F#1).
To measure from the top of the tool instead of the
bottom (Figure F#2), hold for 2 seconds.
On the display window, the tool icon will change from
to (Figure E#5).
3. Point the laser at the top of the tool (Figure A#1)
toward the wall or object whose distance you need to
measure.
4. Click to measure the distance from the tool to
the wall or object.
5. Indicate that you want to subtract the next
measurement from this measurement.
• On the DW099E keypad, click twice.
• On the DW099S keypad, click twice.
6. Point the laser at the top of the tool toward the next
wall or object.
7. Click to measure the distance and subtract it
from the previous measurement.
8. View the difference between the two measurements
at the bottom of the display window (Figure E#3).
Changing the Unit of Measure
Once the current measurement is taken (the device is not
in Continuous Measure mode), you can change the unit of
measure from decimal ft (6.21 ft) to fractional ft (6'02"9/16),
fractional ft to meters (1.894 m), meters to inches (74 9/16
in), or inches to decimal ft.
• On the DW099E keypad, click (Figure A#3).
• On the DW099S keypad, hold (Figure B#1) until
you see the measurement change (2-3 seconds).
Using Your DW099S With
If you have a DW099S, you can use its Bluetooth®
capability to pair it with the DeWALT Tool Connect
application on your cell phone or tablet, and then record
accurate measurements in your floor plans.
1. From either or , download the
DeWALT Tool Connect application to your cell phone
or tablet.
2. Using the DeWALT Tool Connect application,
capture the room or space for which you want to
record the measurements, and build your floor plan.
3. On the DW099S keypad, click to turn on the
tool.
4. If the Bluetooth®icon does not appear on the display
window (Figure E#6), click on the keypad
to turn on Bluetooth®.
5. Use the DeWALT Tool Connect application to pair
your cell phone or tablet to the DW099S.
6. Use the DW099S to measure each wall in the room
or space captured in the floor plan, and sync the
measurements to the floor plan.
7. Using the DeWALT Tool Connect application, save
the floor plan.
Once you have saved the floor plan, you can export it to
one of several different file formats, including PDF, DXF,
or JPG, and print it or email it to other people (your realtor,
home center, etc.).
“THE BLUETOOTH®WORD MARK AND LOGOS ARE REGIS-
TERED TRADEMARKS OWNED BY BLUETOOTH SIG, INC. AND
ANY USE OF SUCH MARKS BY DEWALT INDUSTRIAL TOOL CO.
IS UNDER LICENSE. OTHER TRADEMARKS AND TRADE NAMES
ARE THOSE OF THEIR RESPECTIVE OWNERS.”