
5 of 7 ISSUED: 05-01-12 SHEET #: 125-9307-1
A
D
A
C
I
C
NOTE:
A
H
D
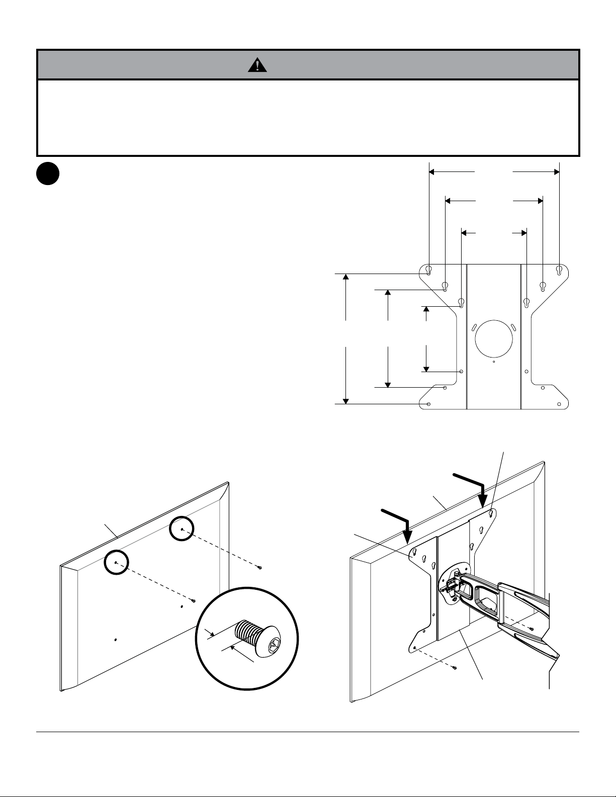
1
Installation to Solid Concrete or Cinder Block
CUTAWAY VIEW
INCORRECT CORRECT
WARNING
WARNING
A
C
H
I
1
3
D
D
ADC
2
D
A
C
FIGURE 1.3