–4 –
AUTOMATIC OPERATION
The device will automatically determine the mode of operation, HEAT, COOL or DEHUMIDIFY depending on the current room
temperature. The selected mode of operation will change when the room temperature varies.
■As the settings are stored in memory in the remote controller, you only have
to press the (START/STOP) button next time.
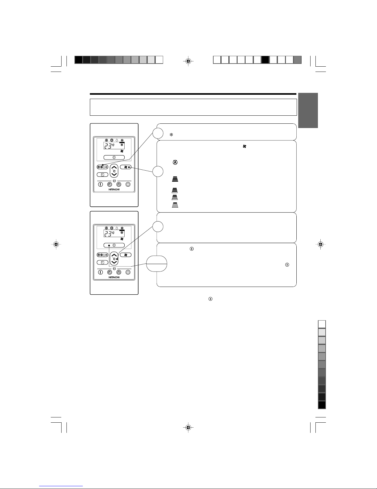
Press the FUNCTION selector so that the display indicates the (AUTO)
mode of operation.
●When AUTO has been selected, the device will automatically determine
the mode of operation, HEAT, COOL or DEHUMIDIFY depending on
the current room temperature. However the mode of operation will
not change when indoor unit connected to multi type outdoor unit.
●If the mode automatically selected by the unit is not satisfactory,
manually change the mode setting (heat, dehumidify, cool or fan).
Press the (START/STOP) button.
Operation starts with a beep.
Press the button again to stop operation.
1
START
STOP
VARIOUS FUNCTIONS
■Auto Restart Control
●If there is a power failure, operation will be automatically restarted when the power is resumed with previous operation mode.
(As the operation is not stopped by remote controller.)
●If you intend not to continue the operation when the power is resumed, switch off the power supply.
When you switch on the circuit breaker, the operation will be automatically restarted with previous operation mode.
Note: 1. If you do not require Auto Restart Control, please consult your sales agent or OFF by remote control.
2. Auto Restart Control is not available when Timer or Sleep Timer mode is set.
FAN SPEED (AUTO) ..... When the AUTO fan speed mode is set in the cooling/heating operation:
For the heating operation
●The fan speed will automatically change according to the temperature of
discharged air.
●When the difference of room temperature and setting temperature is large,
fan starts to run at HI speed.
●When the room temperature reaches setting temperature, fan speed changes
to LOW automatically.
●When the difference of room temperature and setting temperature is large,
fan starts to run at HI speed.
●After room temperature reaches the preset temperature, the cooling operation,
which changes the fan speed and room temperature to obtain optimum
conditions for natural healthful cooling will be performed.
For the cooling operation
(EN) SPX-RCK3 8/25/08, 12:424
Black