– 3 –
ENGLISH
SILENT
LOW
MED
HI
AUTO
HEAT
DEHUMIDIFY
COOL
FAN
FAN SPEED
SLEEPING
STOP (CANCEL)
START (RESERVE)
START/STOP
TIME
TIMER SET
TIMER SELECTOR
ON TIMER
OFF TIMER
AUTO SWING
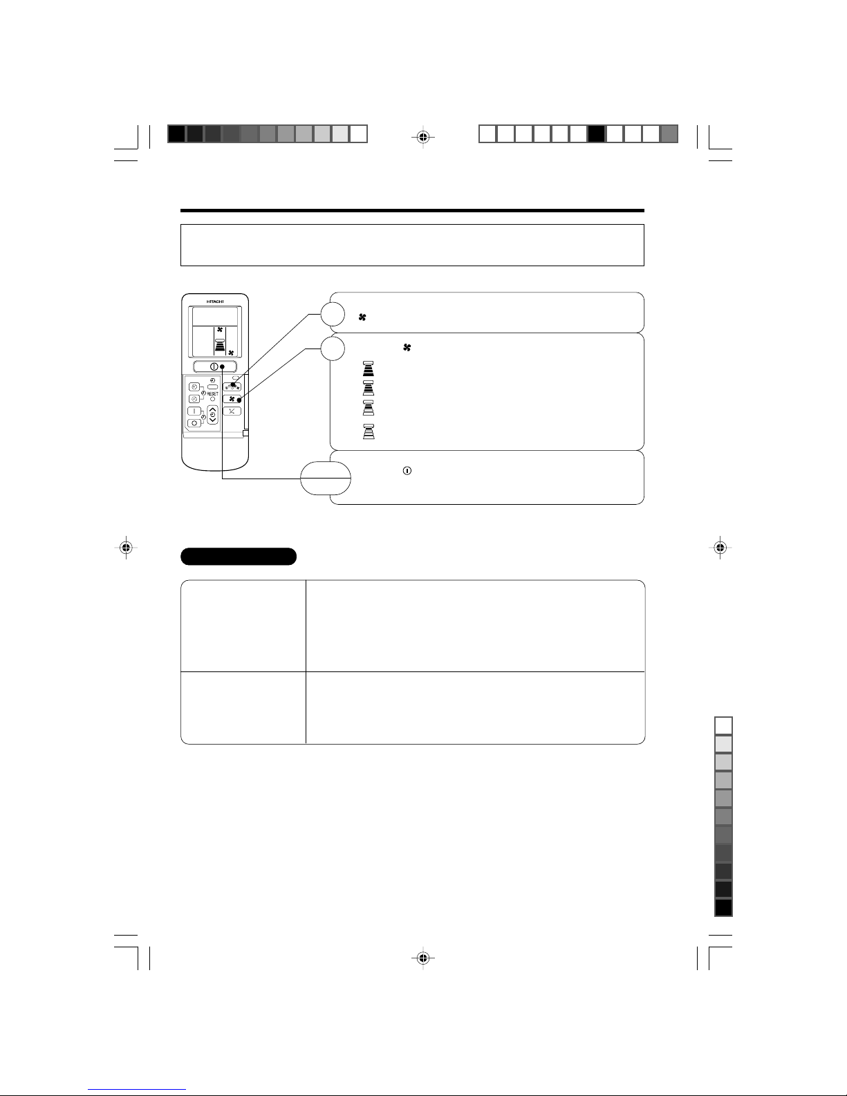
NAMES AND FUNCTIONS OF REMOTE CONTROL UNIT
REMOTE CONTROLLER
●This controls the operation of the indoor unit. The range of control is about 7 meters. If indoor lighting is controlled
electronically, the range of control may be shorter.
This unit can be fixed on a wall using the fixture provided. Before fixing it, make sure the indoor unit can be controlled
from the remote controller.
●Handle the remote controller with care. Dropping it or getting it wet may compromise its signal transmission capability.
●After new batteries are inserted into the remote controller, the unit will initially require approximately 10 seconds to
respond to commands and operate.
●Signal emitting window/transmission sign
Point this window toward the indoor unit when controlling it.
The transmission sign blinks when a signal is sent.
●Display
This indicates the room temperature selected, current time, timer status, function
and intensity of circulation selected.
●START/STOP button
Press this button to start operation. Press it again to stop operation.
●SLEEP button
Use this button to set the sleep timer.
●TEMPERATURE buttons
Use these buttons to raise or lower the temperature setting. (Keep pressed, and
the value will change more quickly.)
●TIME button
Use this button to set and check the time and date.
●RESET buttons
●FUNCTION selector
Use this button to select the operating mode. Every time you press it,
the mode will change from (AUTO) to (HEAT) to (DEHUMIDIFY) to
(COOL) and to (FAN) cyclically.
●FAN SPEED selector
This determines the fan speed. Every time you press this button, the intensity
of circulation will change from (AUTO) to (HI) to (MED) to (LOW)
to (SILENT) (This button allows selecting the optimal or preferred fan speed
for each operation mode).
●AUTO SWING button
Controls the angle of the horizontal air deflector.
●TIMER control
Use this button to set the timer.
●OFF-TIMER button Select the turn OFF time.
●ON-TIMER button Select the turn ON time.
●RESERVE button Time setting reservation.
●CANCEL button Cancel time reservation.
Precautions for Use
●Do not put the remote controller in the following places.
●Under direct sunlight.
●In the vicinity of a heater.
●Handle the remote controller carefully. Do not drop it on the floor,
and protect it from water.
●Once the outdoor unit stops, it will not restart for about 3 minutes
(unless you turn the power switch off and on or unplug the power
cord and plug it in again).
This is to protect the device and does not indicate a failure.
●If you press the FUNCTION selector button during operation, the
device may stop for about 3 minutes for protection.
(EN A5) SPX-RCK2 8/25/08, 12:103
Black