
- 2 -
values. The phase with the correct parameters is directed to the
output Switch. The device measures the RMS value (True RMS)
of the voltage, so it is perfect for modern automation systems,
where the supply voltage is often distorted due to the operation
of nearby devices with pulse power supplies. The corresponding
green LED light indicates that the phase is connected to the out-
put of the switch. Depending on the set mode of operation, pha-
se L1 is the priority phase, or the system operates without phase
priority (Tret set to ∞ ).
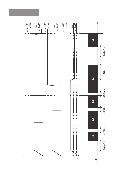
Operating with the priority phase
In this mode, the L1 phase is the priority phase and if its pa-
rameters are correct for the time set by the Tret knob, it will be
connected to the output. If the L1 phase exceeds the upper or
lower settings level (its voltage value will be incorrect), then the
voltage of the L2 phase (if it has the correct parameters) will be
connected to the output, or the L3 phase, if the L2 phase was
also incorrect. If phase L3 is connected to the output and phase
L2 returns to the correct parameters, and will be correct for the
time set by the Tret knob, then it will be switched to the output
(priority of phases from highest to lowest is L1, L2, L3). If the
output phase voltage is 10 V below the set value or 10 V above
it, the switchover will occur with a 10-second delay. If the phase
value goes beyond this range, it will be disconnected immediate-
ly (about 200 ms).
Operating without the priority phase (Tret set tos ∞ ).
In this mode, all phases have the same priority, which means
that the first of the correct phases will be connected to the out-
put (when the power is switched on, the check starts from phase
L1). The output phase will be changed only when the voltage at
the output exceeds the range set by the Vmin and Vmax knobs.