CS Instruments FA 300-2 Ex Manual de usuario
Otros manuales de Instrumento de medición de CS Instruments

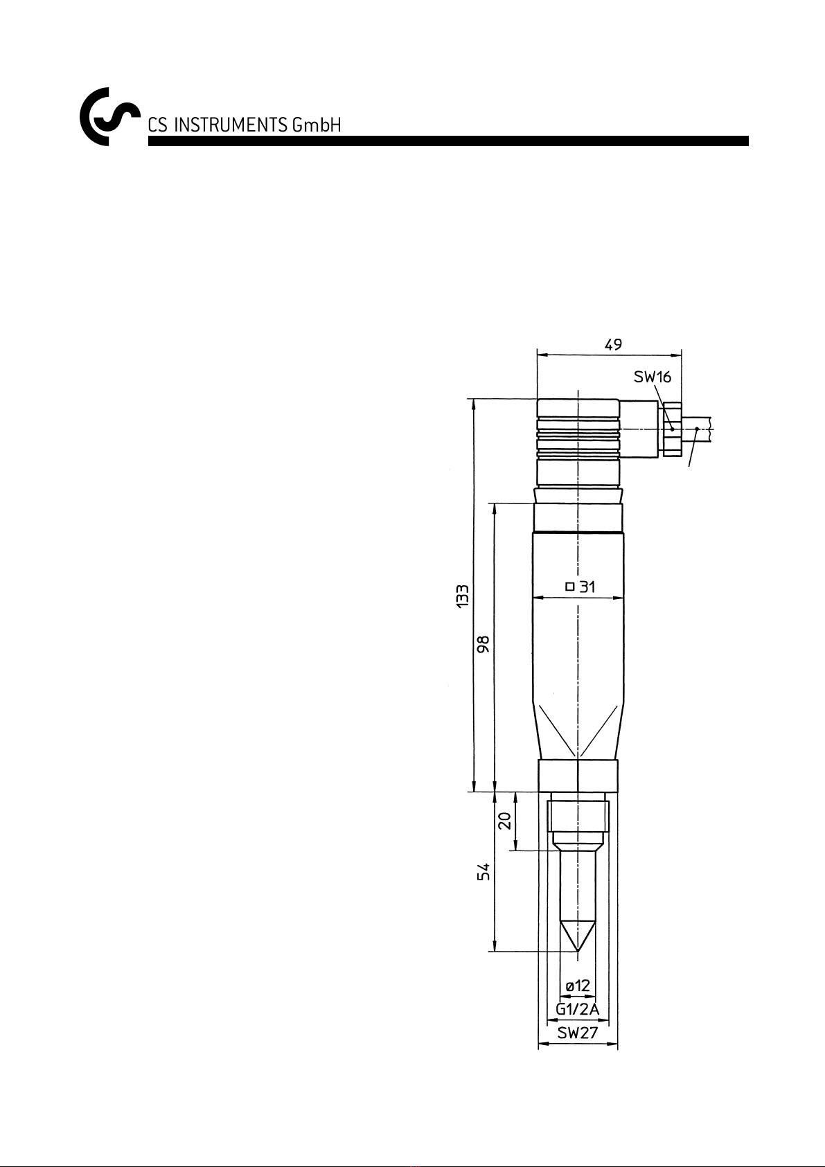
CS Instruments
CS Instruments DS 300-P Manual de usuario

CS Instruments
CS Instruments DP 400 mobil Manual de usuario

CS Instruments
CS Instruments LD 500 Manual de usuario

CS Instruments
CS Instruments DP 500 Manual de instrucciones

CS Instruments
CS Instruments LD 510 Manual de usuario

CS Instruments
CS Instruments DS 350-P Manual de instalación

CS Instruments
CS Instruments DS 500 Manual de usuario

CS Instruments
CS Instruments FA 400 Manual de usuario

CS Instruments
CS Instruments 0554 0504 Manual de usuario

CS Instruments
CS Instruments PC 400 Hoja de especificaciones
Manuales populares de Instrumento de medición de otras marcas

Endress+Hauser
Endress+Hauser Proline Promag 50 Especificaciones técnicas

Siemens
Siemens SITRANS F Coriolis FCT030 Manual de lista de piezas

KLINGER
KLINGER CMF V Series Manual de usuario

EXFO
EXFO FTB-2 Manual de operación y mantenimiento

Keysight
Keysight M8290A Manual de usuario

ADTEK
ADTEK MW-5 Manual de usuario


























