
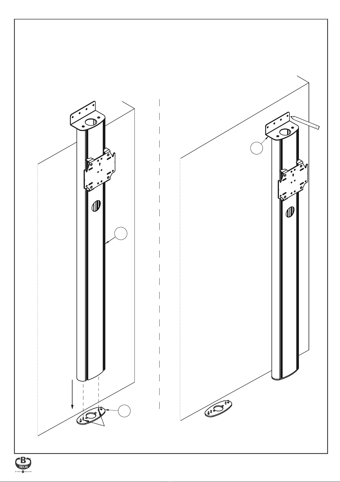
Please pay careful attention to where this product is located. Check load capacity of wall/oor prior to installation as some
surfaces are not suitable for installation. Designed for indoor use, this mount is suitable for public or home installation
If located in a public or frequently populated area ensure that the product is out of the immediate reach of people.
If any AV equipment is to be suspended over the likely path or location of people then great care should be taken to
secure all parts of the installation from falling.
When drilling holes it is essential to avoid contact with electrical cables and water or gas pipes contained within.
Use of a good quality live wire detector and hidden object locator is therefore recommended.
Only drill into structures when you are sure it is safe to do so.
2
CONTENTS
Installation Safety Notes......................................................................................................................
Parts List....................................................................................................................................................
Installation Instructions.......................................................................................................................
Product Dimensions............................................................................................................................
B-Tech Contact Details........................................................................................................................
2
4
6
14
16
INSTALLATION SAFETY INSTRUCTIONS
CAUTION:
Do not attempt to install this product until all instructions and warnings have been read and properly understood.
Please keep these instructions for future reference.
Please check carefully to make sure there are no missing or defective parts - defective parts must never be used.
B-Tech AV Mounts, its distributors and dealers are not liable or responsible for damage or injury caused by improper
installation, improper use or failure to observe these safety instructions. In such cases, all guarantees will expire.
General
B-Tech AV Mounts recommends that a professional AV installer or other suitably qualied person install this product.
Great care must always be taken during installation as most AV equipment is of a fragile nature, possibly heavy and
easily damaged if dropped.
If you do not fully understand the instructions or are not sure how to install this product safely, then please consult a
professional for advice and/or to install this product for you. Failure to mount this product correctly may cause serious
injury or death both during installation and at any time thereafter.
Do not mount any AV equipment that exceeds the specic weight limit of the product you are installing.
This weight limit will be clearly stated on each product and its packaging and will vary from product to product.
Product location
Fixing hardware
It is highly recommended that all xing screws be used where supplied and that the purpose of all other xing hardware
is fully understood. In some cases more AV equipment xing hardware will be supplied to accommodate dierent models
of equipment and set up congurations. The installer must be satised that any supplied xing hardware is suitable for
each specic installation. The xing kit supplied with the product may not be suitable for all walls/oors.
If any xing screws or included hardware are deemed not sucient for a safe installation then please consult a
professional or your local hardware store.
Hazard limitation
When routing cables take advantage of any built in cable management features that the product might provide and ensure
that all cables are tidy and secure. Check to see that any moving aspect of the product can do so unhindered by any cabling.
Some products have moving parts and the potential to cause injury through the crushing or trapping of ngers or other
body parts.
Particular attention to the nature of moving parts is required especially when assembling installing and adjusting
during set up.
Immediately after installation double-check that the work done is safe and secure. Double-check all
necessary xings are present and are of ample tightness.
It is recommended that periodic inspections of the product and its xing points are made as frequently as possible (no more
than 6 months apart) to ensure that safety is maintained.
If in doubt consult a professional AV installer or other suitably qualied person.
This stand is intended for use only with the
maximum weights indicated. Use with screens heavier than the maximum
indicated may result in instability causing possible injury.