
ACR128 Dual Interface Smart Card Reader
Table of Contents
1.0 Introduction ................................................................................................................................................3
1.1 Features..........................................................................................................................................3
2.0 Terms Used................................................................................................................................................4
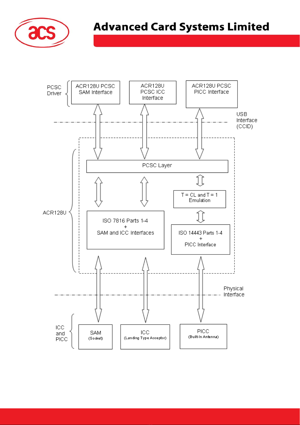
3.0 Architecture of ACR128 .............................................................................................................................5
3.1 Communication between the PCSC Driver and the ICC, PICC & SAM.................................................5
3.2 Communication between the PCSC Driver and the ACR128U Peripherals..........................................6
3.3 ACR128 Escape Command...................................................................................................................6
4.0 Hardware Description.................................................................................................................................7
4.1 Reader Firmware Version...............................................................................................................7
4.2 LED Indicator...................................................................................................................................7
4.3 Buzzer.............................................................................................................................................9
4.4 USB Interface................................................................................................................................11
4.5 ICC Interface (Contact Smart Card)..............................................................................................11
4.6 SAM Interface (Contact Smart Card)............................................................................................11
4.7 PICC Interface (Contactless Smart Card).....................................................................................11
5.0 PICC Interface Description.......................................................................................................................12
5.1 ATR Generation ............................................................................................................................12
5.1.1 ATR format for ISO 14443 Part 3 PICCs..............................................................................12
5.1.2 ATR format for ISO 14443 Part 4 PICCs..............................................................................13
5.2 ICC and PICC Interfaces Conflict Handling..................................................................................14
5.2.1 Reader Interface Usage .......................................................................................................14
5.2.2 Exclusive Mode Setting........................................................................................................14
5.3 Automatic PICC Polling.................................................................................................................15
5.4 Manual PICC Polling.....................................................................................................................17
5.5 Change The Default FWI, Polling Timeout And Transmit Frame Size Of The Activated PICC....17
5.6 Antenna Field ON/OFF .................................................................................................................18
5.7 Transceiver Setting .......................................................................................................................19
5.8 PICC Setting..................................................................................................................................20
5.9 PICC Polling For Specific PICC Types .........................................................................................21
5.10 PICC T=CL Data Exchange Error Handling..................................................................................21
5.11 Auto PPS (Communication Speed Change).................................................................................22
5.12 Read and Update the RC531 Register .........................................................................................23
5.13 Refresh the Interface Status .........................................................................................................24
6.0 PICC Commands for General Purposes..................................................................................................25
6.1 Get Data........................................................................................................................................25
7.0 PICC Commands (T=CL Emulation) for MiFare 1K/4K MEMORY Cards ...............................................26
7.1 Load Authentication Keys .............................................................................................................26
7.2 Authentication................................................................................................................................27
7.3 Read Binary Blocks.......................................................................................................................29
7.4 Update Binary Blocks....................................................................................................................30
7.5 Value Block Related Commands ..................................................................................................31
7.5.1 Value Block Operation..................................................................................................................31
7.5.2 Read Value Block .........................................................................................................................32
7.5.3 Restore Value Block .....................................................................................................................33
8.0 PICC Commands for ISO 14443-4 Compliant Cards...............................................................................34
Appendix A: E-passport..................................................................................................................................36
Page 2 of 36
ACR128 API
Version 1.7 May 2008