
_
ANC-30/30U/AV-34
AEC
QUT
SELECTOR
DIM
FF
ре,
р)
PHCINES
SPEAKERS
FRONT
жай
De
0:1
YAMAHA
2®=
REMOTE
CONT
AOL
TAANSMITTER
E
CONTENTS
TO
SERVICE
PERSONNEL
........
FRONT
PANELS
.........:.....
REAR
PANELS
................
SPECIFICATIONS
..............
`
BLOCK
DIAGRAM
.............
INTERNAL
VIEW
..........
DISASSEMBLY
PROCEDURES
.....
AEAR
LEVEL
STEREO
AV
AMPLIFIER
SERVICE
MANUAL
VOLUME
в,
Бра
SURROUND
MODE
INPUT
SELECTOR
Saatos
AF
ща
араг.
TAPE
2
ев
1
ТАРЕ
1
TUNER
со
([D
нац.
BUR
усне
SUPER
BASS
у
"i
TONE
TREBLE
BALANCE
DEFEAT
Ag
NATURAL
Саме
SURROUND
IMPORTANT
NOTICE
This
manual
has
been
provided
for
the
use
of
authorized
Yamaha
Retailers
and
their
service
personnel.
И:
has
been
assumed
that
basic
service
procedures
inherant
to
the
industry,
and
more
specifically
Yamaha
Products,
are
already
known
and
understood
by
the
users,
and
have
therefore
not
been
restated.
WARNING:
|
Failure
to
follow
appropriate
service
and
safety
procedures
when
servicing
this
product
may
result
in
personal
injury,
destruction
of
expensive
components
and
failure
of
the
product
to
perform
as
specified.
For
these
reasons,
we
advise
all
Yamaha
product
owners
that
all
service
required
should
be
performed
by
an
authorized
Yamaha
Retailer
ог
the
appointed
service
representative.
IMPORTANT:
The
presentation
or
sale
of
this,
manual
to
any
individual
or
firm
does
not
constitute
authorization,
certification
or
recognition
of
any
applicable
technical
capabilities,
or
establish
a
principle-agent
relationship
of
any
form.
The
data
provided
is
believed
to
be
accurate
and
applicable
to
the
unit(s)
indicated
on
the
cover.
The
research,
engineering,
and
service
departments
of
Yamaha
are
continually
striving
to
improve
Yamaha
products.
Modifications
are,
therefore,
inevitable
and
specifications
are
subject
to
change
without
notice
or
obligation
to
retrofit.
Should
any
discrepancy
appear
to
exist,
please
contact
the
distributor's
Service
Division.
WARNING:
Static
discharges
can
destroy
expensive
components.
Discharge
any
static
electricity
your
body
may
have
accumulated
by
grounding
yourself
to
the
ground
buss
in
the
unit
(heavy
gauge
black
wires
connect
to
this
buss).
IMPORTANT:
Turn
the
unit
OFF
during
disassembly
and
parts
replacement,
Recheck
all
work
before
you
apply
power
to
the
unit.
ADJUSTMENTS
........................
6
и
2.1
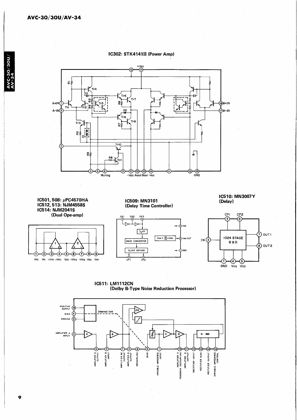
IC
BLOCK
.........................
779
8
PRINTED
CIRCUIT
BOARD
............10~14
eres
A
WIRING
.............................
15
2...4...
B
SCHEMATIC
DIAGRAM
................
16/17
DEMNM:
RS-AVC30
REMOTE
CONTROL
TRANSMITTER
..
18
MINNIE
6
PARTS
Ы$Т.......................19^29
~
@
YAMAHA
МІРРОМ
GAKK!
СО,
LTD.
HAMAMATSU,
JAPAN
3.3K-881
Пе
Printed
in
Japan
'87.2
»
<
n
і
ЈА]
о
м
б»
о
(=
М