
Tactical Controls Limited 72TS Train Number Box
Instruction Manual
Description
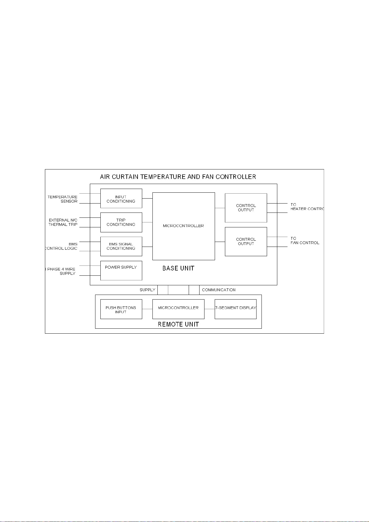
The Air Curtain Controller (ACC) consists of a base unit and a remote unit. The base unit
houses the power supply, sensor input conditioning circuitry, microcontroller, output drive to
heaters and fan, thermal trip protection, Building Management System (BMS) control logic
and interface to the remote unit.
The remote unit forms the operator panel which consists of three 7-segment Light Emitting
Diode (LED) display for temperature and parameters indication and three push buttons for
control and setting adjustments.
All the connections to the controller are via screw terminals.
Power supply
The ACC requires 3 phase 4 wire 415Vac 50/60Hz supply.
Sensor input
A high accuracy Negative Temperature Coefficient (NTC) temperature sensor is supplied as
standard.
Control output
Opto-triac outputs are used for the control of heater output. The rating is 3 phase 3 wire
415Vac 12KW max.
Relay outputs are used for the control of the fan speed; high, medium, low or off.
User interface
The user interface comprises of 3 digits 7-segment red LED display and 3 push buttons.
The 7-segment display is used to indicate measured temperature, setpoint temperature, heater
On/Off setting, fan speed setting. It is also used to show other engineering parameters (in
engineering view mode) such as proportional band, current output power, heatsink
temperature, zero and span reference, air alarm setting, heatsink alarm setting and minimum
power setting.
One push button is used to scroll the parameter display. Two adjustment push buttons "UP"
and "DOWN" are used to increment and decrement the parameters settings.
Please note after 3 minutes of inactivity on the push buttons, the display will revert to
showing air temperature or alarm.
72TSTNB Instruction Manual.doc Page 4 2 March 2007
Issue 1.0