
Form #43127360
-7- July 09
10. Replace the heater cover.
LIGHTING INSTRUCTIONS
1. Stop! Read the safety information above.
2. Set the thermostat (gas control knob)
clockwise to OFF position.
3. Turn off all electric power to the appliance.
4. Wait ten (10) minutes to clear out any gas.
Then smell for gas near the heater and at
the floor beneath the heater. If you smell
gas STOP! Follow B in the safety
information above. If you do not smell
gas, go to the next step.
5. Turn knob on gas control counterclockwise
to P PILOT. Push in control knob
to stop and hold.
6. Repeatedly push the piezo ignitor button
until the pilot is lit (a match can also be
used to light pilot buner). Continue to hold
the control knob in for about 10 to 15
seconds after the pilot is lit. Release
knob and it should pop back up. Pilot burner
should remain lit. If it goes out repeat
procedure 6.
If knob does NOT pop up when released
STOP! turn off gas supply and immediately
call your service technician or gas supplier.
If the pilot will not stay lit after several tries,
turn the gas control clockwise
to OFF and call your service technician
or gas supplier.
7. When the pilot burner remains lit turn the
gas control knob counterclockwise
to HI (high) position.
8. Turn on all electric power to the appliance.
. Thermostat (gas control knob) can be set to
desired setting from HI to LO.
10.ATTENTION: Gas control has an interlock
latching device. When the pilot burner
remains lit a safety magnet is energized and
the interlock latching device becomes
operative. If the gas control is turned to the
OFF position or gas flow to the appliance
is shut off DO NOT RELIGHT THE PILOT
BURNER until the safety magnet is de-
energized (approximately 60 seconds).
There will be an audible click when the
safety magnet in the control is de-energized.
Pilot burner can now be relit by repeating
steps 3 thru 6 above.
HI
P
OFF
LO
Ignitor
Piezo
Electrode
Pilot
Burner
Thermocouple
Pilot is located
in the center
below the
glass front
HI
P
OFF
LO
Ignitor
Piezo
TO TURN OFF GAS TO
APPLIANCE
Turn the thermostat (gas control knob)
clockwise to the OFF position.
Do not use excessive force when turning
knob.
Turn off all electric power to the appliance.
Step 1 Step 3 Step 4 Step 2
STEP 1. Insert tabs along the top edge of the cover into the slots.
STEP 2. Rotate the cover down.
STEP 3. Insert the tabs on both sides of the heater into the lower slots.
STEP 4. Attach the cover with the original screws.
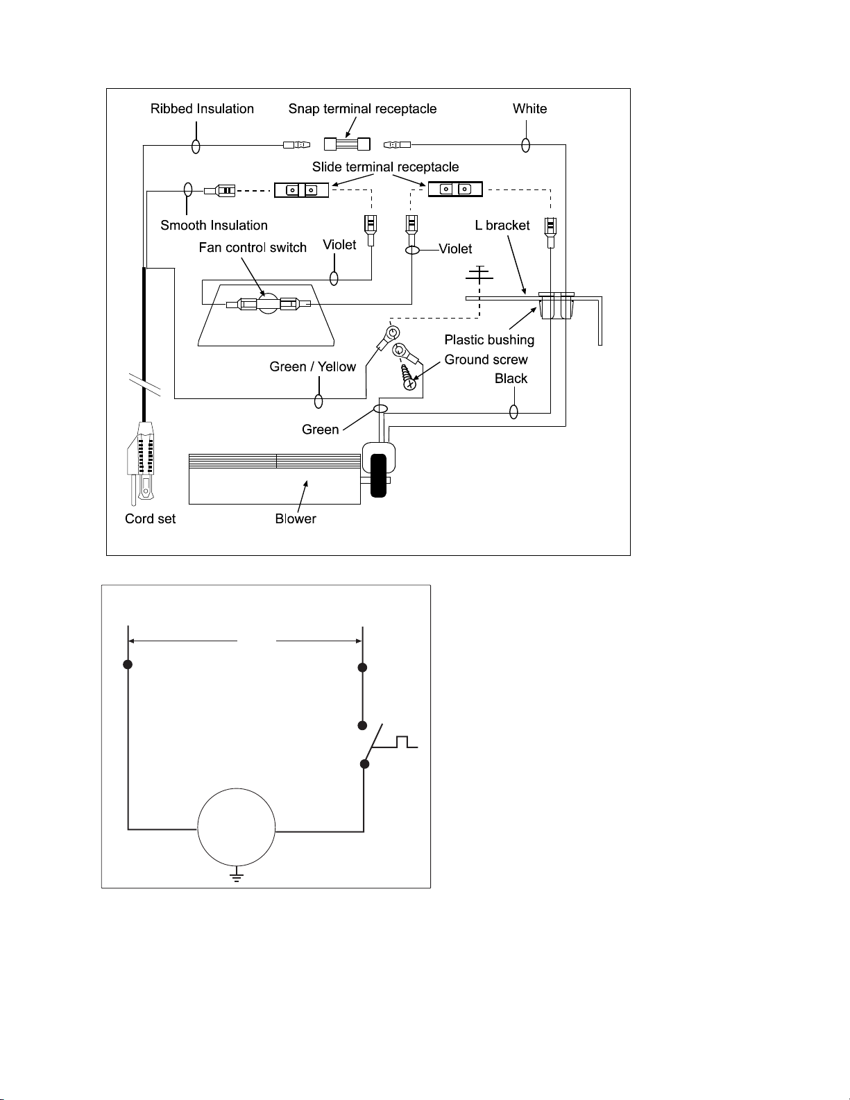
FAN CONTROL – Thermostatic (automatic)
The automatic fan control switch is a non-adjustable automatic type. The fan control will
require approximately five (5) minutes of main burner operation before the fan
control "closes" and activates the blower. The blower will continue to run
approximately five (5) minutes after the main burner shuts off, before the fan control
"opens" and deactivates the blower. See diagram of operating sequence below.
T0 T1 T2 T3 T4 T5
Ignition
Gas valve
Manual Ignition
Heater thermostat ON
gas valve open
Fan thermostat on after 5
mins, blower ON
Pilot Flame
Thermostat (heater)
Thermostat (fan)
Blower
Heater thermostat
OFFgas valve close
Fan thermostat off after 5
mins, Blower OFF
Legend: Function ON: Function OFF: