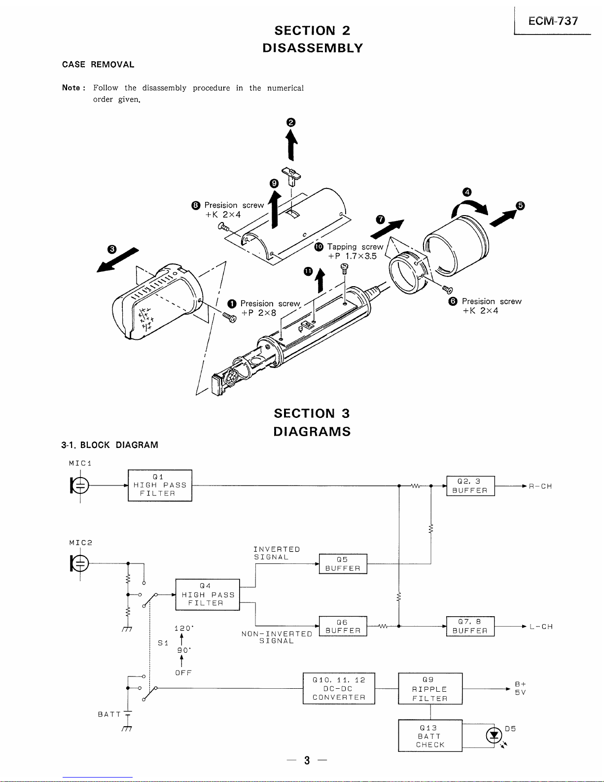
Sony ECM-737 Manual de usuario
Otros manuales de Micrófono de Sony

Sony
Sony ECM-999 Manual de usuario

Sony
Sony ECMMS2 Manual de usuario

Sony
Sony ECM-MS957 Manual de usuario

Sony
Sony C-48 Manual de usuario

Sony
Sony C-100 Manual de usuario

Sony
Sony PCSA-A7P4 Manual de usuario

Sony
Sony ECM-SST1 Manual de usuario

Sony
Sony ECM MS957 Manual de usuario

Sony
Sony F-V220 - Uni-Directional Vocal Microphone Manual de usuario

Sony
Sony XA-MC10 Manual de usuario

Sony
Sony WRT-800A Manual de usuario

Sony
Sony ECMFT5BC Manual de usuario

Sony
Sony handycam ecm-hst1 Manual de usuario

Sony
Sony ECM-ALST1 Manual de usuario

Sony
Sony ECM-HS1 Manual de usuario

Sony
Sony XA-MC10 Manual de usuario

Sony
Sony ECM-S930C Operating Instructions / Manual de instrucciones / Mode d’emploi / Manual de... Manual de usuario

Sony
Sony ECM-Z200 Manual de usuario

Sony
Sony WRT-807A Manual de usuario

Sony
Sony ECM R300 Manual de usuario































