HR
VBRHJDJKZJDFY GTXM
MICROWAVE OVEN
Herjdjlcndj gj ärcgkefnfwbb
OPERATION MANUAL
R-340A
MODEL
CJLTHÖFZBT
Bzajhvfwby j cthnbabrfwbb ghjlerwbb
Vths ghtljcnjhjözjcnb ...................................................... 1
Jcj st erfpfzby ..................................................................... 2
Bzcnherwby gj ecnfzjdrt ..................................................... 3
J obq dbl gtxb ..................................................................... 3
Hf jnf c ctzcjhzjq gfztkm+ eghfdktzby ..........................4
Lbcgktq gfztkb eghfdktzby ............................................. 4
Ctzcjhzfy gfztkm eghfdktzby .......................................... 4
Gthtl hf jnjq ......................................................................... 5
Zfxfkj hf jns ...................................................................... 5
Ecnfzjdrf xfcjd ................................................................... 5
Cnjg/c hjc ............................................................................. 5
Lky jnvtzs ghjuhfvvs dj dhtvy ghbujnjdktzby ........ 5
Hexzst jgthfwbb .................................................................... 6
Ghbujnjdktzbt ghb gjvjob nfqvthf ............................. 6
Ghbujnjdktzbt gentv pflfzby gjcktljdfntkmzjcntq .... 7
>scnhjt ghbujnjdktzbt ...................................................... 8
Edtkbxtzbt dhtvtzb ghbujnjdktzby dj dhtvy dsgjkztzby ghjuhfvvs ..
8
Fdnjvfnbxtcrbt jgthfwbb .................................................... 9
Pfvtxfzby jnzjcbntkmzj fdnjvfnbxtcrbü jgthfwbq .... 9
Fdnjvfnbxtcrbt ghjuhfvvs .............................................. 9
Hfpvjhjprf ........................................................................... 12
Lheubt elj zst aezrwbb ................................................... 14
Aezrwby fivtzmit— jkmitfl ............................................ 14
Nfqvth .................................................................................. 15
Pfobnf jn ltntq ................................................................ 15
Ltvjzcnhfwbjzzsq htöbv .............................................. 15
Cbuzfkbpfwby ...................................................................... 15
Eüjl pf gtxm+ ....................................................................... 16
Gthtl ntv rfr dspdfnm vfcnthf ........................................ 16
Ntüzbxtcrbt üfhfrnthbcnbrb ............................................. 16
CONTENTS
Warning ........................................................................ E-1
Special Notes ............................................................... E-2
Installation Instructions ............................................... E-3
Oven Diagram .............................................................. E-3
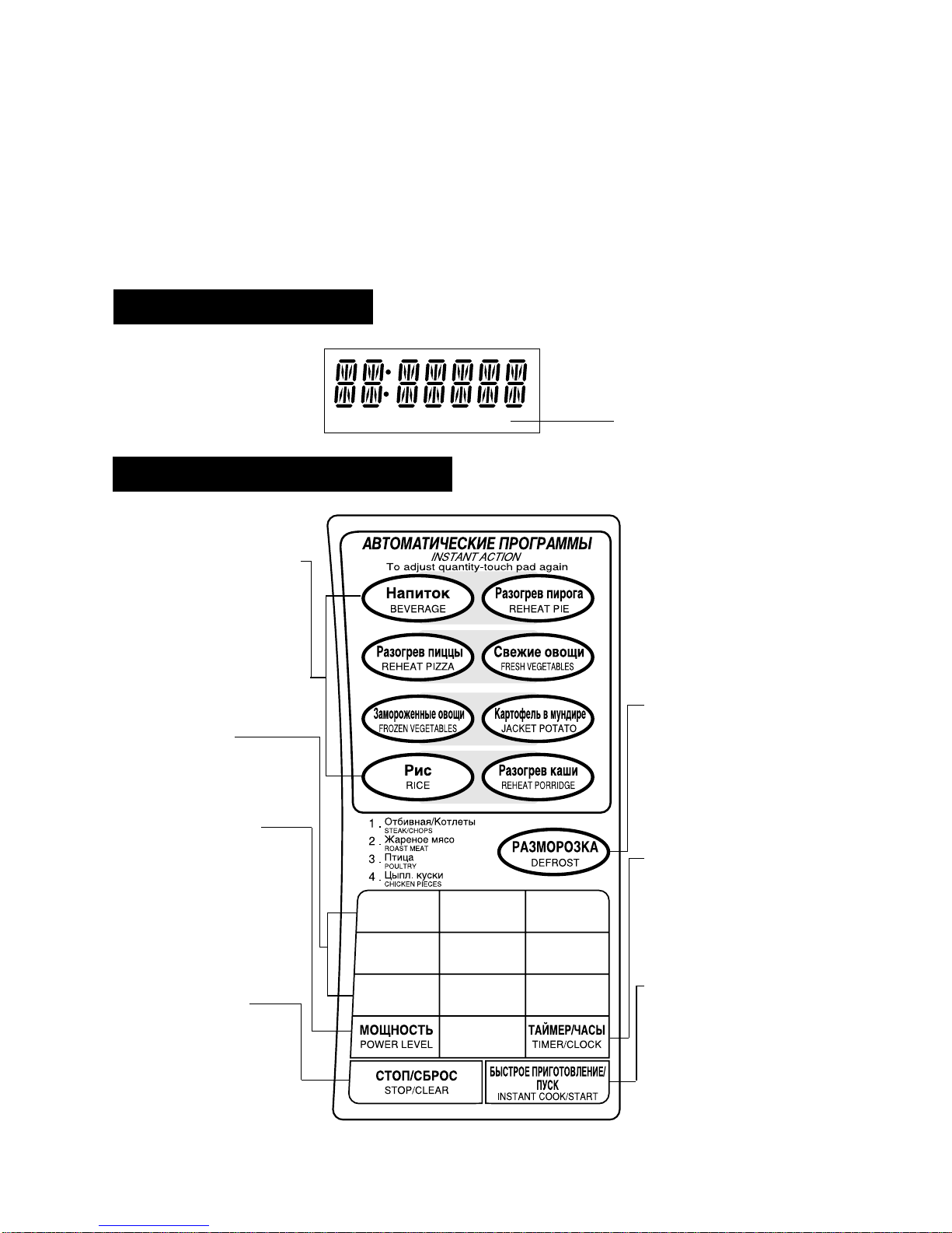
Operation of Touch Control Panel ..............................E-4
Control Panel Display................................................ E-4
Touch Control Panel Layout......................................E-4
Before Operating.......................................................... E-5
Getting Started .......................................................... E-5
Clock Setting .............................................................. E-5
Stop/Clear................................................................... E-5
To Cancel a Programme During Cooking ................E-5
Manual Operations ...................................................... E-6
Microwave Time Cooking......................................... E-6
Sequence Cooking .................................................... E-7
Instant Cook™ ........................................................... E-8
Increasing Time During a Cooking Programme...... E-8
Automatic Operations ................................................. E-9
Notes for Automatic Operations...............................E-9
Instant Action............................................................. E-9
Defrost ...................................................................... E-12
Other Convenient Features ....................................... E-14
Less/More Setting ................................................... E-14
Timer ........................................................................ E-15
Child Lock................................................................. E-15
Demonstration Mode .............................................. E-15
Alarm ........................................................................ E-15
Care and Cleaning...................................................... E-16
Service Call Check...................................................... E-16
Specifications ............................................................. E-16