
SATEL KNX-BIN24 1
CONTENTS
1. Features ..............................................................................................................................2
2. Description...........................................................................................................................3
2.1 Enclosure ................................................................................................................................... 4
3. Installation ...........................................................................................................................4
3.1 Wiring diagram ........................................................................................................................... 5
4. Configuring the module .......................................................................................................5
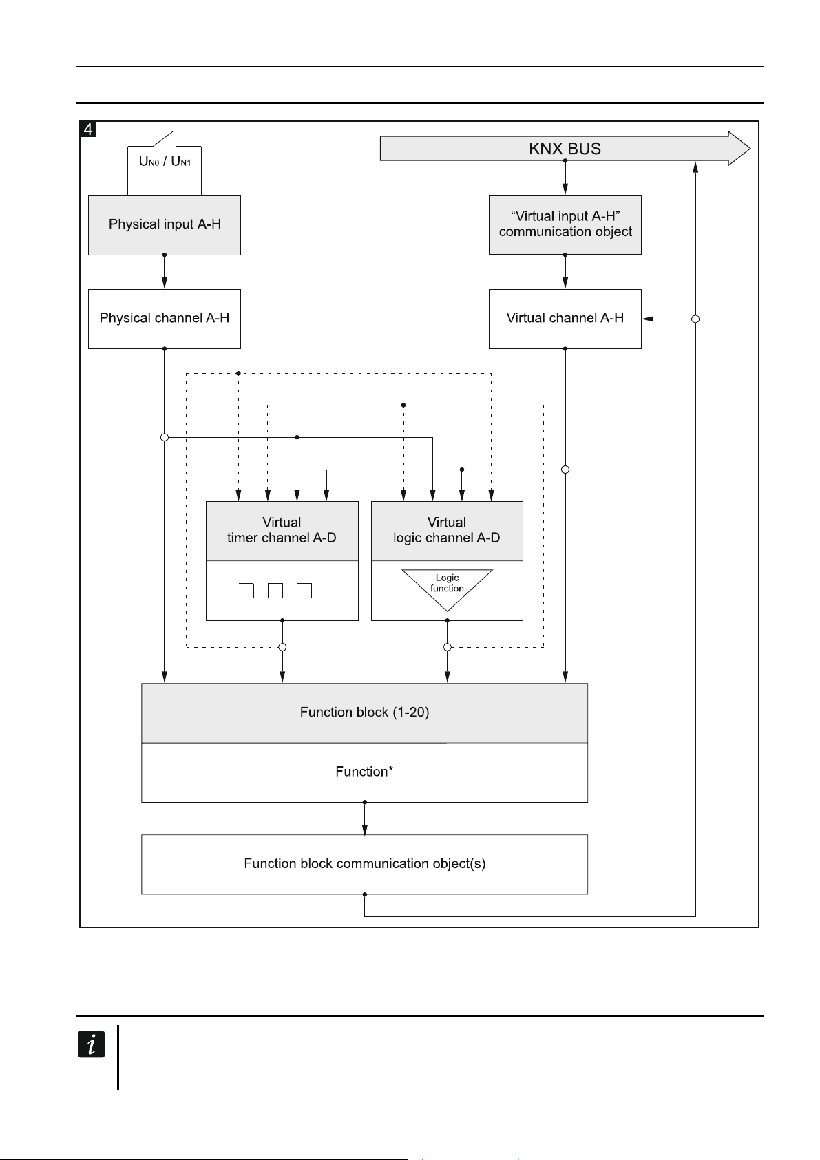
4.1 Schematic diagram of the module.............................................................................................. 7
4.2 Starting configuration ................................................................................................................. 7
4.3 Configuring global parameters ................................................................................................. 10
4.4 Configuring channels................................................................................................................ 10
4.4.1 Physical channels...........................................................................................................................10
4.4.2 Virtual channels ..............................................................................................................................12
4.4.3 Logic channels................................................................................................................................13
4.4.4 Timer channels ...............................................................................................................................15
4.5 Configuring function blocks ...................................................................................................... 17
4.5.1 Switch .............................................................................................................................................19
4.5.2 Edge (monostable switch) ..............................................................................................................21
4.5.3 Dimmer ...........................................................................................................................................23
4.5.4 Shutter ............................................................................................................................................26
4.5.5 Sequence........................................................................................................................................29
4.5.6 Counter ...........................................................................................................................................34
4.5.7 Scene..............................................................................................................................................37
4.6 Communication objects ............................................................................................................ 37
4.6.1 Virtual inputs...................................................................................................................................37
4.6.2 Communication objects of function blocks .....................................................................................38
4.7 Configuration examples............................................................................................................ 45
4.7.1 One-channel control of several function blocks..............................................................................45
4.7.2 Using timer channel........................................................................................................................46
4.7.3 Using virtual and logic channels.....................................................................................................47
5. Specifications ....................................................................................................................49
6. Appendix............................................................................................................................50
6.1 4-bit telegrams for dimming DOWN/UP ................................................................................... 50
6.2 4-bit telegrams for shutter control.............................................................................................50