
Page 1.1
2A FAULT INSERTION SWITCH 40-190B
pickering SECTION 1 - TECHNICAL SPECIFICATION
SECTION 1 - TECHNICAL SPECIFICATION
pickeringtest.com
PXI 2A Fault Insertion Switch 40-190B
ISSUE 5.0 SEP 2020
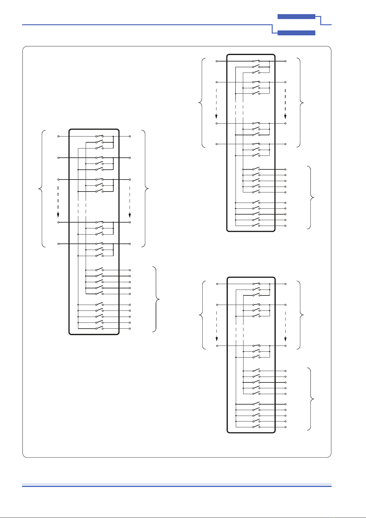
The 40-190B is a Fault Insertion switch available with 74, 64 or
32 channels. It is primarily designed for the simulation of fault
conditions in automotive & avionics applications involving the
reliability testing of safety critical controllers.
It has the ablity to insert 3 different fault conditions between the test
xture and the equipment under test:
• Open-Circuit
• Short-Circuit between UUT connections
• Short-Circuit to other signals such as Power, Ignition and
Ground via a Fault Insertion Bus
Through relays on each channel enable signals to the UUT to
be held open-circuit. Fault Insertion Buses allow any channel to
be shorted to any other channel also enabling connection to an
external fault condition. The module is available with either 1 or
2 fault buses. A four channel multiplexer on each bus allows an
external signal such as Power, Ignition or Ground to be selected as
the fault condition. Additionally, switched signal lines (Monitor1 &
Monitor2) allow direct monitoring of the fault buses with a DMM.
The modules in the 40-190B range are available in two versions
with different default (power off) states:
• Normally Closed Through Relays and all fault insertion relays
open, giving an un-interrupted path between the test xture and
the equipment under test.
• Normally Open Through Relays and all fault insertion relays
open with no default path between the test xture and the
equipment under test.
High Simultaneous Drive
Any combination of relays may be operated (providing the
maximum total card switch current is not exceeded), enabling
maximum exibility for fault selection.
Pickering’s Range of PXI Fault Insertion Switches
Model
No.
Signal
Channels
Fault
Buses
Fault
Inputs
Max
Voltage
Max Current
or Bus Type
40-190B 74, 64 or 32 1 or 2 4 or 8 165V 2A
40-191A 6 2 2 40V 30A
40-192 6 2 2 200V 10A
40-193 7 1 or 2 1 or 2 16V 20A, 1A min
40-194 7 1 or 2 1 or 2 16V 20A, no min
40-195 22 or 11 pairs — 8 or 4 150V 1A
40-196 10 or 5 pairs — 10 or 5 110V 5A
40-197A 34 or 16 4 8 300V 2A
40-198 20 1 or 2 3 or 6 250V 5A
40-199 10 1 or 2 2 250V 10A
40-200 4 or 8 differential 4 8 100V CAN, FlexRay
40-201 4 or 8 differential 2 4 100V Ethernet/AFDX
/BroadR-Reach
40-202 22 or 11 pairs — 22 or 11 150V 2A
Supported by
eBIRST
eBIRST switching system test tools simplify switching system fault-
nding by quickly testing the system and graphically identifying the
faulty relay.
For more information go to: pickeringtest.com/ebirst
• 74, 64 or 32 Fault Insertion Channels
• Choice of Normally Closed or Normally Open
Through Relays
• Choice of 1 or 2 Fault Insertion Buses
• Choose From 12 Configurations!
• Suitable for Automotive/Avionics ECU Burn-in/
Endurance Test Applications
• High Density Low Cost Solution
• Simulation of Various Types of Electrical Fault,
Enabling Rigorous Fault Testing
• Fault Bus MUX For Selecting External Fault Conditions
• High Simultaneous Relay Drive
• 2A Hot or Cold Switching with 60W Max Power
• Switch up to 165VDC/115VAC (NC Through Relay Versions)
or 200VDC/240VAC (NO Through Relay Versions)
• VISA, IVI & Kernel Drivers Supplied for Windows
• Supported by PXI or LXI Chassis
• Supported by
eBIRST
™
• 3 Year Warranty