
ServiceManual
Philips Domestic Appliances and Personal Care
Published by Philips Domestic Appliances and Personal Care Printed in the Netherlands © Copyright reserved Subject to modification
Specialist Vacuum cleaner
FC9110
/A
/B
04/02
PRODUCT INFORMATION
- This product meets the requirements regarding
interference suppression on radio and TV.
- After the product has been repaired, it should function
properly and has to meet the safety requirements as
officially laid down at this moment.
TECHNICAL INFORMATION
- Colour /A : Crushed berry
Version /B : 2000 W logo
- Maximum air displacement : 37 l/sec.
- Maximum vacuum water column : 310 cm
- Power consumption (IEC) 230 V : 1500 W
- Duststorage capacity : 3 L
- Type number dustbag : FC8021
- Cord length (depends on version) : 7 metres
- Filter system : Paper dustbag
: Exhaust AFS air filter
: Active carbon motor
inlet filter
- Dimensions of cleaner : 460 x 315 x 270 mm
- Dimensions of packaging : 595 x 395 x 295 mm
- Net weight : 5.88 kg
- Gross weight : 9.135 kg
OPTIONAL (accessories)
- FC8021 S-bags
- FC8030 AFS-filter
- FC8031 HEPA Air Filter
- FC8033 Active Carbon Filter
- FC8034 Upgrate kit Active Carbon Filter
- HR6988 Turbo brush nozzle
- HR8040 Polishing nozzle
DISASSEMBLY- AND RE-ASSEMBLY ADVISE
- Open the appliance, first remove
the exhaust filter grille (item 20),
and then remove the 2 screws -
Cof the switch control panel
(item 15).
- Undo and remove the 9 screws -
Cin the upper housing (item 8).
You will require a screwdriver
with a 14.5 cm-long shank for
this. Depending on the version
screwdriver 9965 000 08332 for
cross head or onwards 0234
screwdriver 4322 009 08490 for T15 can be used.
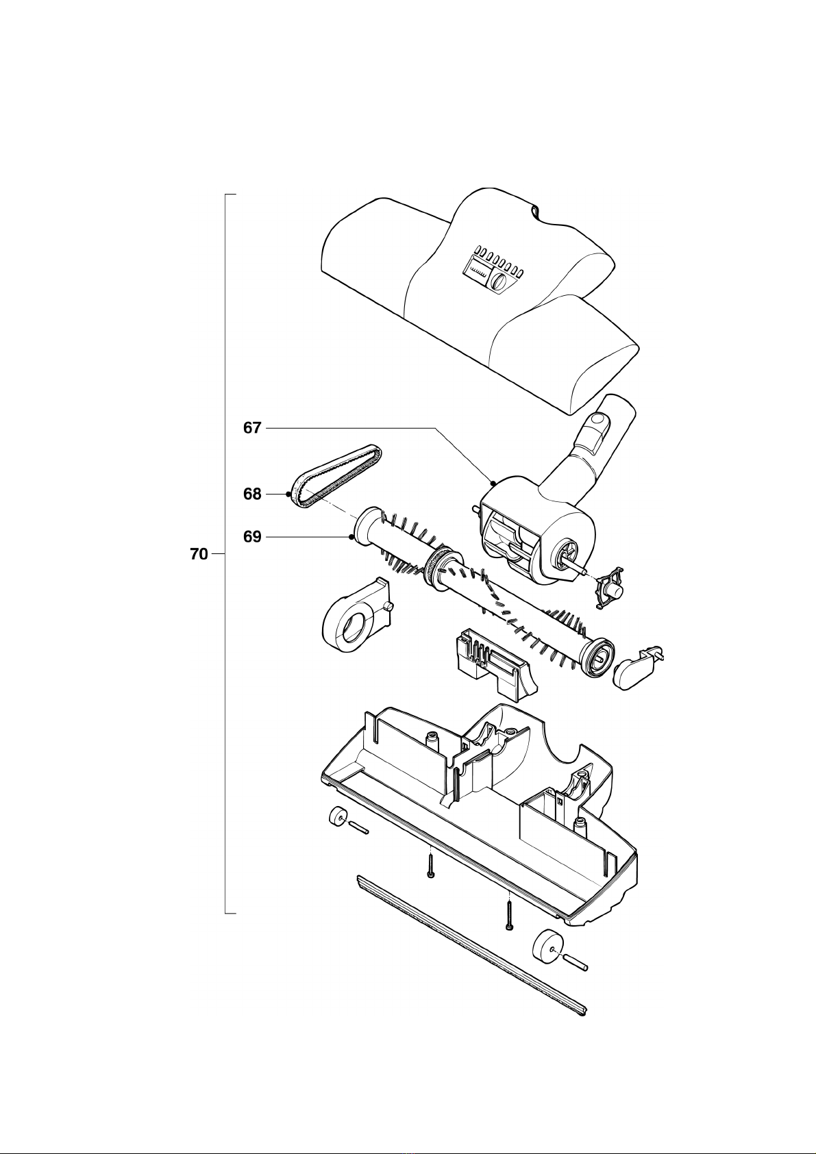
- The component configuration shown in the exploded view
may differ in case of specific versions. The components are
distinguished by means of code numbers.
- When the repair is finished, check whether all functions of
the appliance work properly.
- To disassemble the cord winder, use TORX screwdriver no.
T10, which is one of a set consisting of T20; T15; T10; T9;
T8; T7 and T6 (code number 4822 395 50145).
C2x
C9x