Operating instructions PC-30-Vario filter control unit Page: 2 (26)
Contents
Operation:....................................................................................................................................................... 3
Electrical connection..................................................................................................................................... 4
Low-voltage lines....................................................................................................................................... 4
Connecting the filter pump......................................................................................................................... 4
Connecting a 230V AC filter pump without speed control......................................................................... 5
Connecting a Speck ECO-Touch pump .................................................................................................... 5
Connecting a Speck ECO-Touch-Pro pump ............................................................................................. 5
Connecting a Speck ECO-VS pump.......................................................................................................... 6
Connecting a Speck Badu-90-ECO-Motion pump..................................................................................... 6
Connecting a Pentair IntelliFlo pump......................................................................................................... 7
Connecting a Pentair SuperFlo VS pump.................................................................................................. 7
Connecting a Zodiac FloPro VS pump ...................................................................................................... 7
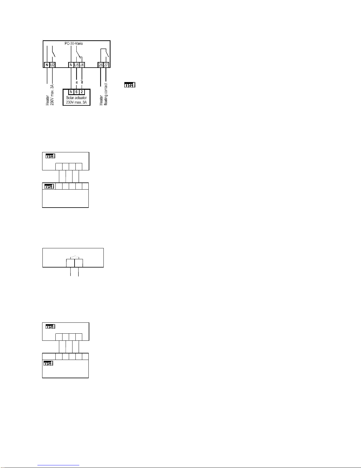
Connecting the heater ............................................................................................................................... 8
Connecting the NR-12-TRS-2 water level controller ................................................................................. 8
Operating the PC-30-Vario without a NR-12-TRS-2 unit........................................................................... 8
Connecting the dosing equipment............................................................................................................. 8
Connecting the EUROTRONIK-10 for backwashing using a 6-way multiport valve.................................. 8
Operating the PC-30-Vario without a EUROTRONIK-10 unit.................................................................... 8
Connecting the sliding valves for backwashing......................................................................................... 9
Connecting a swimming pool cover limit-switch........................................................................................ 9
Temperature sensor.................................................................................................................................. 9
Frost protection........................................................................................................................................ 10
Fuses............................................................................................................................................................. 10
ECO mode (energy saving mode) .............................................................................................................. 10
Controls on the front panel......................................................................................................................... 11
LCD display ............................................................................................................................................. 11
Operating mode selection........................................................................................................................ 11
Pump indicator light................................................................................................................................. 12
Heater indicator light................................................................................................................................ 12
Heater switch........................................................................................................................................... 12
Solar heater indicator light....................................................................................................................... 12
Solar heater switch.................................................................................................................................. 12
Backwash using sliding valve.................................................................................................................. 12
Temperature selection............................................................................................................................. 12
ECO temperature selection..................................................................................................................... 13
Time setting............................................................................................................................................. 13
Timer programming................................................................................................................................. 13
ECO-timer programming......................................................................................................................... 14
Backwash programming.......................................................................................................................... 15
Changing the language............................................................................................................................ 15
Enabling frost protection mode................................................................................................................ 15
INFO button............................................................................................................................................. 15
Service Terminal.......................................................................................................................................... 16
Filter system operating mode.................................................................................................................. 16
Heater operating mode............................................................................................................................ 17
Temperature at the solar sensor ............................................................................................................. 17
Temperature at the water sensor ............................................................................................................ 17
Set water temperature (target temperature)............................................................................................ 17
Temperature reduction in Eco mode....................................................................................................... 17
Switch-on temperature for solar heater................................................................................................... 17
Switch-off temperature for solar heater................................................................................................... 18
Temperature boost for swimming-pool water in solar mode ................................................................... 18
Maximum temperature ............................................................................................................................ 19
Heater hysteresis..................................................................................................................................... 19
Solar heater hysteresis............................................................................................................................ 19
Filter pump run-on after timed switch-off................................................................................................. 20
Priority of temperature controller over timer ............................................................................................ 20
Priority for solar heater ............................................................................................................................ 21
Pump speed during solar operation......................................................................................................... 21
Frost protection temperature (air temperature)....................................................................................... 22
Frost protection temperature (water temperature) .................................................................................. 22