Megmeet MV800 Manual de usuario

1
MV800 EtherCAT Communication Option
User Manual
Version: V02
1 Product Information
1.1 Designation rule
1.2 Functions and specifications
MV810-ECAT01 option provides communication expansion for the MV800 drive
series. Its functions and specifications are explained below:
1.2.1 Function features
(1) Supports PDO and SDO service
(2) Supports access of drive parameters through SDO
(3) Supports 100 Mbps full duplex
(4) Supports the speed mode
1.2.2 Basic specifications
EtherCAT
connector
Interface
Two RJ45 ports (IN, OUT)
Transmission mode
High-speed bus
Transmission media
CAT5 shielded twisted pair cables
Galvanic isolation
500 V DC
Communication
Network standard
EtherCAT
Transmission
protocol
100 BASE-TX (IEEE 802.3)
Transmission
100 m

2
distance
Bus transmission
speed
10/100 Mbps Auto-Defect
Module name
MV810-ECAT01
XML file
MV800_ECAT_CoE_9252_V1.00.xml
SDO
SDO request, SDO response
PDO
Variable PDO mapping
Electrical
specifications
Power voltage
3.3 V DC (provided by the drive)
Insulation voltage
500 V DC
Power consumption
1 W
Weight
25 g
Environment
Noise immunity
ESD (IEC 61800-5-1, IEC 6100-4-2)
EFT (IEC 61800-5-1, IEC 6100-4-4)
Surge Test
(IEC 61800-5-1, IEC 6100-4-5)
Conducted Susceptibility Test
(IEC 61800-5-1, IEC 6100-4-6)
Operating/Storage
environment
Operating: -10 to 50℃ (temperature),
90% (humidity)
Storage: -45 to 70℃ (temperature),
95% (humidity)
Vibration/Shock
resistance
International standards
GB 4798.3-2007, GB 12668.501—
2013/IEC 61800-5-1 (IEC 60068-2-6)

3
1.3 Terminal description
1.3.1 Layout
The following figure shows the front and back views of MV810-ECAT01.
The option has GND, two RJ45 ports and the interface connected to a drive.
1.3.2 Pin definitions
EtherCAT adopts the standard RJ45 ports. This communication option has 2 RJ45
ports: IN and OUT. IN is the data input port and OUT is the data output port.
The pin definitions of MV810-ECAT01 are listed below:
Pin
Name
Description
1
TX+
Transmit Data+
2
TX-
Transmit Data-
3
RX+
Receive Data+
4
N/C
NOT CONNECTED
5
N/C
NOT CONNECTED
6
RX-
Receive Data-
7
N/C
NOT CONNECTED
8
N/C
NOT CONNECTED

4
1.3.3 Parameter settings for EtherCAT network connection
Using MV810-ECAT01 to operate the MV800 series drive, you need to set the
operation command channel and frequency source to the bus communication
card, as shown in the following table.
Drive
parameter
Value
Function description
P02.02
2
Set the operation command channel to
communication control
P02.03
3
Set the communication command channel to
EtherCAT
P02.05
8
Set the main frequency source to bus card
(EtherCAT)
P40.00
2
Set the option type to EtherCAT bus option
P50.00
2
Option type status identification, 2 is EtherCAT
bus option
1.3.4 Network topology
EtherCAT network is generally composed of a master station and multiple slave
stations. The network structure can be divided into the bus type, star type, tree
type, etc., or the combination of several types, realizing flexible device
connection and wiring. The bus-type network topology is shown in the figure
below.

5
1.3.5 LED indicator description and fault diagnosis
MV810-ECAT01 has two LED indicators: the LED on the PCBA of the expansion box
(LED1 on the left, LED2 on the right, which can be viewed through the fence gap
of the expansion box) and LED on the communication port. The LED on the PCBA
indicates the power status and whether the state machine enters the OP mode;
and the LED on the communication port indicates whether the communication
status of MV810-ECAT01 is normal.
Description of LED on the PCBA of the expansion box:
LED1 status
Description
Action
Flashing
The state machine
does not enter the OP
mode
Check whether the ECAT option is
properly connected to the host device
Solid on
The state machine
already entered the
OP mode
No need for actions
LED2 status
Description
Action
Solid on
Normal power supply
for the ECAT option
No need for actions
Off
No power supply for
the ECAT option
Check whether the ECAT option is
properly connected to the drive
Description of LED on the communication port:
LED status
Description
Action
Green light
flashing
Connected properly,
with data transmission
No need for actions
Green light
solid on
Connected properly,
without data
transmission
No need for actions

6
2 Installation
2.1 Accessory list
Accessory list
Specifications
Quantity
MV810-ECAT01 option
(with expansion box)
75 × 60 × 24 mm
1
User manual
A4 × 1
1
2.2 Installation method
The installation position, interface and steps of MV810-ECAT01 are described
below:
2.2.1 Installation position
MV800 drive series provides two positions for
installation of accessory cards and options: position
1 and position 2 in the right figure (taking enclosure
B as an example, similar for other enclosures),
where position 1 is for the installation of various PG
cards and position 2 is for the installation of PN
options, ECAT options, I/O options and so on.
2.2.2 Installation interface
The electrical interface of the MV810 EtherCAT
option is connected to the drive as shown in the
right figure.

7
2.2.3 Installation steps
Installation method: front side mounting of ECAT
(1) When the drive is powered off, press the granulated part on the middle-upper
of the lower cover, slide it down firmly to take down the cover, as shown in Fig.
1-1 a.
(2) Use a straight screwdriver to pry open the dustproof cap, as shown in Fig. 1-1
b.
(3) Install the ECAT option: hold the expansion box (a bus card inside) upwards
(indicators up), then align the expansion box with the electrical bus interface
of the installation position 2, and press down horizontally to buckle the spring
snap of the expansion box into the groove at the lower part of the drive, as
shown in Fig. 1-1 c and d.
(4) The bus card is successfully installed, as shown in Fig. 1-1 e.
a
cde
b
Groove
Snap
Fig. 1-1 ECAT card installation steps

8
(5) Grounding: MV810-ECAT01 must be grounded during wiring as shown in Fig.
1-2. You need to prepare and crimp the cable by yourself.
Fig. 1-2 Grounding terminal connection
Grounding method:
connect the B end of the grounding cable to the option’s
grounding terminal block, and you can check the grounding
cable diameter and torque by referring to Table 1-1;
then connect the A end of the grounding cable to the
grounding rack PE (the mark for grounding, circled in Fig. 1-3)
of the drive (taking enclosure B as an example, similar for
others), and you can check the grounding screw
specifications and torque by referring to Table 1-2.
Table 1-1 Recommended diameter and torque for the grounding cable
Option
Screw
Diameter
Stripped
part
Torque (±10%)
MV810-ECAT01
M2.0
0.5 to 1.5 mm²/
(28 to 16 AWG)
5 to 6 mm
2 kg-cm/(1.7 lb.in)/
(0.2 N·m)
Table 1-2 Recommended grounding screw and torque
Enclosure
Screw
Torque (±10%)
B
M3
7 kg-cm/(6.08 lb-in)/(0.68 N·m)
C
M4
15 kg-cm/(13.0 lb-in)/(1.47 N·m)
D
Fig. 1-3

9
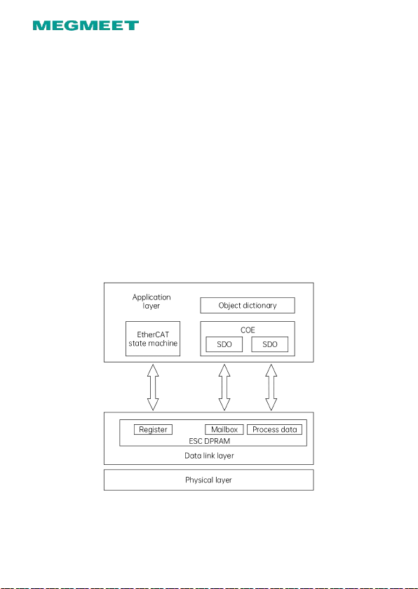
3 EtherCAT Network Reference Model
EtherCAT (CoE) network reference model consists of two parts: the data link layer
and the application layer.
The data link layer is mainly responsible for the EtherCAT communication protocol,
and the application layer of CoE has an object dictionary which includes
communication parameters, application program data and PDO mapping
information.
Process data objects (PDO) consist of objects in the object dictionary that can be
PDO mapped, and the PDO data is defined by PDO mapping. The read/write of
PDO data is cyclic without requirements to look up the object dictionary, while the
read/write of service data objects (SDO) is non-cyclic with requirements to look
up the object dictionary.
Various application layer protocols are available for EtherCAT communication.
The following figure is the EtherCAT structure based on the CANopen application
layer:

10
4 Control Word and Status Word
Index
Object code
Name
Type
Attr.
6040h
VAR
Control word
UINT16
RW
6041h
VAR
Status word
UINT16
RO
5 Bit Definition of Control Word and Status Word
Control word bit definition:
Bit0: Forward running 0: Disabled 1: Enabled
Bit1: Reverse running 0: Disabled 1: Enabled
Bit2: Forward jogging 0: Disabled 1: Enabled
Bit3: Reverse jogging 0: Disabled 1: Enabled
Bit4: Stop 0: Disabled 1: Enabled
Bit5: Coast to stop 0: Disabled 1: Enabled
Bit6: Fault reset 0: Disabled 1: Enabled
Bit7: Emergency stop 0: Disabled 1: Enabled
Status word bit definition:
Bit0: Forward running 0: Invalid 1: Valid
Bit1: Reverse running 0: Invalid 1: Valid
Bit2: Stop 0: Invalid 1: Valid
Bit3: Fault 0: Invalid 1: Valid
Bit4: Power-down 0: Invalid 1: Valid
Bit5: Ready state 0: Not ready 1: Ready
Bit6: Motor number 0: Motor 1 1: Motor 2
Bit7: Motor type 0: Asynchronous 1: Synchronous
Bit8: Overload pre-warning 0: Invalid 1: Valid
Bit9–Bit10: Command channel 0: Keypad 1: Terminal 2: Communication
Otros manuales para MV800
1
Este manual sirve para los siguientes modelos
1
Tabla de contenidos
Manuales populares de Sistema de conferencias de otras marcas

Kramer
Kramer VIA GO Manual de usuario

AVT
AVT MAGIC AC1 Go Manual de usuario

ProSoft Technology
ProSoft Technology AN-X4-AB-DHRIO Manual de usuario

Sony
Sony PCS-I150 Manual de usuario

Middle Atlantic Products
Middle Atlantic Products VTC Series Manual de usuario

Prentke Romich Company
Prentke Romich Company Vanguard Plus Guía











