
About
About the Device
EPOS4 EtherCAT Card Hardware Reference
CCMC | 2019-11 | rel8613 1-5
1.1.5 Trademarks and Brand Names
For easier legibility, registered brand names are listed below and will not be further tagged with their respec-
tive trademark. It must be understood that the brands (the list below is not necessarily concluding) are pro-
tected by copyright and/or other intellectual property rights even if their legal trademarks are omitted in the
later course of this document.
Table 1-3 Brand names and trademark owners
1.1.6 Copyright
This document is protected by copyright. Any further use (including reproduction, translation, microfilming,
and other means of electronic data processing) without prior written approval is not permitted. The men-
tioned trademarks belong to their respective owners and are protected under intellectual property rights.
© 2019 maxon. All rights reserved. Subject to change without prior notice.
CCMC | EPOS4 EtherCAT Card Hardware Reference | Edition 2019-11 | DocID rel8613
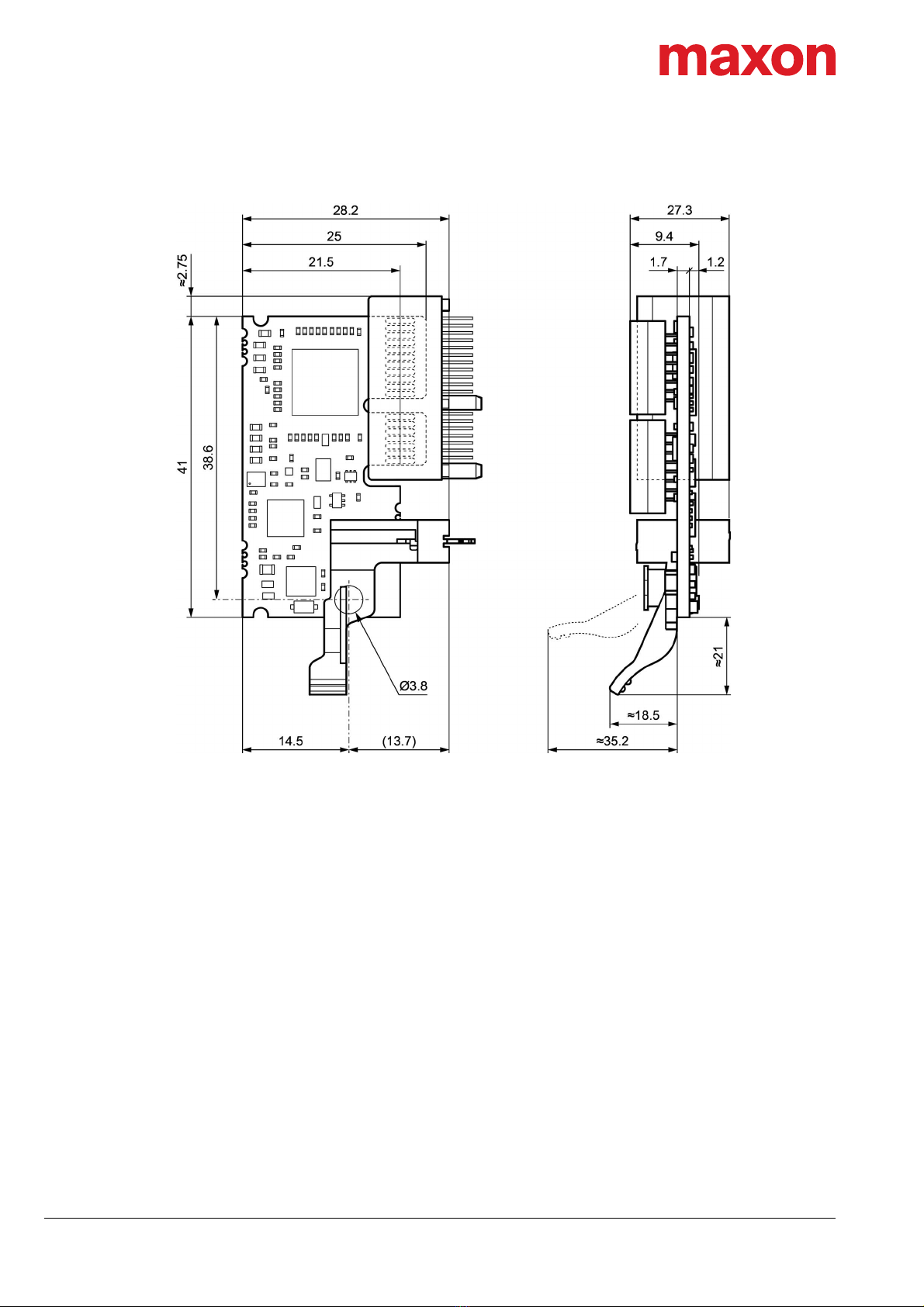
1.2 About the Device
Capabilities of the
device, included
features, and sup-
ported controllers.
maxon's «EPOS4 EtherCAT Card» is a plug-in extension card to provide complete EtherCAT communica-
tion capability for an EPOS4 positioning controller. It is optionally available to equip either an EPOS4
encased housing variant or an EPOS4 Module with full EtherCAT functionality. For the latter, development
of an own motherboard as to particular guidelines is needed (for details chapter “4 Motherboard Design
Guide” on page 4-17).
Find the latest edition of the present document as well as additional documentation and software for EPOS4
positioning controllers also on the Internet: http://epos.maxongroup.com
In addition, you may wish to browse the EPOS video library. It features video tutorials that provide easy to
follow instructions on how to get started with «EPOS Studio» and shows you tips and tricks on how to setup
communication interfaces, and so on. Explore on Vimeo: https://vimeo.com/album/4646388
Brand name Trademark owner
Adobe® Reader® © Adobe Systems Incorporated, USA-San Jose, CA
EtherCAT® © EtherCAT Technology Group, DE-Nuremberg, licensed by Beckhoff Automation
GmbH, DE-Verl
PCI Express®
PCIe® © PCI-SIG, USA-Beaverton, OR
Windows® © Microsoft Corporation, USA-Redmond, WA
maxon motor ag
Brünigstrasse 220
CH-6072 Sachseln
+41 41 666 15 00
www.maxongroup.com