6
English
Français Español
Português
Italiano Deutsch
Nederlands
Instalación
4. Conexión a los controles de iluminación HomeWorks.Conecte
los cables de comunicación de los dimmers al Dimmer Hub
instalado en fábrica (véase Figura 4, página 7). Conecte los
buses de acuerdo con las asignaciones correspondientes usan-
do la utilidad HomeWorks . Las conexiones gris y violeta están
marcadas en la tarjeta de circuito impreso.
5. Conexión de los enlaces del Dimmer Hub: Un mazo de
cables de cables conecta el enlace 4 al Dimmer Hub instalado
en fábrica. Si se van a controlar tarjetas HWI-H48 adicionales
con este procesador, el enlace de comunicación a esas tarjetas
deberá conectarse en el mismo bloque de conexiones. No
conecte el terminal 2 a un HWI-H48. Si el enlace H48 tiene
una longitud de cable de 15 m (50 pies) o superiores, las termi-
naciones del enlace LT-1 deben instalarse a través de MUX y
MUX (terminales 3 y 4) en ambos extremos del enlace. Consulte
las instrucciones para HWI-H48 (véase Figura 5, página 8).
Nota - Los enlaces 4, 5 y 6 se pueden configurar para uso
como enlace de teclado, enlaces GRAFIK Eye
®
, o enlaces H48.
Estos enlaces son configurados por la utilidad HomeWorks.
6. Conexión de enlace interprocesador (sólo para instala-
ciones con procesadores múltiples): El enlace interproce-
sador se utiliza para la comunicación entre procesadores
HomeWorks. Conecte los cables de control al enlace interproce-
sador (enlace 2), si es necesario. No conecte el terminal 2
(véase Figura 5, página 8). Si este procesador debe ser el
primer o último procesador de una conexión tipo Daisy Chain,
coloque una de las terminaciones del enlace LT-1 a través de
MUX y MUX (terminales 3 y 4 — véase Figura 5, página 8). Si
no dispone de terminaciones LT-1, puede colocar una resisten-
cia 1/2 W de entre 100 y 150 Ohmios a través de los terminales
3 y 4 como modo de terminación.
7. Conexión de enlaces GRAFIK Eye / WPM : Si este procesador
va a controlar controles de regulación de iluminaciónGRAFIK Eye
preprogramados o módulos de pared, conecte los cables de
comunicación al(a los) enlace(s) 4, 5, o 6, de acuerdo con la
configuración de la utilidad HomeWorks. No conecte el terminal 2.
8. Conexión de enlaces de teclado: Para teclados o dispositivos
de enlace de teclados (por ejemplo, HWI-CCO-8) que vayan a
estar controlados por este procesador, conecte los cables de
comunicación al(a los) enlace(s) 4, 5, o 6,según la configuración
de la utilidad HomeWorks. Nota: La conexión de teclados o dispo-
sitivos para teclados a enlaces diferentes al enlace 6 requiere
una alimentación eléctrica adicional.
9. Conexión a la red. Conecte los terminales del mazo de cable
de entrada de alimentación (cables amarillos) de la caja HWI-
LV24 en las lengüetas de conexión del procesador 4 Series.
Conecte la toma del adaptador al conector de alimentación del
enlace 6. Conecte el adaptador en el receptáculo de la parte
inferior del HWI-LV24. El procesador 4 Series tiene una memoria
y dispositivos de reloj alimentados por batería. La batería propor-
ciona la alimentación eléctrica a estos dispositivos durante los
cortes de alimentación eléctrica y otras interrupciones tempo-
rales del suministro eléctrico. Durante las vacaciones y en resi-
dencias que no tengan una ocupación permanente, el proce-
sador 4 Series DEBE debe alimentarse con un circuito que nunca
se apague, incluso si la residencia no está ocupada.
1. Asegúrese de que la tapa de alta tensión de la caja HWI-LV24
se ha instalado correctamente. Coloque y bloquee el disyuntor
en la posición OFF antes de instalar el conjunto del procesador.
Peligro - Si se realiza el cableado con la ali-
mentación conectada, existe el riesgo de lesiones.
2. Instale el conjunto del procesador en la caja: el procesador
HomeWorks®4 SeriesTM se fija en la caja HWI-LV24 utilizando
los cuatro orificios de montaje y los tornillos que se incluyen.
3. Ajuste de la dirección del procesador. Ajuste la dirección del
procesador utilizando el interruptor de configuración. La utilidad
HomeWorks solicitará al programador los posibles cambios adi-
cionales que puedan requerirse en los interruptores de configu-
ración. El Dimmer Hub instalado en fábrica ya ha sido puesto en
la dirección “1”.
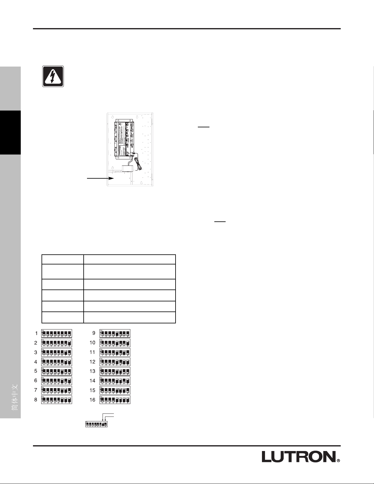
Figura 2 – Esquema de
montaje
El procesador 4 Series se coloca
en el ángulo superior izquierdo
de una caja HWI-LV24.
Caja de alta tensión (mostra-
do con la tapa colocada).
Figura 3 – Ajuste de dirección del procesador
Interruptor DIP Función
1 Modo de carga. A menos que lo solicite la utili-
dad HomeWorks, este interruptor debe manten-
erse siempre en la posición ABAJO.
2 Diagnóstico. Este interruptor debe mantenerse
siempre en la posición ABAJO.
3 ARRIBA = 9600 baudios, ABAJO = detección
automática de baudios.
4 Desconexión de la batería. Este interruptor debe
mantenerse siempre en la posición ABAJO.
5-8 Dirección del procesador. Véase Figura 3, más
adelante.
Tabla 2 – Funciones del interruptor de configuración.
ARRIBA (ON)
ABAJO (OFF)
Ejemplo: Configuración de interruptor nº 7 ON (activado).