
APPLICATIONS
• Hotel Ballrooms • Conference Rooms
• Audio-visual Rooms • Public Spaces
• Restaurants
Fluorescent lighting is an extremely efficient light source. With the
latest electronic solid state fluorescent dimmer ballasts, they can be
dimmed effectively. Most fluorescent lamps today can be dimmed
to approximately 5% of full bright with the appropriate dimming
ballast. Compact fluorescent lamps using dimming ballasts are now
replacing incandescent down-light sources in many applications.
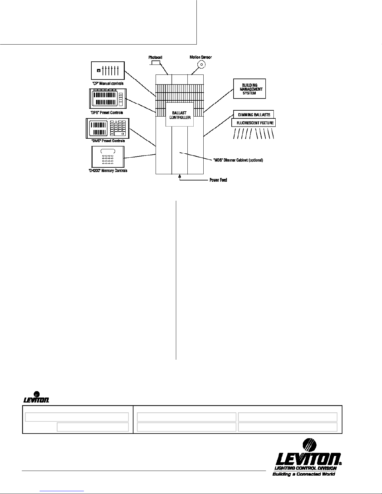
Leviton Lighting Control Division makes a complete line of
fluorescent dimmers, that are able to operate virtually any dimming
ballast by any of the different manufacturers. Because there are
many ballast manufacturers, there are many different ways to control
the various dimmer ballasts. To supply the correct dimmer we must
know the ballast manufacturer and the exact model number of the
ballast, as well as the incoming line voltage to the ballast.
Leviton Lighting Control Division supplies fluorescent dimmers
individually where only a single circuit of fluorescent lighting is
controlled, or we supply one or more fluorescent dimmers as part of
a larger system with mixed loads. Any of our extensive line of
lighting controls can be used with our fluorescent dimmers for
fluorescent dimming ballasts.
There are two basic types of solid state fluorescent dimming ballasts.
One type is designed for the retrofit market, where the original
ballasts installed were not capable of dimming, and are now being
replaced by dimming ballasts. These ballasts are designed to operate
with the existing two wires (a hot and a neutral), that fed the original
fixture. The ballast is changed, new lamps installed, and a dimmer is
inserted to feed those fixtures.
The other type of solid state fluorescent dimmer ballast uses two
low voltage wires to control the intensity setting of all the fluorescent
lamps on a circuit. These are normally used in new construction
where there is little extra cost involved for running the control wires
back to a dimmer location.
Since none of the ballasts are intended to dim to blackout, Leviton
Lighting Control Division furnishes an ON/OFF contactor that turns off
all power to the ballasts when the system OFF switch is operated.
There is an older type of dimmer ballast called “magnetic” or “core
and coil” which is still manufactured. Leviton Lighting Control
Division does make dimmers for these ballasts, however, these
ballasts are not recommended for new construction as they will be
phased out over time. Dimmers for these ballasts should be
considered for replacement only, not new construction.
FEC-EDB
Product
Specifications
1
Fluorescent Dimmer for Dimming Ballasts
Leviton Mfg. Co., Inc.
P.O. Box 2210 • Tualatin, Oregon 97062 • Phone: (503)404-5500 • Fax: (503) 404-5600
Visit our Website at: www.leviton.com
JOB NAME:
JOB NUMBER:
CATALOG NUMBERS:
SPECIFICATIONSUBMITTAL
Stand alone Dimmer for
1-10VDC Control Dimmer Ballasts
dimmer Module for
0-10vDC Dimmer Ballasts
Dimmer Module for Line Voltage
Dimmer Ballasts