
DC CURRENT MEASUREMENTS
CAUTION: Do not make 10A current measurements for longer than 30 seconds. Exceeding
30 seconds may cause damage to the meter and/or the test leads.
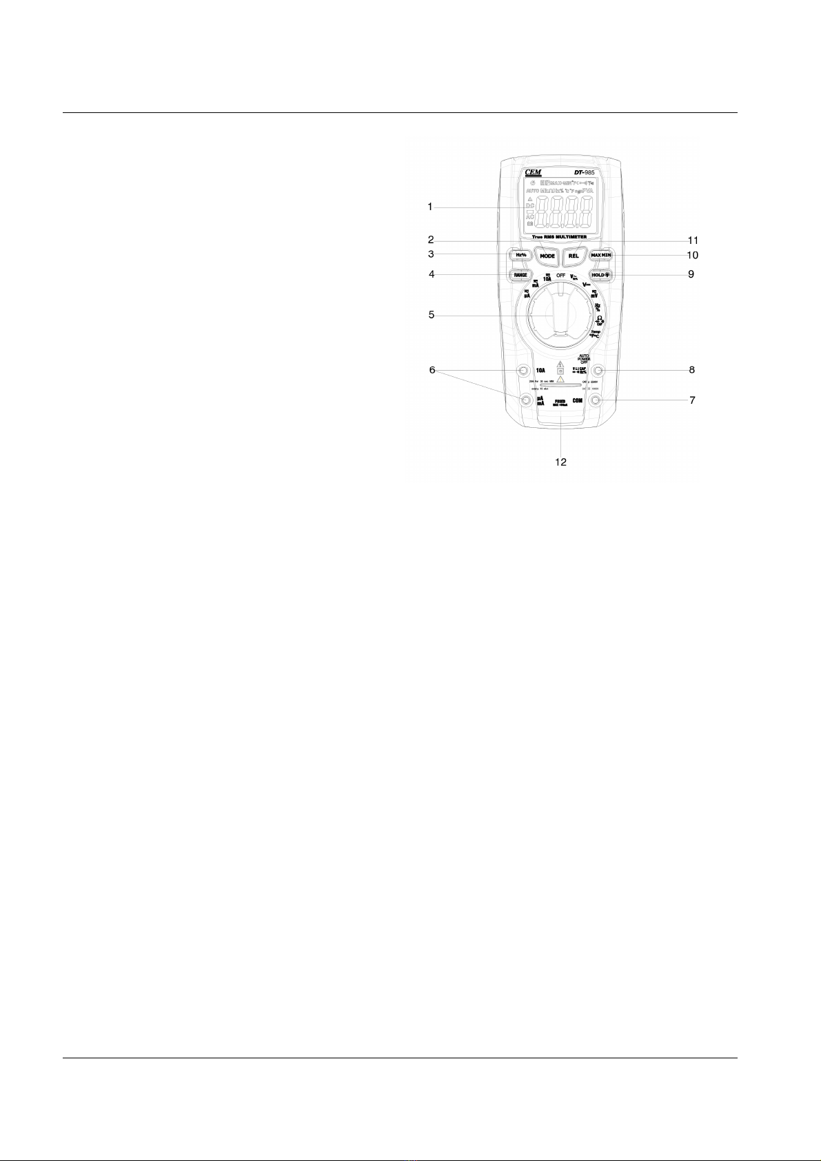
1. Insert the black test lead banana plug into the negative COM jack.
2. For current measurements up to 6000µA DC, set the function switch to the yellow µA
position and insert the red test lead banana plug into the µA/mA jack.
3. For current measurements up to 600mA DC, set the function switch to the yellow mA
position and insert the red test lead banana plug into the µA/mA jack.
4. For current measurements up to 10A DC, set the function switch to the yellow 10A/HZ/%
position and insert the red test lead banana plug into the 10A jack.
5. Press the MODE button to indicate “DC” on the display.
6. Remove power from the circuit under test, then open up the circuit at the point where you
wish to measure current.
7. Touch the black test probe tip to the negative side of the circuit.
Touch the red test probe tip to the positive side of the circuit.
8. Apply power to the circuit.
9. Read the current in the display.
AC CURRENT (FREQUENCY, DUTY CYCLE) MEASUREMENTS
CAUTION: Do not make 10A current measurements for longer than 30 seconds. Exceeding
30 seconds may cause damage to the meter and/or the test leads.
1. Insert the black test lead banana plug into the negative COM jack.
2. For current measurements up to 6000µA AC, set the function switch to the yellow µA
position and insert the red test lead banana plug into the µA/mA jack.
3. For current measurements up to 600mA AC, set the function switch to the yellow mA
position and insert the red test lead banana plug into the µA/mA jack.
4. For current measurements up to 10A AC, set the function switch to the yellow 10A/HZ/%
position and insert the red test lead banana plug into the 10A jack.
5. Press the MODE button to indicate “AC” on the display.
6. Remove power from the circuit under test, then open up the circuit at the point where
you wish to measure current.
7. Touch the black test probe tip to the neutral side of the circuit.
Touch the red test probe tip to the “hot” side of the circuit.
8. Apply power to the circuit.
9. Read the current in the display.
10. Press the Hz/% button to indicate “Hz”.
11. Read the frequency in the display.
12. Press the Hz/% button again to indicate “%”.
13. Read the % duty cycle in the display.
14. Press the Hz/% button to return to current measurement.