
SAFETY INSTRUCTIONS
Read all safety instruction before operating the DPL Series amplifiers.
1. Install equipment as follow conditions.
The apparatus shall not be exposed to dripping or splashing and
no object filled with liquids, Such as vases, Shall be place on the
apparatus.
Install at the place, Not bending curved.
Do not install this apparatus in a confined space such as a book
case or similar unit.
Locate power amplifier away from heat source, Such as radiators
or other device that produce heat.
Do not drop objects or spill liquids into the inside of amplifier.
2. Keep in mind the following when connecting amplifier.
Connect the amplifier after reading of O/P manuals.
Connect each connection of amplifier perfectly, If not, It maybe
Caused hum, Damage, Electric shock in case of mis-connecting.
DC high voltage in the amplifier may be caused dangerous,
do not open top cover.
Connect the power cord with safety after check of AC power.
Amplifiers should be serviced by qualified service person.
안 전 사 항
제품을 운용하기전에 모든 안전사항을 읽어 보십시오.
1. 이런 장소에 설치하여 주십시오.
진동이나 경사가 심하지 않고 바닥이 평평한 장소.
통풍이 잘되고 물기나 습기가 많지 않은 장소.
직사광선을 받지 않는 장소 또는 난방기구(발열체)에서 멀리 떨어진 장소.
인화성 물질(화학약품)이 없는 장소.
2. 설치시 이런점을 주의하십시오.
사용설명서 시스템 연결방법을 완전히 읽으신 후에 연결해 주십시오.
각종 연결선을 완전하게 연결해 주십시오.
(주전원 코드를 뽑은 상태에서 연결.)
불완전한 연결은 잡음, 제품의 손상 또는 안전사고의 원인이 됩니다.
내부에 DC 300V이상의 고압 통전부가 있어 전기적 충격 또는 감전사고의 위험이
있으므로 뚜껑을 열지 말아주십시오.
주 교류 전원 플러그를 연결하기 전에 사용전압을 확인하신 후 안전하게
연결하십시오.
제품을 수리시는 규정된 부품과 자격이 있는 사람이 수리를 하여야 함.
1
FEATURES
특징
1. High efficificate of PWM amplifier
2. AC power is faulty , amplifier is supplied DC24V automatically.
3. PFC (POWER FACTOR CORRECTION) for high efficiency of amplifier.
4. Increasing DC24V stand-by mode time to reduce DC stand-by power
consumption.
5. Remove 100V OUTPUT TRANSFORMER to reduce weight and
increase amplifier efficiency.
6. Full Protection circuit (OVER LOAD , OUTPUT SHORT , IN-RUSH
CURRENT and OTP)
7. Low noise variable speed cooling fan to increase amplifier reliability
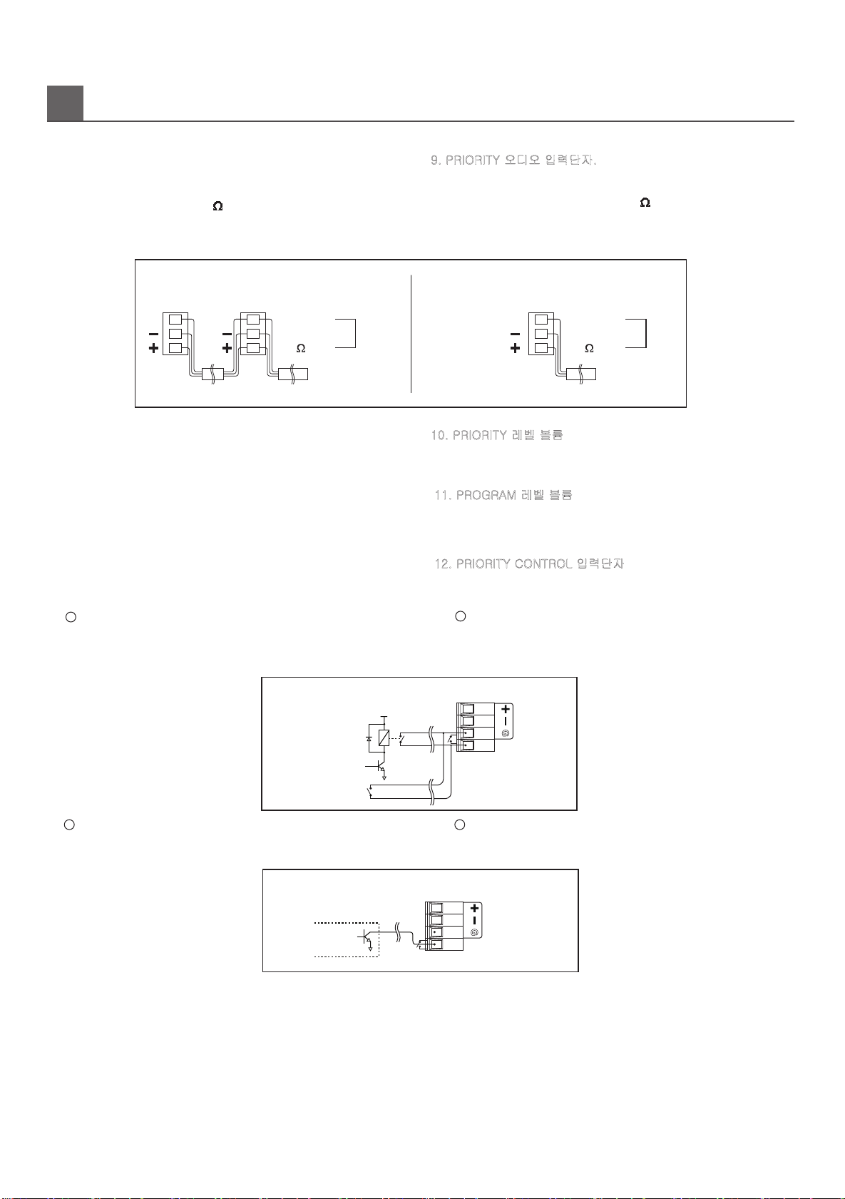
8. PGM and PRI INPUT , PRI input have priority function. If Signal is
input to PRI , PGM signal is cut automatically.
9. Use with FD-200 module to detect amplifier operating fault.
이 기계(장치)는 물에 접촉(물에 적시는 정도의 접촉)해서는 않되며
꽃병과 같은 액체가 담겨진 물체를 기계 가까이 두는것을 금지 하여야
합니다.
Don't contact unit and water , in order to don't put liquid as like
water near by main unit.
1. P.A 시스템에 합리적인 PWM 방식의 D-급 앰프로서 소형, 경량, 고효율을 실현
하였습니다.
2. 고효율, 경량화의 DUAL SMPS 전원 방식을 채택하여 비상시 자동으로 DC24V전원
으로 전환됩니다.
3. 고역률 및 고효율화를 목적으로 AC전원의 역률보정회로를 적용하였습니다.
4. DC 전원의 대기전력을 획기적으로 줄여 비상전원의 대기능력을 향상시켰습니다.
5. OUT TRANSFORMER를 사용하지 않는 100V라인 출력구조로 되어 있어 무게가
가볍고 효율이 높습니다.
6. OVER LOAD, OUT SHORT, SOFT START, OTP등 완벽한 프로텍터를 탑재 하여
각종 위험요소로부터 앰프를 보호합니다.
7. 온도에 반응하여 회전속도가 조절되는 쿨링 회로를 적용하여 저소음을 실현하고
과열로부터 효과적인 냉각이 가능하며 앰프의 신뢰성을 높였습니다.
8. 2개의 INPUT(PGM INPUT와 PRIORITY INPUT)을 구성하여 우선신호 입력시 자동
으로 전환되는 입력구조로 제품의 응용 다양성을 갖추었습니다
9. 당사의 FD-200 모듈을 적용 할 수 있는 되어있어 해당모듈을 장착하면 앰프의
상태를 실시간으로 체크하여 고장여부를 모니터할 수 있습니다