ACAI
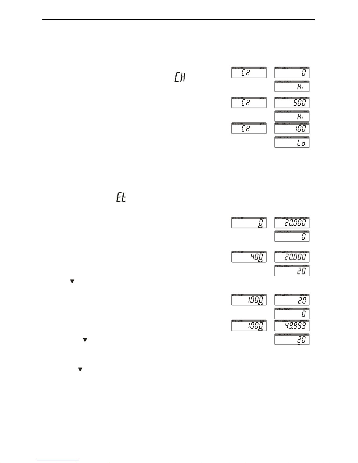
Automatic Counting Accuracy Improvement (ACAI) results in a more accurate count by
increasing the reference weight without the need to count additional parts. Ahigher reference
weight is important when there is a risk of inconsistent piece weights or if the reference weight
is close to the minimum. ACAI uses an initial averaging unit weight to count additional pieces
that are placed on the scale .after a few seconds, the scale gives a beep as the new higher
reference weight is used to recalculate the averaging unit weight. The process can be
repeated as long as the additional weight is less than the previous reference weight. Once
this limit is exceeded ACAI is turned off.
→
5-2-4 Accumulation, Accumulation Display and Accumulation Clear
1) Enter the indicated unit weight, press key UWS
and put first piece of load on the weighing pan
(Or into a tared container). (Refer to 7-2-2)
2) Press key M+, the first accumulation event
is displayed momentarily before Symbol ― ‖
pointing at “M+”. The display reverts to normal
weighing mode in a second, remove the first piece
of load.
3) Put the second piece of load on, then Press key M+ to add the second accumulation event
into memory. Repeat step 2-3 till accumulation actions are finished.
Note: Maximum is 99 pieces.
Accumulation Display
Press key MR to displays the total accumulation data (weight, count and number of
weighments) and the first 10 accumulation events in detail.
Accumulation clear
To clear the total accumulation data or the first 10 accumulation events, Press key MC/CK
while the data is displayed. Symbol ― ‖ disappears when the total accumulation data is
deleted.
6. Calibration
1) For best results, calibrate the scale at regular intervals. Temperature changes, geographic
gravity variations, altitude changes and abuse are few reasons why a scale may need
recalibration.