
3VPIFb
FEB 2008
VPIF INSTALLATION DIMENSIONS, INCH (MM)
Figure B
VPIF MOUNTED REMOTELY VPIF MOUNTED ON VALVE
RECALIBRATION INSTRUCTIONS
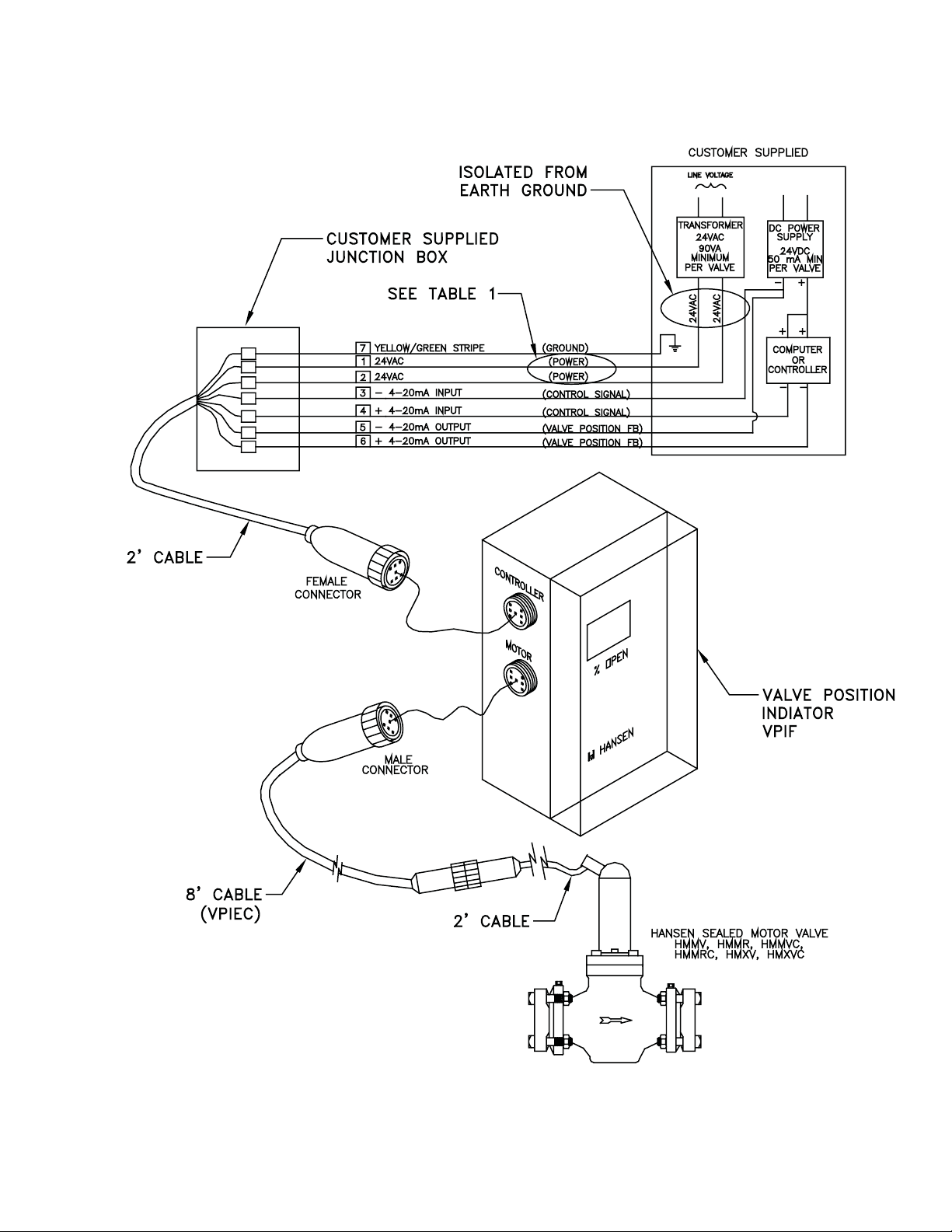
Hansen Sealed Motor Valves are factory calibrated,
and hold their calibration during shipment, power
outages, etc. However, valve disassembly or manual
opening with the MOVT (Manual Operation Valve Tool)
does require subsequent recalibration. Therefore,
after removing or replacing the 4-20 mA power
head of a Sealed Motor Valve, recalibrate the valve.
Recalibration synchronizes the control input with
the valve position; that means, for example, a 12 mA
input (50%) would result in the valve moving to the
half-open position.
Recalibration requires the ability to control the 4-20 mA
control input to the motor between 4 and 20 milliamps,
and requires the ability to allow the valve to stroke fully
open and closed. For valves shipped after July 4, 2006,
or retrofitted valves with VPIF, the 4 mA and 20 mA
signal to calibrate the valve is part of the function of
the VPIF. If the valve is not equipped with a VPIF, then
the 4 mA and 20 mA to calibrate must come from the
computer or separate signal generator. Only qualified
refrigeration service personnel should perform this
procedure, and proper precautions taken to prevent
a hazardous or undesirable occurrence resulting from
operating the valve from open and closed.
1. Secure the refrigeration system to allow the
valve to open and close fully without causing
undesirable system problems to occur.
2. Mount and secure the motor on the sealed motor
valve. Connect electrical wiring in accordance
to the valve and controller manufacturers
specifications.
3. Install “Calibration Key” over ‘X’ on side of motor
and secure with strap.
4. Increase the control input to 20 mA or slightly
greater. Move VPIF switch to up (OPEN) position.
Maintain at least 20 mA for at least two minutes.
This will give the valve time to move to the wide
open position and calibrate its position. Note:
some computer control systems have lag times
before the control input is sent to the valve.
5. Decrease the control input to 4 mA or less. Move
VPIF switch to down (CLOSE) position. Maintain
4 mA or less for at least two minutes. This will
give the valve time to move to the completely
closed position and calibrate its zero point.
6. Again increase the control input to at least 20
mA. Move VPIF switch to up (OPEN) position.
Maintain at least 20 mA for at least two minutes.
This will give the valve time to move to the wide
open position and set its span.
7. The valve should now be calibrated and in the
wide open position.
8. Remove “Calibration Key” and store. The valve
will operate satisfactorily if the “Calibration Key”
remains over the “X”, but the valve will recalibrate
each time the control input is at 4 mA or 20 mA
for more than the two minutes.
9. Return valve operation switch to (AUTO).