
APS-120W
Amplifier Station The Intelligent Solution
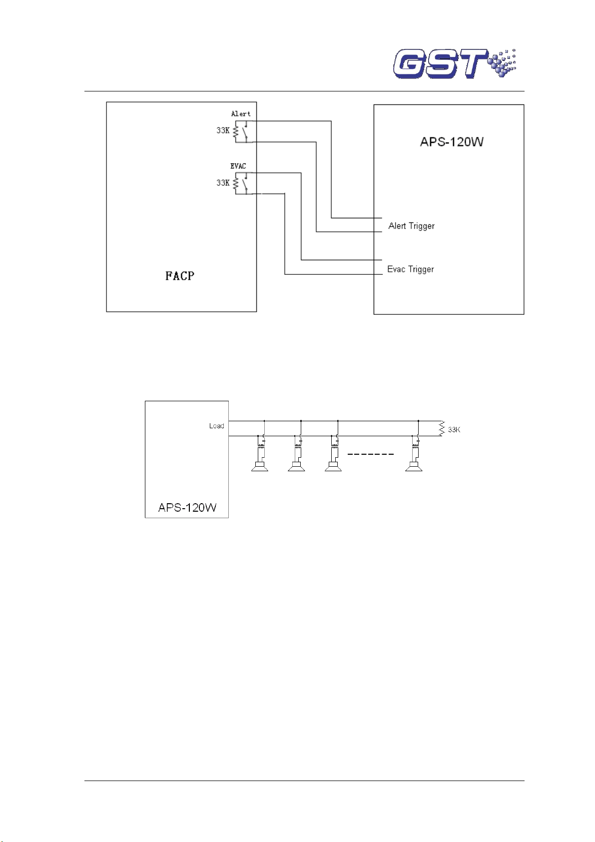
8
1) File in computer or MP3 can be used. Connect the player to the Audio In port by the
provided audio cable. (Attention! The device should not be in pre or alarm state
while recording or broadcasting. Recording Operation could not be affected by any
fault except Message Fault) Hold the recording key, the indicate lit, means remove
the formal message. Put off it ,and then press the key, it start to record now. You can
refer to the fig. below
4.2.2.1 The Recording of Pre-Alarm(the first part):
Choose prepared pre alarm file in computer, and all DIP is OFF, Press and hold the
“RECORD” key for 5s, when red LED starts flashing, it goes into preparing status, put off
it, play the file until the voice can be heard. Stop file and start it again, start the player at
the same time, the audio will be recorded into the amplifier. Normally the player volume
should be adjusted to max. Stop the record anytime by press STOP button
4.2.2.2 Replay of the Pre Message:
Verify the message by playing back. If not satisfied, repeat the steps 4.2.2.1、4.2.2.2.
4.2.2.3 Fire Message Recording(the second part):
Choose prepared fire file in computer, and all DIP is OFF except DIP1, Press and hold
the “RECORD” key for 5s, when red LED starts flashing, it goes into preparing status, put
off it, play the file until the voice can be heard. Stop file and start it again, start the player
at the same time, the audio will be recorded into the amplifier. Normally the player
volume should be adjusted to max. Stop the record anytime by press STOP button.
4.2.2.4 Replay of Fire Message:Verify the message by playing back. If not satisfied, repeat
the steps 4.2.2.3、4.2.2.4.
4.2.2.5 Pre mic. Voice Recording (the third part):
Choose prepared mic. voice file in computer, and all DIP is OFF except DIP2, Press and
hold the “RECORD” key for 5s, when red LED starts flashing, it goes into preparing
status, put off it, play the file until the voice can be heard. Stop file and start it again, start
the player at the same time, the audio will be recorded into the amplifier. Normally the
player volume should be adjusted to max. Stop the record anytime by press STOP
button.
4.2.2.6 Replay of mic. Message:Verify the message by playing back. If not satisfied, repeat
the steps 4.2.2.5、4.2.2.6.
4.2.2.7 Remove All:
When DIP4 is ON for about 5 seconds , all message is gone.