
- 4 -
12.5kHz Channel Spacing………………..……>36 dB (with POSPH)
Modulation Symmetry ……………………………..<10% Peak Dev@1kHz input
for nominal dev +20dB
Load Stability……………………………………No osc at >= 10:1 VSWR all
phase angles and suitable antenna
Nodestroyat>=20:1allphaseangle
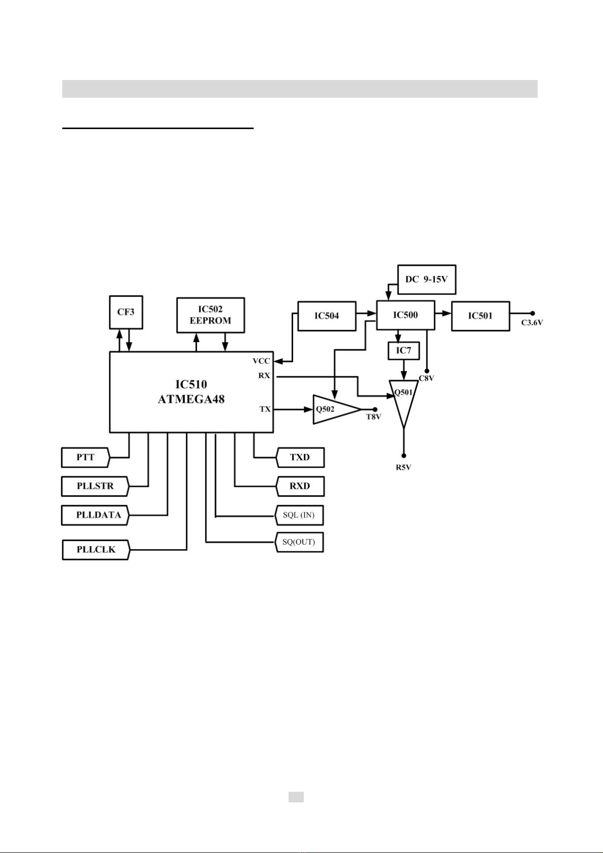
RECEIVER
Sensitivity(12dB Sinad) …………………………..UHF <-117 dBm,
Amplitude Characteristic………………………….<±3dB
Adjacent Channel Selectivity:
25 kHz Channel Spacing …………………….≥70dB @ Nom.,
12.5kHz Channel Spacing…………………….≥60dB@Nom.,
Spurious Response Rejection………………………70dB
Image Response…………………………………… > 70 dB
IF Response ………………………………………. >70 dB
Others………………………………………………> 70 dB
Intermodulation Response Rejection………………≥65 dB
Conducted Spurious Emission @ Nominal Conditions………<-57 dBm
AF Distortion ………………………………………………....<5% @ Nom.,
<10%@ Extreme Condition
RX Hum & Noise:
25.0kHz CP……………………………………………< 40dB No PSOPH