
801RIL
LED INDICATORE REMOTO
REMOTE LED INDICATOR
ISTISBL3801RIL 0.0 170608
FireClass
LEAFLET 120-415-533 -i02
ITALIANO
CARATTERISTICHE TECNICHE
Compatibilità: usare solo con Centrali serie FC
Caratteristiche ambientali: Solo per applicazioni interne
Temperatura di funzionamento: da -20° a +70 oC
Temperatura di stoccaggio: da -45° a +80 oC
Umidità relativa:fino a 95% (senza condensa)
Dimensioni (HxLxP):
Assemblato: 86 x 86 x 16 mm
Caratteristiche Elettriche:
Consumo Corrente:
a Riposo: 0
in Allarme: 5,43mA
INTRODUZIONE
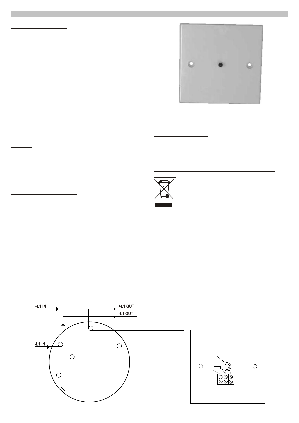
L'indicatore remoto 801RIL (Fig.1)và utilizzato nei casi dove il LED del rilevato-
re non risulta visibile ad esempio quando il rilevatore è montato nel sottotetto o
nel vano ascensore. L' 801RIL và montato su una scatola elettrica singolo mo-
dulo utilizzando le viti 2 x M3,5.
CARATTERISTICHE
Tutti i rilevatori della serie FC possono essere collegati con il LED remoto in
tutte quelle installazioni dove il rilevatore non risulta visibile.
L'801RIL è principalmente progettato per i mercati con certificazione LPCB ed è
compatibile con tutta la serie dei rilevatori FC400. Caratteristiche:
ØMontaggio su Scatola standard Inglese a singolo modulo
ØLED rosso ad alta intensità
NOTE INSTALLATIVE
1) Tutti i collegamenti devono essere conformi alle norme applicabili.
2) Tutti i conduttori devono essere senza terra.
3) Effettuare i collegamenti come in Fig.2.
4) Fissare la scatola con le viti 2 x M3,5 .
INFORMAZIONI SUL RICICLAGGIO
Si consiglia ai clienti di smaltire i dispositivi usati (centrali, rilevatori, sirene,
accessori elettronici, ecc.) nel rispetto dell'ambiente. Metodi potenziali com-
prendono il riutilizzo di parti o di prodotti interi e il riciclaggio di prodotti, com-
ponenti e/o materiali.
DIRETTIVA RIFIUTI DI APPARECCHIATURE ELETTRICHE ED
ELETTRONICHE (RAEE - WEEE)
Nell'Unione Europea, questa etichetta indica che questo pro-
dotto NON deve essere smaltito insieme ai rifiuti domestici.
Deve essere depositato in un impianto adeguato che sia in
grado di eseguire operazioni di recupero e riciclaggio.
Il costruttore si riserva il diritto di modificare le specifiche tecniche di questo
prodotto senza preavviso.
Led Indicatore Remoto 801RILFIG. 1
R
L
L1
L2 PARTE POSTERIORE DEL LED
REAR OF LED
FIG. 2 Schema di collegamento con la parte posteriore del 801RIL