
HC960 Operating Instructions
2/14 Version 2.1 © ehb Errors
excepted
Bedienungsanleitung.doc •Stand/Version: 25.02.2005/00 •Layout: Gottschalk •\\Ehelec-nts-000\EHELEC\Iso 9001\Formblätter\Vorlagen
1. General information
The HC960 chipper controller includes automatic control for the feed rollers of a wood chipper, a revolu-
tion counter, a daily counter and a total operating hours counter. When operating the HC960, a distinction
is made between two different operating states.
1.1. Operating states
Normal operation
In normal operation the HC960 has a display function. Depending on whether the blade shaft is rotating
or not, either the speed or the total operating hours are displayed.
Before the HC960 can be used, a basic parameter setting must be made. On the following page the indi-
vidual parameters are listed both with their designation (these appear in the display) and their meaning.
Programming the parameters
Setting different basic values to adapt the HC960 to different chipper types. Programming the parameters
is only necessary during initial commissioning.
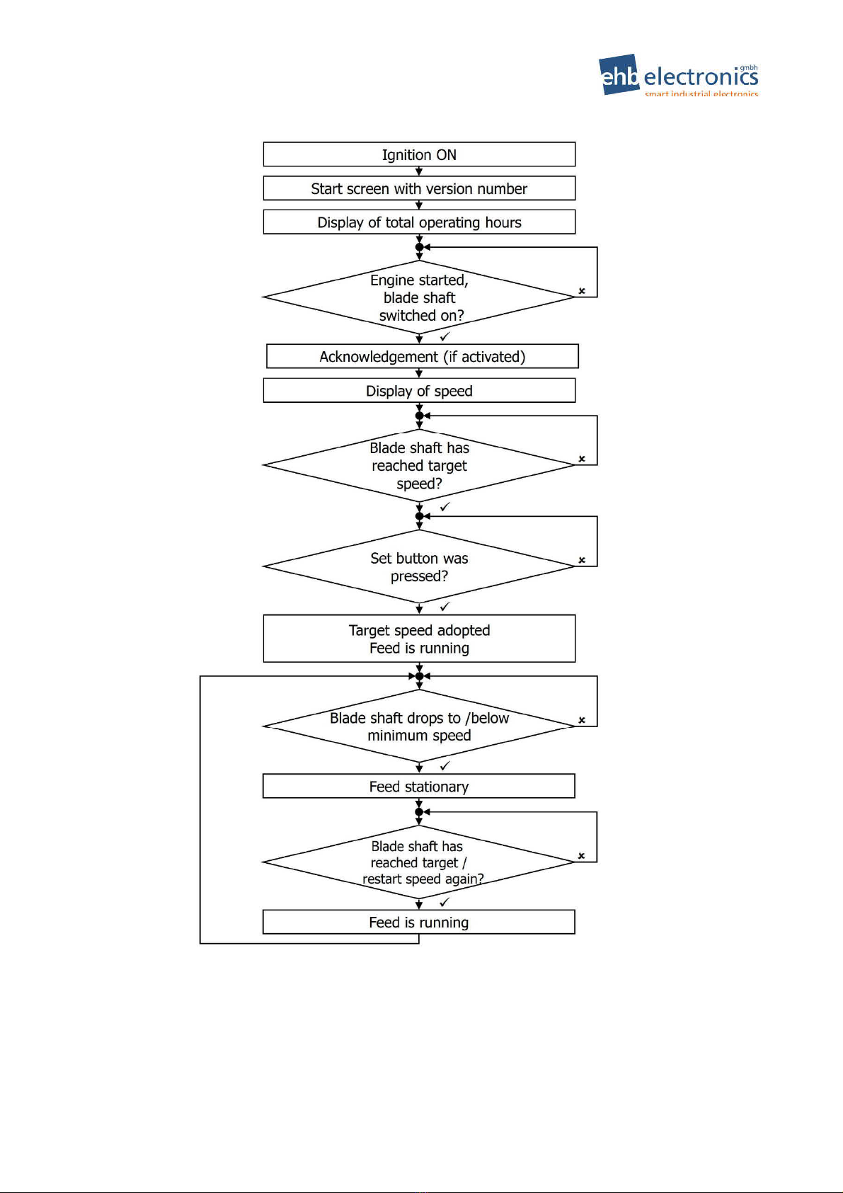
1.2. HC960 operating modes
When operating the HC960, a distinction is made between fully automatic (Normal RPM parameter > 0)
and semi-automatic mode (Normal RPM parameter = 0). The user can decide for himself in which operat-
ing mode he wants to operate the HC960.
In semi-automatic mode, the blade shaft must be raised to the desired speed after starting the diesel en-
gine. This target speed can then be saved by pressing the set button. The feeder is switched on at the
same time. The set display flashes until the target speed is set for the first time. If the speed of the blade
shaft is changed during operation and then the set button is pressed again, the new target speed is
saved. This happens every time the Set button is pressed.
2. Meaning of parameters
Name
Meaning
Remark
Normal
RPM
Normal speed Preset target speed which the blade shaft should hold and at which
the feed rollers are started (if a restart speed is programmed, this has
priority; see also Return RPM parameter). After a drop in speed, the
target speed must be reached again in order to switch on the feed roll-
ers again. If the value "0000" is entered here, this means that the
blade shaft must be brought to a certain speed after starting the motor,
which can then be saved by pressing a button (learn function).
Permitted value: 0 - 5000 rpm
The limits are influenced by the settings for overspeed and under-
speed
Return
RPM
Restart speed Speed at which the feed is switched on again. (Note: this parameter
has priority over the parameter "n"). It is only to be used in semi-auto-
matic mode. A value should be entered here which is slightly below
the normal speed. As the value for the normal speed in this operating
mode can be changed at any time via the learn function, it is recom-
mended to enter a percentage value. In fully automatic mode the value
"0" must be entered here. The entry can be a percentage or an abso-
lute value, depending on the procedure for entering the minimum
speed.
Permitted value: 0 - 99% or 0 - 5000 rpm
The limits are influenced by the settings for overspeed and under-
speed