
1. PLAY/PAUSE BUTTON – Each press of the PLAY/PAUSE BUTTON causes the operation to change
from play to pause or from pause to play. While in play mode the PLAY/PAUSE LED will glow, and
while in pause mode the PLAY/PAUSE LED will flash.
2. TAP BPM BUTTON – This button is used to override and manually set a track BPM. Occasionally
the built-in BPM meter may not function as desired. This button allows you to override the internal
beat clock and manually set a track BPMs. To manually set the BPMs; tap this button a few times to
a tracks heavy down beat, the unit will automatically calculate your tapping and translate it into a
tracks BPMs. The BPM READOUT is then displayed in the LCD. To return to the automatic BPM
counter, press and hold down the TAP BUTTON for at least 2 seconds and then release.
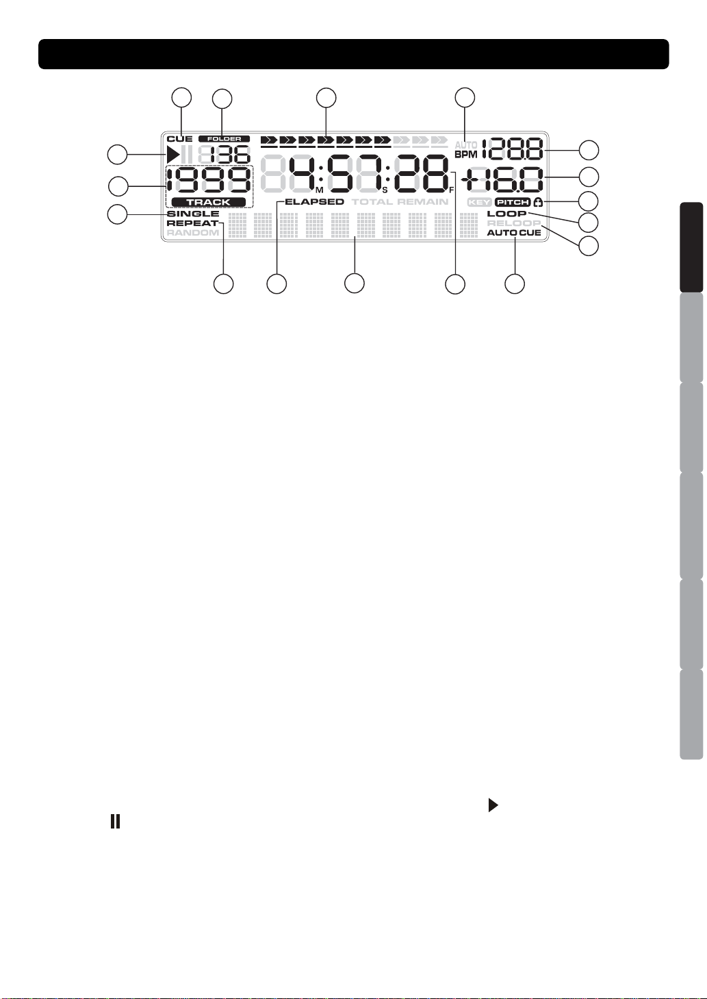
3. CUE BUTTON – Pressing the CUE button during playback immediately pauses playback and
returns the track to the last set cue point. The CUE indicator in the LCD will glow when the unit is in
cue mode and the indicator will also flash every time a new CUE POINT is set. The CUE button can
be held down to momentarily play the music. When you release the CUE button it instantly returns
to the CUE POINT. You can also tap the CUE button to create a STUTTER EFFECT.
4. JOG WHEEL – This wheel has 4 functions:
In the normal mode
The wheel works as a pitch bend during Playback. Turning the wheel clockwise can increase
the pitch percentage up to 100%, and turning the wheel in the counterclockwise direction can
decrease the pitch percentage down to -100%. The pitch bend will be determined on how long
you turn the jog wheel continuously.
The jog wheel acts as a slow frame search (1/75 sec) control when the music is not playing but either
paused or set to a cue point. To set a new cue point, spin the wheel then press PLAY or IN when
you have determined the proper position. Press CUE to return to the “CUE POINT”.
In the SEARCH mode: Press this button to toggle between fast search and slow search.
SEARCH mode on (LED lit) – When the SEARCH function is activated you can use the jog
Wheel to search fast backward or forward through the current track whether in play mode or not.
SEARCH mode off (LED off) – When the SEARCH function is not activated, you can use the jog
Wheel to search frame by frame or a slow search in pause mode and you can use the JOG WHEEL
act as a PITCH BEND in play mode.
In the FX mode
There are 2 ways to activate the FX:
(1) Press the ECHO/FLANGER/FILTER buttons will activate the FX function and the button will
glow. In this mode, you can reset the effect parameter. Holding the FX button, the button will
blink and you can change the effect parameter by turning the JOG WHEEL.
(2) Push any one of FX (ECHO/FLANGER/FILTER) button for more than 1 sec to turn the FX
jog mode automatically on when no FX type is chosen, it will make that FX (Echo, Flanger,
Filter) LED blinking , now you can adjust parameter with jog wheel, and then press that FX
button(Echo, Flanger, Filter) again to confirm and activate the FX,
NOTE:
(1) The FX function can only be active by pressing or holding the ECHO/FLANGER/FILTER
buttons, otherwise it will be no function.
(2) If any one of FX type isn’t chosen (Echo, Flanger, Filter) then FX jog mode will not be turned
on when press FX jog button
(3) The FX jog mode will automatically off when FX (Echo, Flanger, Filter) function is turned off.
In the VINYL mode
Press the button to activate the VINYL function. You can scratch the track while in Play mode
with the Jog Wheel like a vinyl record, by moving it forward and backward and holding it. Press
the Scratch button a second time to deactivate the Scratch effect.
5. SEARCH BUTTONS – These buttons allows you to search fast backward or forward through the
current track whether in play mode or not.
This search button allows you to quickly scan backwards through a track.
This search button allows you to quickly scan forwards through a track.
CONTROLS AND FUNCTIONS
TOP PANEL
ESPAÑOL
ITALIANO NEDERLANDS
ENGLISH
FRANÇAIS
DEUTSCH