
Depending on the hardware deployed at your site, your system may not consume the maximum power supplied
by the power system.
Note
Fixed Configuration DC Power
The LCC fixed configuration DC power system provides 13,200 watts to power the chassis.
Due to its power zones, the LCC using fixed configuration power requires a total of twelve dedicated 60 Amp
DC input power connections, two for each DC PEM, to provide redundant DC power to all six power zones.
We recommend that you have two separate, redundant –48 VDC power battery sources to provide power to
the LCC. Connect the six “A" 60 Amp DC inputs to the upper power shelf (PS0 in Figure 1-4) to one battery,
and the six “B” 60 Amp inputs to the lower power shelf (PS1 in Figure 1-4) to the other battery.
At sites where the LCC is equipped with a DC-input power supply shelf and DC PEMs, observe the following
guidelines:
• All power connection wiring should follow the rules and regulations in the National Electrical Code
(NEC) and any local codes.
• Each DC-input PEM connection is rated at 60 A maximum. A dedicated, commensurately rated DC
power source is required for each PEM connection.
• For DC power cables, we recommend that you use commensurately rated, high-strand-count copper
cable. Each DC PEM requires two DC inputs of nominal –48/–60 VDC, 60 A service. Each DC input
consists of one pair of cable leads, source DC (–) and source DC return (+). Each power shelf requires
one grounding cable. The length of the cables depends on the router location. These cables are not
available from Cisco Systems; they are available from any commercial vendor.
• DC power cables must be terminated by cable lugs at the power shelf end. The lugs should be dual hole
and able to fit over M6 terminal studs at 0.63 in. (5/8 in.) (1.60 cm) centers (for example, Panduit part
number LCD2-14A-Q), as shown in the next figure.
• Maximum wire size at the DC input terminal block is 2 AWG.
Figure 5: DC Power Cable Lug
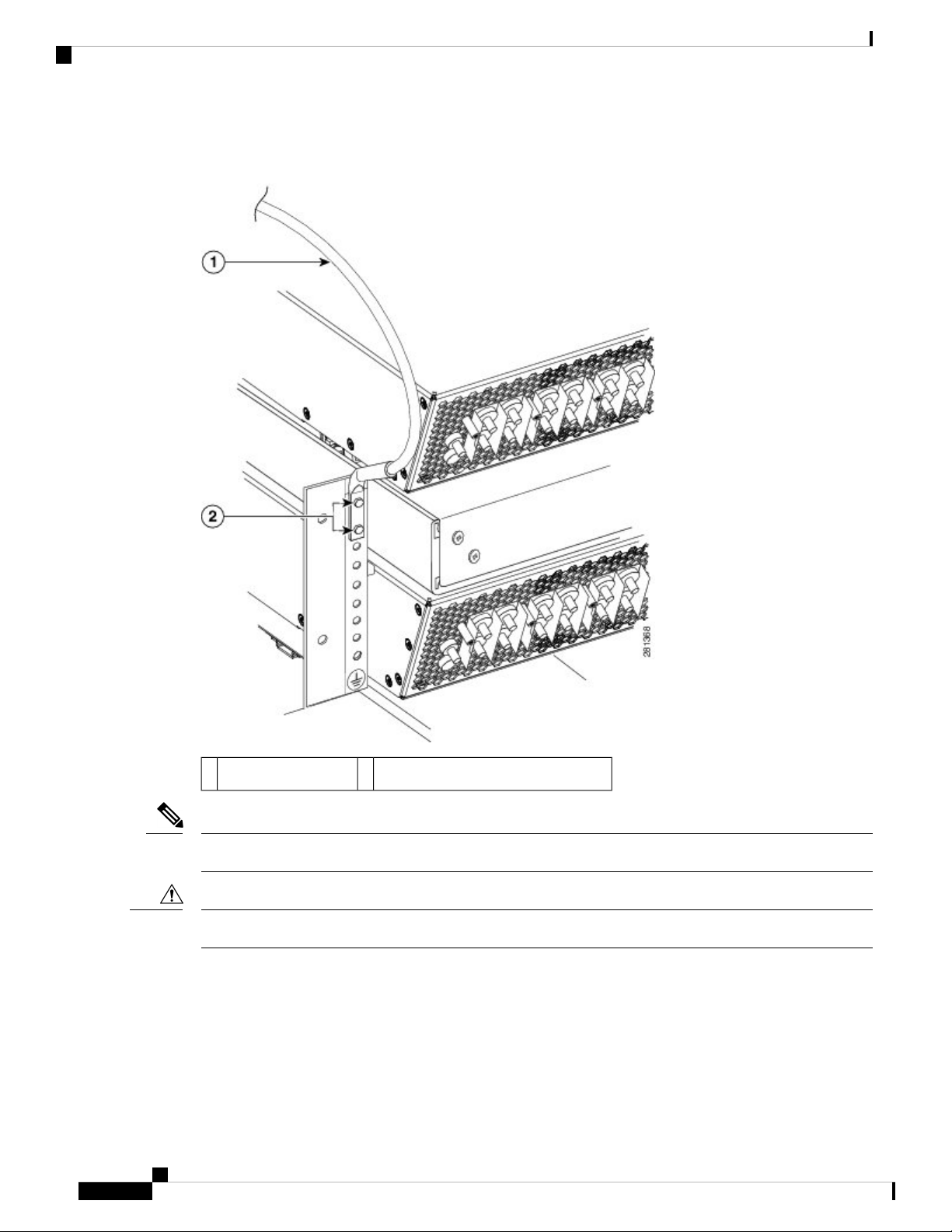
The next figure shows a typical source DC power distribution scheme. The ground cable is to the far left on
the shelf. The DC terminal block cable connector screws have a 20 in.-lb (2.26 N-m) value; the power shelf
ground cable connector screws have a 30 in.-lb (3.39 N-m) torque value.
The color coding of the source DC power cable leads depends on the color coding of the site DC power source.
Typically, green or green and yellow indicates that the cable is a ground cable. Follow your local practices
for cable color code and markings. Ensure that the power cables are connected to the DC input power shelf
terminal studs in the proper positive (+) polarity and negative (–) polarity.
Installing and Removing Power Components
8
Installing and Removing Power Components
Fixed Configuration DC Power