
Descrizione del sistema:
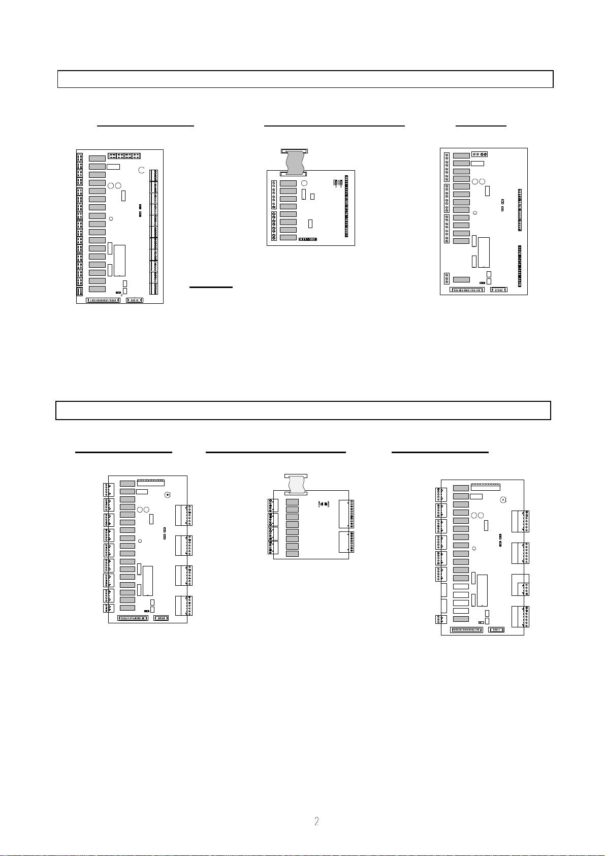
Il sistema nella sua massima espansione si compone di un controllo MACROPLUS collegato a due schede di interfaccia
LARGE e a due schede interfaccia ADDIZIONALI sempre disponibili nelle versioni con morsetti a vite o estraibili.
Tutte le schede sono alimentate a 24 Va.c.
E' sufficiente un trasformatore 220Va.c./24Va.c. 100 VA per l'alimentazione dell'intero sistema. Il trasferimento dati fra le
schede LARGE e il MACROPLUS avviene tramite un cavetto flat (cod. 59C222A003 / cod 59C155A001) come illustrato
in figura.
Le schede ADDIZIONALI sono collegate alle schede LARGE (o SMALL ESPANDIBILE) mediante un cavo flat saldato
alle schede stessa e NON RICHIEDONO alcuna ALIMENTAZIONE esterna.
24 V a.c. 220 V a.c.
Cavo flat in dotazione (cod. 59C155A001)
1,5 m 0,5 m
Al connettore della scheda MACROPLUS
Alla prima scheda interfaccia
Cavo flat in dotazione (cod. 59C222A003)
1 m
Al connettore della scheda MACROPLUS
Alla scheda interfaccia
Alla seconda scheda interfaccia
-CONSIGLI PER UNA INSTALLAZIONE OTTIMALE-
Evitare il montaggio delle schede negli ambienti che presentano le seguenti caratteristiche:
1) Ampie e rapide fluttuazioni della temperatura ambiente
2) Umidita' relativa maggiore dell' 85%
3) Forti vibrazioni o urti
4) Esposizioni a getti d' acqua diretti
5) Esposizione alla polvere (formazione di patina corrosiva con possibile ossidazione e riduzione dell'isolamento).
6) Esposizione ad atmosfere aggressive ed inquinanti (es: gas solforici e ammoniacali, nebbie saline, fumi) con
conseguente
corrosione e/o ossidazione.
7) Alte interferenze magnetiche e/o radiofrequenze (evitare quindi l'installazione delle macchine vicino ad antenne
trasmittenti).
8) Esposizioni del Macroplus all'irraggiamento solare diretto e agli agenti atmosferici in genere.
ATTENZIONE
Prima di eseguire ogni collegamento elettrico leggere i consigli
e osservare attentamente gli schemi riportati nella pagina successiva.
Il non corretto allacciamento della tensione di alimentazione puo' danneggiare seriamente il sistema.
1) Utilizzare capicorda adatti per i morsetti in uso. Allentare ciascuna vite ed inserirvi i capicorda, quindi serrare le viti.
Ad
operazione ultimata tirare leggermente i cavi per verificarne il corretto serraggio.
2) Separare quanto piu' possibile i cavi dei segnali delle sonde e degli ingressi digitali dai cavi dei carichi induttivi e di
potenza per evitare possibili disturbi elettromagnetici. Non inserire mai nelle stesse canaline (comprese quelle
dei quadri elettrici) cavi di potenza e i cavi delle sonde.
Evitare che i cavi delle sonde siano installati nelle immediate vicinanze di dispositivi di potenza (Contattori
Magnetotermici o altro).
Ridurre il piu' possibile il percorso dei cavi dei sensori ed evitare che compiano percorsi che racchiudano dispositivi di
potenza.
Il collegamento delle sonde deve essere costituito da cavi schermati (sez. minima per ciascun conduttore 0.5 mm²)
-SCHEMA MASSIMA ESPANSIONE MACROPLUS (COLLEGAMENTI ELETTRICI)-