
3
Introducing Series 1500™ Intercom Systems
Series 1500 Intercom systems enable clear two-way communications
in retail service businesses. Two-way video can be integrated with
high-performance audio to provide a complete intercommunication
solution over a single Category 5/6/7 UTP cable. The versatile Model
1500A or 1500AH Counter Station can access up to 16 lanes. Lane
Stations can be connected directly to a Counter Station in a one-on-
one system, or multiple Counter Stations and Lane Stations can be
networked using an Audio Authority intercom hub.
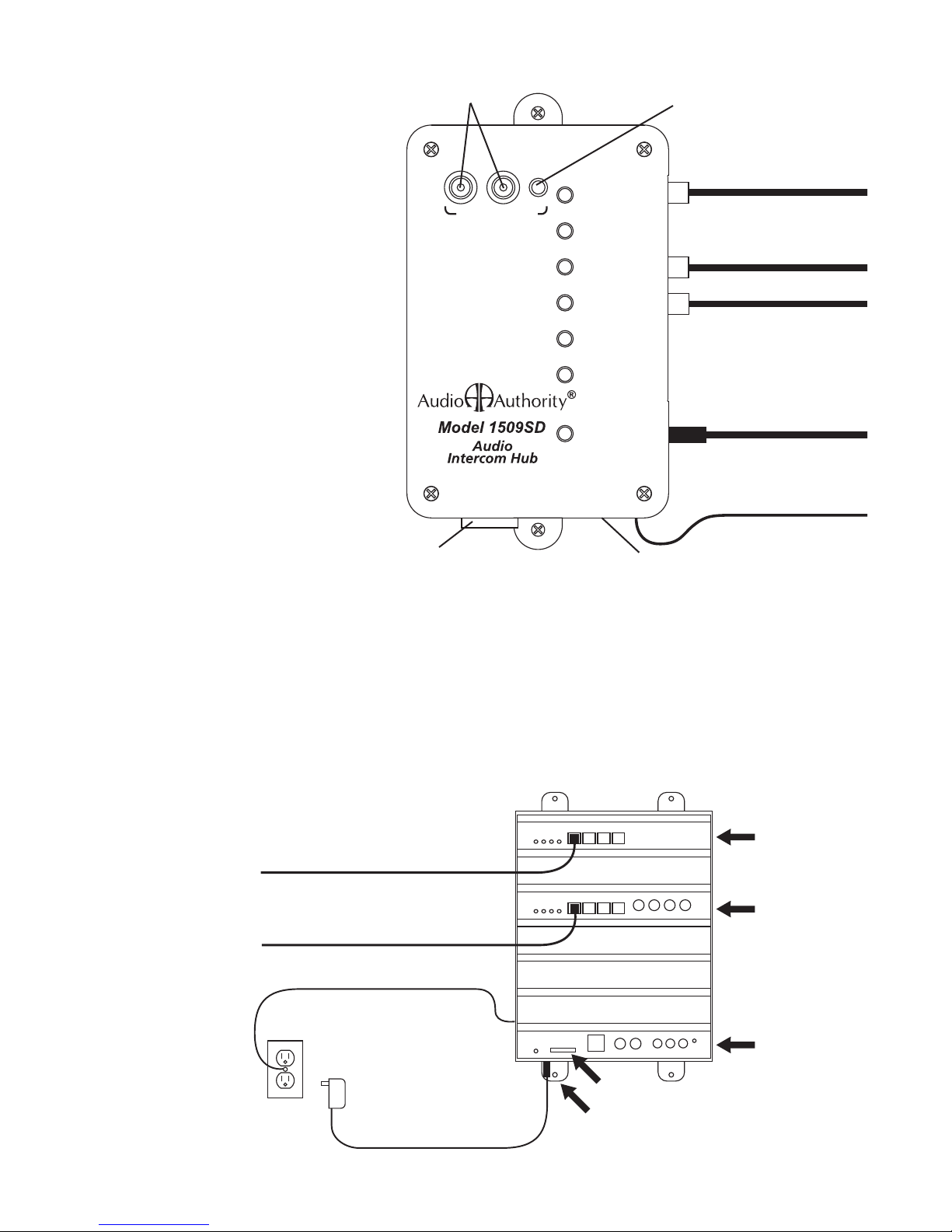
Model 1509SD mini audio hub is perfect for two-on-four audio
systems, while AV system hubs can support up to 8 Counter Stations
on 16 lanes. An AV system hub is required for multi-lane video
systems (see examples). Video communication is easily added by
installing a Model 1501L (inbound only) or 1502L (two-way) video
display for Counter Stations. Video in the lane can be installed using
separate cameras and displays, or Audio Authority video customer
stations.
About 1580 Intercom Systems:
The 1580 Series is ideal for small, 1-on-1 and 1-on-2 driveup
intercom systems. The 1580 is not compatible with Series 1500.
Refer to the 1580 manuals and literature available at
www.audioauthority.com/1580.
Counter Station (audio) 1500A
Counter video display, (inbound only) 1501L
Counter video display, two-way 1502L
Video adapter, for 1500 1504
2-on-4 audio only hub 1509SD
4-on-4 audio-video hub 1510*
4-on-8 audio-video hub 1511*
8-on-12 audio-video hub 1512*
8-on-16 audio-video hub 1513*
4-counter plug-in card 1515
4-lane plug-in card 1516
System plug-in card 1517SD
Lane Station 1520
Integrated AV Customer Station, 7” 1526AV
Integrated AV Customer Station, 10.4” 1527AV
2-way video display for driveup, 7” 1526V
2-way video display for driveup, 10.4” 1527V
Intercom-Telephone Interface 1533
Surface-mount customer handset 1540
Flush-mount customer handset 1541
Wireless headset 1542J
Trafc sensor 1547
Headset switch 1548
Installer setup tool (LCD) 1550A
Adjustable mounting arm 1592
Universal power supply 571-013
5 Amp power supply 805-028
Gooseneck microphone 631-026
External microphone kit 631-029
External 3” speaker 631-030
Special Tools & Supplies
Series 1500 System Components
*See page 12 for hub congurations
Installation Guide
• Cat 5 network cable tester
• RJ-45 plug crimping tool (Audio
Authority recommends EZ-RJ Pro
crimp tool)
• Category 5e or 6 UTP cable
and RJ-45 terminations (Audio
Authority recommends EZ-RJ-45
connectors)
• 18mm are nut wrench for
gooseneck mic installation
• Model 1550A Installer Setup
Display
®