
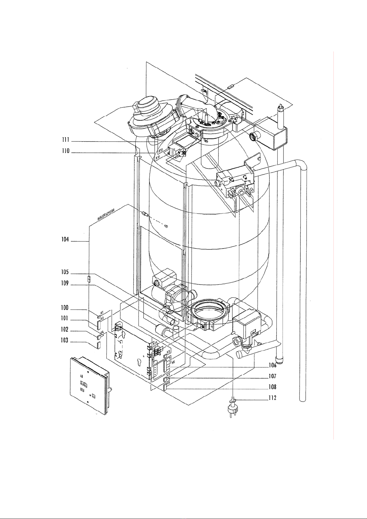
Atmos Multi Mk 2 Parts List
Atmos Multi 24/80
Atmos Multi 24/80 PLUS
Atmos Multi 32/80 PLUS
Drg Ref Description Part Ref.
17 Thermostat *** 78.76.54.981
18 Rear insulation *** 07.98.83.229
19 Burner/fan assembly - 24 Model ** 07.95.25.003
19 Burner/fan assembly - 32 Model * 07.95.25.004
19.1 Burner casting *** 07.95.07.002
19.2 Fan casing *** 07.98.83.185
19.3 Fan *** 07.98.36.003
19.4 Nut M4 *** 07.98.82.080
19.5 Viewing glass set *** 07.95.26.003
19.6 Burner set *** 07.95.25.002
19.7 Ionisation probe set *** 07.95.78.004
19.8 Ignition electrode set *** 07.95.70.006
19.9 O-Ring 80x2 *** 07.98.83.184
19.10 Mixing chamber 25 mm - 24 Model ** 07.98.16.002
19.10 Mixing chamber 28 mm - 32 Model * 07.98.16.001
19.11 Screw M6x8 *** 07.98.82.082
19.12 Grommet 15 mm *** 07.98.68.041
19.13 Nipple cover Ø 6 mm *** 07.98.15.092
20 Ceramic core *** 07.98.27.001
21 Mid baffle *** 07.98.41.027
22 Lower baffle *** 07.98.41.016
23 Condensate collector *** 07.98.07.007
24 Siphon 32x140 mm *** 07.90.74.200
25 Sealing washer 60 mm *** 07.98.83.233
26 Lifting bar set *** 07.95.74.023
27 CH pump (inc. cable loom K5) *** 07.95.36.002
28 3 Port valve (inc. cable loom K7) *** 75.83.01.004
29 Return pipe for CH pump *** 07.98.74.284
30 Pressure sensor *** 07.98.78.004
31 Pump seal 30 mm *** 07.98.83.230
32 Union nut 1" *** 07.98.82.113
33 Short pipe for pump *** 07.98.74.288
34 T-piece 22x22x22 mm *** 07.98.74.304
35 Pipe with bend - pump * 07.98.74.296
35 Pipe with bend – helix coil * * 07.98.74.287
36 Elbow connection 22x22 mm * * 74.64.30.958
37 Front insulation *** 07.98.83.228
38 Flow pipe *** 07.98.74.308
39 Bracket *** 07.98.37.042
40 Ignition transformer *** 07.98.61.001
41 Screw M4x8 self tap *** 82.08.93.046
42 Hex bolt M8x12 *** 07.98.82.112
43 Controller mounting plate *** 07.95.30.001
44 Controller *** 07.95.64.001
45 Controller front plate *** 07.98.35.288
46 Front case set *** 07.95.22.004
47 Data Plate 24 Model * 07.98.35.294
47 Data Plate 24 Plus Model * 07.98.35.295
ATMOS MULTI Mk2 version 2004 Appendix Page 3