
41-251.21C
2
Type CRN-1
Reverse Power Relay
ing magnet be removed first. The screw connection
holding the lead to the moving contact should be
removed next. The second screw holding the moving
contact assembly should then be loosened not
removed.
!CAUTION
This screw terminates into a nut held captive
beneath the molded block. If screw is removed,
difficulty will be experienced in the reassembly
of the moving contact assembly.
Slide the spring shield outward and remove from
relay. Tighten the screw holding the moving contact
assembly to the molded block.
The timer unit operates on the induction-disc princi-
ple. A main coil located on the center leg of an “E”
type laminated structure produces a flux which
divides and returns through the outer legs. A shading
coil causes the flux through the left leg (front view) to
lag the main pole flux. The out-of-phase fluxes thus
produced in the air gap causes a contact closing
torque. It is similar to a non-tapped version of the
voltage unit of the CV Relay (see I.L. 31-201).
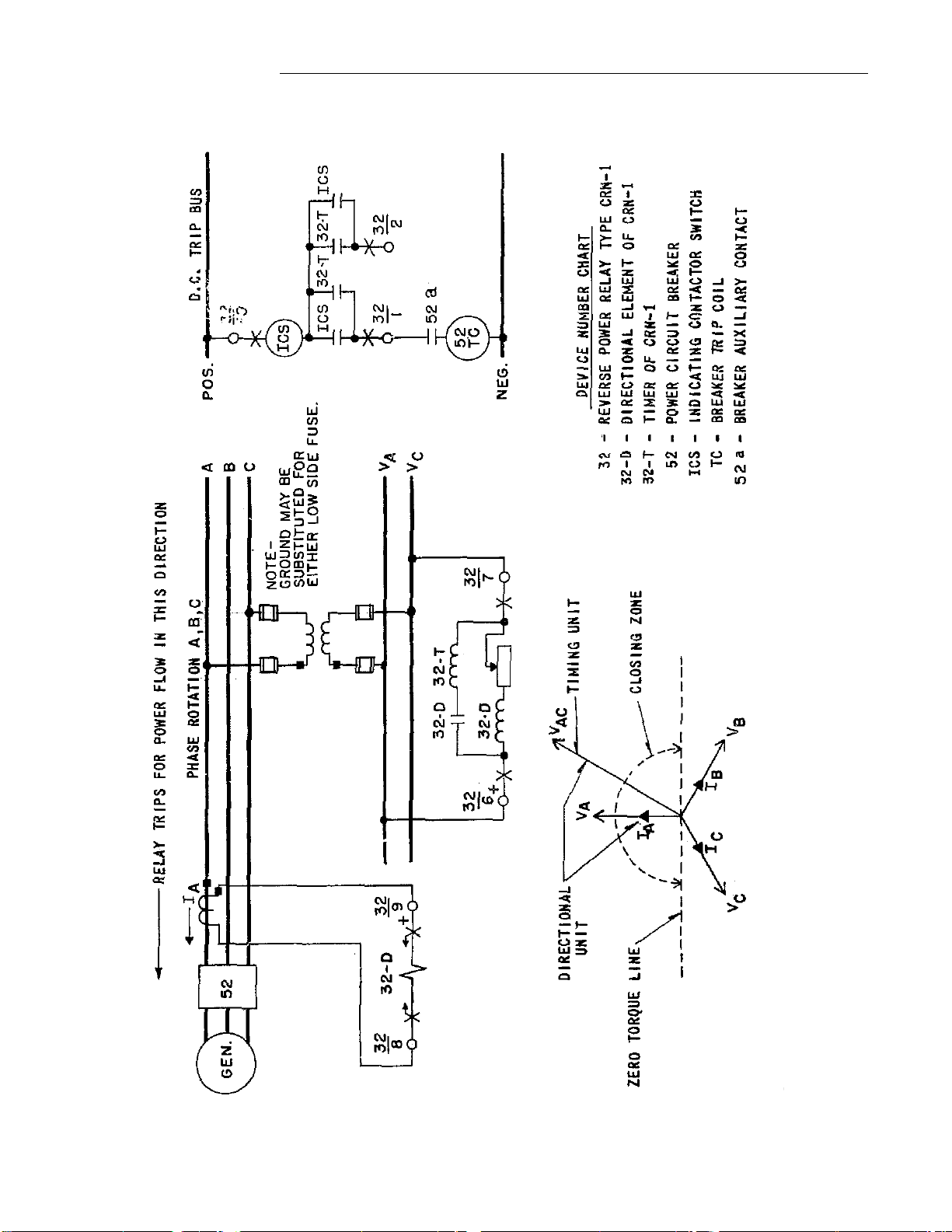
2.2 DIRECTIONAL UNIT (D)
The directional unit is a product induction cylinder
type unit operating on the interaction between the
polarizing circuit flux and the operating circuit flux.
Mechanically, the directional unit is composed of four
basic components: a die-cast aluminum frame, an
electromagnet, a moving element assembly, and a
molded bridge.
The frame serves as the mounting structure for the
magnetic core. The magnetic core which houses the
lower pin bearing is secured to the frame by a locking
nut. The bearing can be replaced, if necessary, with-
out having to remove the magnetic core from the
frame.
The electromagnet has two series-connected polariz-
ing coils mounted diametrically opposite one another;
two series-connected operating coils mounted dia-
metrically opposite one another; and two locating
pins. The locating pins are used to accurately posi-
tion the lower pin bearing, which is mounted on the
frame, with respect to the upper pin bearing, which is
threaded into the bridge. The electromagnet is
secured to the frame by four mounting screws.
The moving element assembly consists of a spiral
spring, contact carrying member, and an aluminum
cylinder assembled to a molded hub which holds the
shaft. The shaft has removable top and bottom jewel
bearings. The shaft rides between the bottom pin
bearing and the upper pin bearing with the cylinder
rotating in an air gap formed by the electromagnet
and the magnetic core. The stops for the moving ele-
ment contact arm are an integral part of the bridge.
The bridge is secured to the electromagnet and
frame by two mounting screws. In addition to holding
the upper pin bearing, the bridge is used for mount-
ing the adjustable stationary contact housing. The
stationary contact housing is held in position by a
spring type clamp. The spring adjuster is located on
the underside of the bridge and is attached to the
moving contact arm by a spiral spring. The spring
adjuster is also held in place by a spring type clamp.
With the contacts closed, the electrical connection is
made through the stationary contact housing clamp,
to the moving contact, through the spiral spring out to
the spring adjuster clamp.
The timer unit cannot be energized unless the power
flow is in the tripping direction because its potential
coil is connected in series with the contacts of the
directional unit. Hence, the relay is directionally con-
trolled.
2.3 INDICATING CONTACTOR SWITCH UNIT
(ICS)
The dc indicator contactor switch is a small clapper
type device. A magnetic armature, to which leaf-
spring mounted contacts are attached, is attracted to
the magnetic core upon energizing of the switch.
When the switch closes, the moving contacts bridge
two stationary contacts, completing the trip circuit.
Also during this operation two fingers on the arma-
ture deflect a spring located on the front of the
switch, which allows the operation indicator target to
drop. The target is reset from the outside of the case
by a push-rod located at the bottom of the cover.
The front spring, in addition to holding the target, pro-
vides restraint for the armature and thus controls the
pickup value of the switch.