
Important Notes
Table of Contents
Please read this Installation Guide carefully before installation
and contact the Customer Care Service if you have any
questions regarding the installation.
1.
To avoid any future service charges that may arise as a result of
incorrect installation, it is recommended that installation
must be performed by a professional technician to prevent
any potential service charges that may occur due to incorrect
installation.
2.
We regularly revise the contents of this Installation Guide and
update our products to enhance the quality and performance
without prior notice.
3.
Do not install the batteries until the lock is installed.
4.
What's in the Box.......................................................................1
Installation Diagram.................................................................2
Installation Procedure..............................................................4
ONE: Slide Opening Installation...............................................4
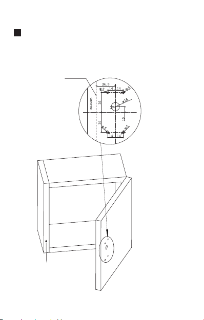
1 Drill Holes......................................................................................................4
2 Install Outdoor Assembly.........................................................................5
3 Install Indoor Assembly..........................................................................6
4 Install Hook Latch.....................................................................................6
TWO: Push-Pull Opening Installation......................................8
1 Drill Holes......................................................................................................8
2 Install Outdoor Assembly.........................................................................9
3 Install Indoor Assembly........................................................................10
4 Install Hook Latch...................................................................................10