Yukon 64023 Instrucciones de montaje

Visit our website at: http://www.harborfreight.com
Email our technical support at: [email protected]
Owner’s Manual & Safety Instructions
Save This Manual Keep this manual for the safety warnings and precautions, assembly,
operating, inspection, maintenance and cleaning procedures. Write the product’s serial number in the
back of the manual near the assembly diagram (or month and year of purchase if product has no number).
Keep this manual and the receipt in a safe and dry place for future reference. 17h
When unpacking, make sure that the product is intact
and undamaged. If any parts are missing or broken,
please call 1-888-866-5797 as soon as possible.
Copyright© 2017 by Harbor Freight Tools®. All rights reserved.
No portion of this manual or any artwork contained herein may be reproduced in
any shape or form without the express written consent of Harbor Freight Tools.
Diagrams within this manual may not be drawn proportionally. Due to continuing
improvements, actual product may differ slightly from the product described herein.
Tools required for assem bly and service may not be included.
Read this material before using this product.
Failure to do so can result in serious injury.
SAVE THIS MANUAL.

Page 2 For technical questions, please call 1-888-866-5797. Item 64023
Specifications
Total Combined Weight Capacity
(Evenly distributed from bottom up.) 1200 lb

Page 3For technical questions, please call 1-888-866-5797.Item 64023
IMPORTANT SAFETY INFORMATION
Assembly Precautions
1. Assemble only according to these instructions.
Improper assembly can create hazards.
2. Wear ANSI-approved safety goggles and
heavy-duty work gloves during assembly.
3. Keep assembly area clean and well lit.
4. Keep bystanders out of the area during assembly.
5. Do not assemble when tired or when under the
influence of alcohol, drugs or medication.
6. Weight capacity and other product capabilities apply
to properly and completely assembled product only.
7. Assemble on a flat, level, hard and smooth surface
capable of safely supporting loaded Workbench.
Use Precautions
TO PREVENT SERIOUS INJURY AND DEATH FROM TIPPING:
1. LOAD FROM BOTTOM UP ONLY.
2. DO NOT SIT, STAND OR CLIMB ON THIS ITEM.
3. This product is not a toy nor a toy chest.
Do not allow children to play with or near this item.
4. Do not use for food preparation.
5. Do not exceed 1200 lb weight capacity,
evenly distributed from bottom up.
Uneven loading causes tipping.
Be aware of dynamic loading!
Sudden load movement may briefly create
excess load causing product failure.
6. Empty, close, and lock Drawer before moving.
7. Use only on a flat, level, hard and smooth surface
capable of safely supporting a fully loaded
Workbench. Do not roll Workbench over concrete
seams or other rough/uneven surfaces.
8. Do not lift using handle(s).
Do not move or lift while loaded.
9. Lock Swivel Casters after moving.
10. Do not mount on truck bed or
any other moving object.
11. Use as intended only.
12. Inspect before every use;
do not use if parts are loose or damaged.
13. Maintain product labels and nameplates.
These carry important safety information.
If unreadable or missing, contact
Harbor Freight Tools for a replacement.

Page 4 For technical questions, please call 1-888-866-5797. Item 64023
Assembly Instructions
Read the ENTIRE IMPORTANT SAFETY INFORMATION section at the beginning of this document
including all text under subheadings therein before set up or use of this product.
1. Assemble on a flat, level, hard and smooth
surface capable of safely supporting
a fully loaded Workbench.
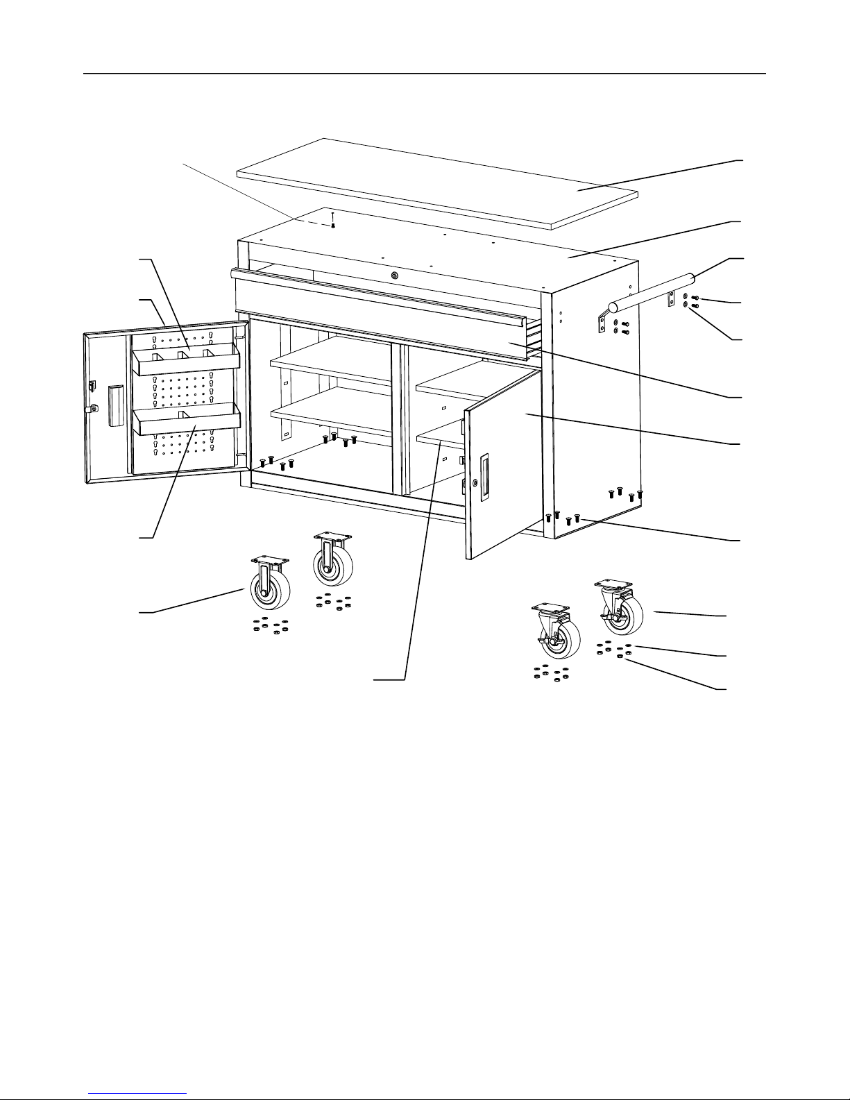
2. Attach Handle (4) to either side of Workbench
using four Handle Bolts (5) and Washers (6).
Handle
Bolt (5)
Handle
(4)
Flat
Washer
(5)
3. Attach two Swivel Casters (10) to the same end
as Handle using eight Caster Bolts (9) from the
inside of the cabinet down, secured with eight
Flat Washers (11) and eight Caster Nuts (12).
Swivel
Caster (10)
brake
lever
Caster
Bolt (9)
Caster Nut (12)
Flat Washer (11)
4. Attach two Fixed Casters (14) to the opposite end
from Handle using eight Caster Bolts (9) from the
inside of the cabinet down, secured with eight
Flat Washers (11) and eight Caster Nuts (12).
5. Lock the Swivel Casters by
depressing the brake levers.
6. Install the four tabs on each Shelf (13) into the
racks on the sides and center of the Cabinet
to install them at the desired heights.
tab
rack
7. Use the two hooks on the back of each Bin (15/17) to
install it in the holes on the inside of one of the doors.
hook
Bin (15/17)

Page 5For technical questions, please call 1-888-866-5797.Item 64023
Operation Instructions
Read the ENTIRE IMPORTANT SAFETY INFORMATION section at the beginning of this document
including all text under subheadings therein before set up or use of this product.
1. Empty Drawer.
2. Close Drawer and lock it.
3. Unlock Swivel Casters.
4. Roll Workbench to a flat, level, hard and smooth
surface capable of safely supporting a fully
loaded Workbench. Do not roll Workbench over
concrete seams or other rough/uneven surfaces.
5. Lock Swivel Casters.
6. Unlock Drawer and fill Workbench evenly, from
bottom to top. Do not exceed weight capacities.
Maintenance and Servicing
Procedures not specifically explained in this manual must
be performed only by a qualified technician.
TO PREVENT SERIOUS INJURY FROM TOOL FAILURE:
Do not use damaged equipment. If any part becomes damaged,
have the problem corrected before further use.
1. PERIODICALLY, inspect the general
condition of the Workbench. Check for:
• loose hardware,
• misalignment or binding of moving parts,
• brake operation,
• caster swivel function and movement,
• cracked or broken parts,
• any other condition that may
affect its safe operation.
2. Wipe external surfaces of the
Workbench with clean cloth.
3. Lubricate Drawer Slides as needed.

Page 6 For technical questions, please call 1-888-866-5797. Item 64023
PLEASE READ THE FOLLOWING CAREFULLY
THE MANUFACTURER AND/OR DISTRIBUTOR HAS PROVIDED THE PARTS LIST AND ASSEMBLY DIAGRAM
IN THIS DOCUMENT AS A REFERENCE TOOL ONLY. NEITHER THE MANUFACTURER OR DISTRIBUTOR
MAKES ANY REPRESENTATION OR WARRANTY OF ANY KIND TO THE BUYER THAT HE OR SHE IS
QUALIFIED TO MAKE ANY REPAIRS TO THE PRODUCT, OR THAT HE OR SHE IS QUALIFIED TO REPLACE
ANY PARTS OF THE PRODUCT. IN FACT, THE MANUFACTURER AND/OR DISTRIBUTOR EXPRESSLY
STATES THAT ALL REPAIRS AND PARTS REPLACEMENTS SHOULD BE UNDERTAKEN BY CERTIFIED AND
LICENSED TECHNICIANS, AND NOT BY THE BUYER. THE BUYER ASSUMES ALL RISK AND LIABILITY
ARISING OUT OF HIS OR HER REPAIRS TO THE ORIGINAL PRODUCT OR REPLACEMENT PARTS
THERETO, OR ARISING OUT OF HIS OR HER INSTALLATION OF REPLACEMENT PARTS THERETO.
Parts List and Diagram
Parts List
Record Serial Number Here:
Note: If product has no serial number, record
month and year of purchase instead.
Note: Some parts are listed and shown for
illustration purposes only, and are not available
individually as replacement parts.
Part Description Qty
1 Wood Top 1
2 Cabinet 1
3 Board Bolt M6 x 12 8
4 Handle 1
5 Handle Bolt M6 x 20 4
6 Flat Washer M6 4
7 Drawer 1
8 Right Door 1
9 Caster Bolt M8 16
Part Description Qty
10 Swivel Caster 2
11 Flat Washer M8 16
12 Lock Nut M8 16
13 Shelf 4
14 Fixed Caster 2
15 Double Bin 2
16 Left Door 1
17 Quadruple Bin 2

Page 7For technical questions, please call 1-888-866-5797.Item 64023
Assembly Diagram
2
1
3
4
5
6
8
7
9
10
11
12
14
13
15
17
16

3491 Mission Oaks Blvd. • PO Box 6009 • Camarillo, CA 93011 • 1-888-866-5797
Limited 90 Day Warranty
Harbor Freight Tools Co. makes every effort to assure that its products meet high quality and durability standards,
and warrants to the original purchaser that this product is free from defects in materials and workmanship for the
period of 90 days from the date of purchase. This warranty does not apply to damage due directly or indirectly,
to misuse, abuse, negligence or accidents, repairs or alterations outside our facilities, criminal activity, improper
installation, normal wear and tear, or to lack of maintenance. We shall in no event be liable for death, injuries
to persons or property, or for incidental, contingent, special or consequential damages arising from the use of
our product. Some states do not allow the exclusion or limitation of incidental or consequential damages, so the
above limitation of exclusion may not apply to you. THIS WARRANTY IS EXPRESSLY IN LIEU OF ALL OTHER
WARRANTIES, EXPRESS OR IMPLIED, INCLUDING THE WARRANTIES OF MERCHANTABILITY AND FITNESS.
To take advantage of this warranty, the product or part must be returned to us with transportation charges
prepaid. Proof of purchase date and an explanation of the complaint must accompany the merchandise.
If our inspection verifies the defect, we will either repair or replace the product at our election or we may
elect to refund the purchase price if we cannot readily and quickly provide you with a replacement. We will
return repaired products at our expense, but if we determine there is no defect, or that the defect resulted
from causes not within the scope of our warranty, then you must bear the cost of returning the product.
This warranty gives you specific legal rights and you may also have other rights which vary from state to state.
Tabla de contenidos
Otros manuales de Almacenamiento de herramientas de Yukon




















