
Le détecteur passif de mouvements à infrarouge
IR261 est conçu pour des applications de surveillance
d’intérieur dans les systèmes d’alarmes anti-intrusion.
Le montage au plafond permet de voir par-dessus les
obstacles qui occulteraient le champ de détection d’un
détecteur mural.
Un double capteur pyroélectrique est placé dans le
foyer d’une lentille multi-focale qui divise le champ
d’action en différentes zones de détection. Cette
disposition permet d’obtenir 33 zones de surveillance
semblables à des rideaux .
L’énergie infrarouge environnante sert de référence
au détecteur. Tant que cette référence est stable, le
relais d’alarme reste sous tension. Lorsqu’une
personne pénètre dans l’une des zones sensibles ou
la quitte, le détecteur détecte une rapide modification
de la quantité d’énergie infrarouge reçue (chaleur). Le
signal électrique résultant provenant du capteur est
traité pour déclencher l’alarme.
Dans les conditions d’environnement spécifiées, le
détecteur est sensible aux intrusions sur une vaste
plage de vitesses de déplacement. La capacité de
détection diminue cependant si la différence entre la
température de l’arrière-plan et celle de l’intrus est
minime. De faibles modifications du niveau de
l’énergie infrarouge, engendrées par exemple par le
changement de température des murs, etc., sont
automatiquement compensées par le détecteur et ne
déclenchent pas d’alarme.
Instructions d’installation
Montez le détecteur sur un plafond stable exempt de
toute vibration.
Plusieurs détecteurs peuvent être installés dans une
même pièce. Des zones qui se chevauchent ne
créent pas d’alarmes intempestives.
Orientez le détecteur de façon à ce que la direction
principale attendue des mouvements d’un intrus se
trouve à l’angle droit par rapport aux zones de
surveillance.
Le détecteur ne réagira pas aux mouvements qui se
produisent derrière les murs, les meubles de
grandes dimensions, les piliers, les grandes plantes
ou les vitres.
Ne pas orienter les zones sensibles vers des
objets sujets à de rapides changements de
température, comme les radiateurs, les surfaces
chauffées, les sorties d’air conditionné, les
fenêtres.
Hauteur de montage entre 2m et 5m.
Evitez les hauteurs supérieures à 5m car la
sensibilité de la détection s’en trouve réduite.
Montage
1.Ouvrez le détecteur .
- Poussez le levier en direction de la flèche, puis
simplement retirez le capteur de l’embase du
détecteur.
2.Faites passer le câble à travers l’ouverture située
dans le socle du détecteur ou à travers l’entrée de
câble située sur le côté .
3.Montez le socle du détecteur sur une surface stable
à l’intérieur de la pièce. Alignez approximativement
le socle sur les trous oblongs.
4.Connectez les bornes . Les bornes sont
spécialement adaptées aux câbles à conducteur
unique. Certaines des instructions suivantes
doivent être respectées le cas échéant lors de
l’utilisation de câbles à plusieurs conducteurs :
- le fil dénudé doit être replié avant d’être inséré dans
la borne,
- des embouts de brins doivent être fixés aux
extrémités des câbles pour leur insertion dans la
borne.
5.Un alignement initial du détecteur est effectué lors
du montage de celui-ci sur l’embase.
6.Procédez au réglage de la sensibilité, voir
« Programmation ».
7.Insérez le capteur dans l’embase en le faisant
pivoter.
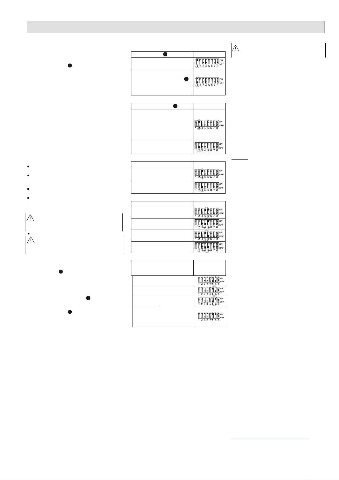
Programmation
LED d’alarme active / inactive
s’allume avec l’alarme, par
défaut
En raccordant la borne 7 (L/C)
avec -12V, la LED est activée.
Il est ainsi possible de
commuter des LED active /
inactive avec des commutateurs
externes
Mémoire d’alarme
Lors d’une alarme, la LED jaune
s’allume clignote pendant 3
minutes et reste ensuite
allumée pendant 47 minutes.
Puis la mémoire d’alarme est
automatiquement remise à zéro.
La mémoire est OFF, par défaut
Type du contact d’alarme
Le contact du relais est
normalement ouvert, lors d’une
alarme il se ferme
Le contact du relais est
normalement fermé, lors d’une
alarme il s’ouvre, par défaut
Sensibilité de détection
Nombre d’impulsions de déclenchement d’alarme
Nombre d’impulsions après une
première impulsion
Recommandé
pour prévenir
des fausses
alarmes
causées par les
variations de
température
Mise en service
Vérifiez que l’interrupteur de programmation 1 est
en position [ON], voir «Programmation».
1.Mettez sous tension.
2.Attendez une minute jusqu’à ce que la LED rouge
d’alarme ne clignote plus.
3.Vérifiez que tout le champ d’action déclenche
l’alarme (test de déplacement). Traversez la zone
de surveillance en marchant dans le sens des
flèches à environ 1 pas par seconde.
- Observez l’indicateur d’alarme et attendez que la
LED rouge s’éteigne après chaque alarme. Le
détecteur doit déclencher l’alarme même lorsque la
zone de surveillance la plus lointaine est traversée.
4.Lorsque le test de déplacement est terminé,
assurez-vous que le détecteur est revenu en mode
de fonctionnement, c’est-à-dire en vérifiant la
position des interrupteurs de programmation.
Entretien
Renouvelez régulièrement le test de déplacement et
vérifiez l’état de propreté du capot pour vous assurer
la fiabilité d’exploitation.
Nota : toute modification ou manipulation au niveau
des composants du détecteur entraîne une perte des
fonctions garanties et de l’homologation.
Dépannage
Le détecteur ne réagit pas
- Contrôlez la tension d’alimentation et la polarité.
Pas d’affichage d’alarme au détecteur
- Contrôlez les interrupteurs de programmation.
Pas d’alarme
- Contrôlez le relais d’alarme.
- Contrôlez la ligne d’alarme.
Alarme permanente ou alarme temporaire
Activez l’indicateur d’alarme du détecteur [ON], puis
couvrez le capot du détecteur avec un carton et
attendez deux minutes.
- Si la LED rouge s’allume, le détecteur est
défectueux.
- Si la LED rouge ne s’allume pas :
- localisez les sources d’interférence dans le champ
d’action et éliminez-les.
- vérifiez les réglages de sensibilité.
- repositionnez le détecteur.
Portée insuffisante
- Vérifiez l’état de propreté du capot.
- Vérifiez le montage selon les instructions
d’installation.
Caractéristiques techniques
Tension d’alimentation (nom. 12V) ......10,5...30,0Vcc
-..ondulation maximale (0...100Hz)..................2,0Vpp
Consommation de courant (repos, à 12V).........25mA
-.. ......................................................+2mA at L/C use
Sortie d’alarme ...............................relais électronique
- contact de relais ....................... 24V(AC/DC) / 250mA
...........................................s’ouvre en cas d’alarme
- temps de maintien de l’alarme .............................2s
Indication d’alarme / test de déplacement ........... LED
Contact de sabotage
..................fermé lorsque le couvercle est en place
- charge de contact..................... 30V(AC/DC) / 250mA
Mode d’évaluation .......................« HIGH » / « LOW »
Sensibilité réglable.......................................4 niveaux
Conditions ambiantes :
- température de fonctionnement ......-15 °C...+55 °C
- température de stockage.................-15 °C...+55 °C
- humidité de l’air (EN60721) ....................<95 % Hr
Informations de commande
IR261 Détecteur infrarouge passif VBPZ:5667770001
Déclaration de conformité CE
Par la présente, Vanderbilt International (IRL) Ltd
déclare que le type d'équipement considéré est en
conformité avec toutes les directives UE applicables
relatives au marquage CE. Il sera en conformité avec
la directive 2014/30/UE (directive compatibilité
électromagnétique (CEM)) à compter du 20.04.2016.
Le texte intégral de la déclaration de conformité aux
directives de l'Union européenne est disponible à
http://pcd.vanderbiltindustries.com/doc/SPC
Instructions d’utilisation pour IR261