
10
recorded media. If no Timecode information is detected, it will be displayed as “UNLOCKED”.
Waveform(Y, Cb, Cr, R,G ,B)
Under SDI and HDMI input, totally 6 kinds of waveforms which are Y, Cb, Cr, R, G and B can be
selected so as to check the brightness and chroma distribution.
Vector
The displayed vector scope pattern is available under both SDI and HDMI, represents saturation
as distance from the center of the circle, and hue as the angle, in standard position, around it.
Histogram(R.G.B)
The histogram is a bar graph that shows the distribution of luminance values in the picture.
There’re R, G, B histograms that individually displayed simultaneously, available under both SDI and
HDMI.
Internal Color Bar
Under SDI and HDMI input, it has 100% internal color bar which helps to analyze the monitor color
and adjust the display parameter.
User can set function Keys F1~F4 or GPI pins as “color bar” to turn on or off this function.
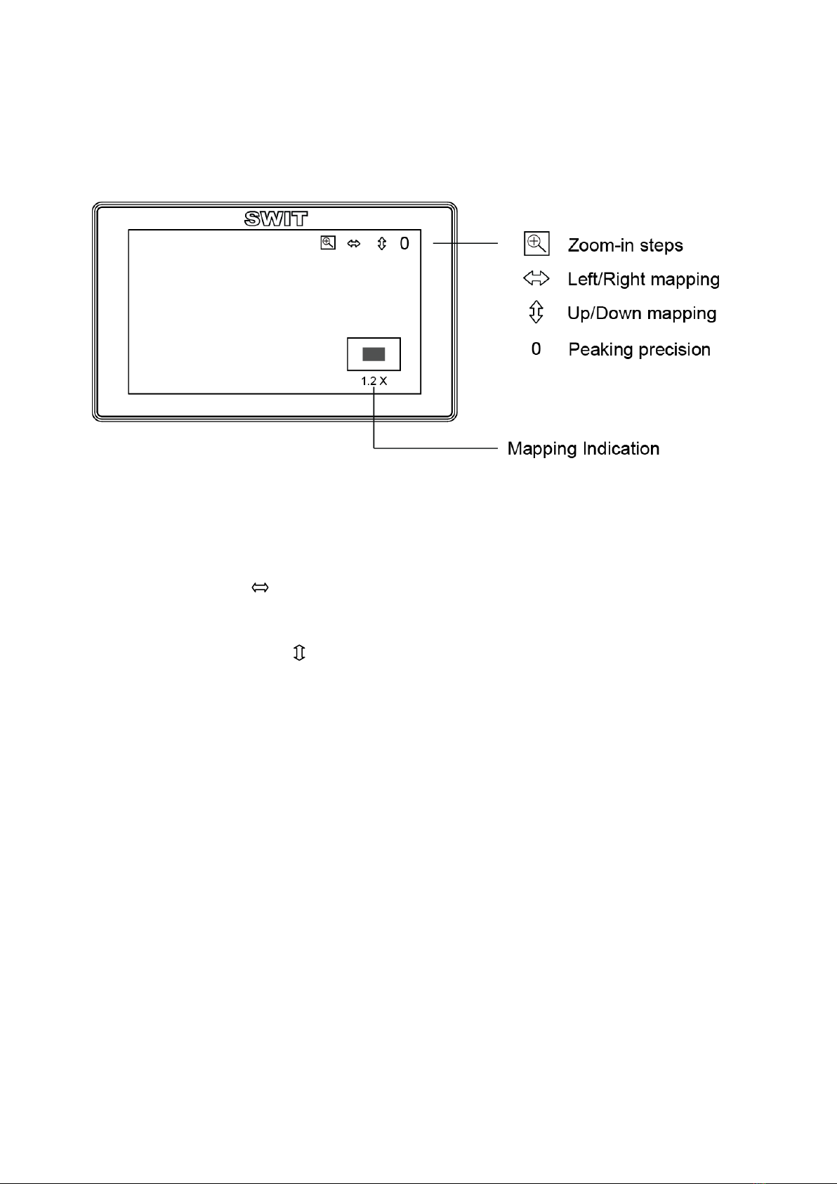
Peaking focus assist (red/blue switch)
The Peaking focus assist function is to mark the sharpest edges of the image with red or blue
color under SDI and HDMI input, for users to check if the subjects are focused.
User can set function Keys F1~F4 or GPI pins as “Focus Assist” to turn on or off this function
Zebra stripes
Zebra Stripes are used to check if the image is over exposed or not by showing black and white
lines on the monitor. It is considered over exposed when luminance value exceeds 90%.
User can set function Keys F1~F4 as “Zebra” to turn on or off this function.
Freeze Frame
The freeze frame is to capture and display the current broadcast frame.
User can set function Keys F1~F4 as “Freeze Frame” to turn on or off this function
R/G/B/Mono
R/G/B/Mono is to display only the blue/red/green primary signal or the luminance signal only so as
to monitor the image noise.
User can set function Keys F1~F4 as “R/G/B/Mono” to turn on or off this function.
False Color
The false color is used to aid in the setting of camera exposure. Under false color mode, there’s a
color chart on the bottom of screen for reference. The color from the dark to the bright will be
displayed as blue, cyan, green, yellow, orange and red in a consecutive way. User can set
function Keys F1~F4 as “False color” to turn on or off this function.
AFD(SDI)
It is the abbreviation of active format description. AFD is to display the SDI embedded AFD
information graphically on the screen.
H/V Delay (SDI)
Under SDI input, H/V Delay can be used to display line/field blanking signal, and to observe the
horizontal and vertical synchronous signal.
Image flip
Horizontal, vertical, horizontal and vertical two-way image flip function.