
Form ZCE480 3Date 2003June20/C
ANWEISUNGEN FÜR SIOUX SCHWINGSCHLEIFER 1290, 1290LK, 1290L UND 1297
DRUCKLUFTZUFUHR
Einwandfreie Funktion und lange Lebensdauer setzen die Versorgung mit sauberer, Trockenschmierluft mit einem Druck bis 6,2 Bar voraus. Die Verwendung
eines Leitungsfilters, Druckreglers und Ölers wird empfohlen.
Vor dem Anschließen des Werkzeugs den Luftschlauch durchblasen, um eventuell vorhandenes Wasser und Schmutz zu entfernen.
SCHLAUCH UND SCHLAUCHANSCHLÜSSE
Empfohlen wird ein Druckluftzufuhrschlauch mit 10 mm Innendurchmesser. Verlängerungsschläuche sollten einen Innendurchmesser von mindestens 13 mm
haben. Empfohlen werden Kupplungen und Armaturen mit 10 mm Innendurchmesser.
SCHMIERUNG
Luftdruckmotor
Luftmotoröl Sioux Nr. 288 verwenden. Es empfiehlt sich ein Luftleitungsöler eingestellt auf 1-2 Tropfen pro Minute. Wird kein Luftleitungsöler verwendet, sind
zweimal täglich 2,4 ml (0,8 oz oder 25 bis 30 Tropfen) Öl am Lufteinlaß einzufüllen.
Getriebegehäuse
Das Getriebe nach jeweils 40 Betriebsstunden mit SIOUX Schmiermittel Nr. 1232 schmieren. Das Schmiermittel durch den Schmiernippel am Ende der Welle
einführen.
ALLGEMEINER BETRIEB
Werkzeug durch Ziehen des Abzugs oder Herunterdrücken des Hebels einschalten.
Sandschleifscheibe stets leicht angewinkelt zum Werkstück ansetzen.
Sandschleifscheibe nicht zu stark andrücken. Durch zu starkes Andrücken wird die Drehzahl reduziert. Schleifmaschinen arbeiten am besten mit hoher Drehzahl.
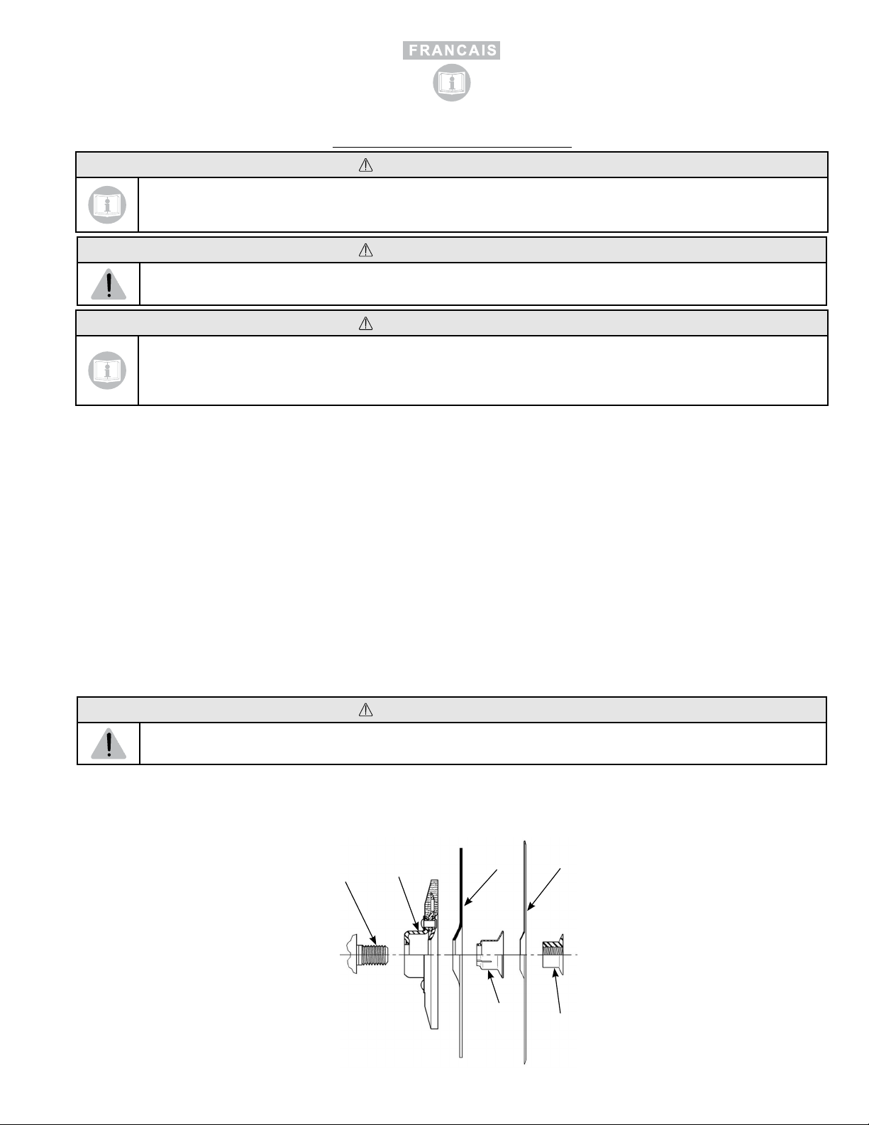
Sandschleifscheibe befestigen:
ANWEISUNGEN FÜR STÜTZSCHEIBE
1. Schleifscheibenhalter, Stützscheibe und Haltering auf die Welle aufsetzen.
2. Die Schleifscheibe auf die Welle aufsetzen.
3. Die Sicherungsmutter auf die Welle schrauben.
4. Die Welle mit dem 1-Zoll (24,5 mm)-Schlüssel halten und die Schleifscheibe drehen, bis sie fest auf der Welle sitzt.
Übersetzung Der Original Anleitungen
BEWAHREN SIE DIESE ANLEITUNG AUF!
Lesen Sie diese Bedienungsanleitung, bevor Sie dieses Werkzeug in Betrieb nehmen.
WARNUNG
Unsachgemäßer Gebrauch von Werkzeugen kann zu gefährlichen Situationen führen.
Jede Person, die dieses Werkzeug gebraucht, wartet, Zubehör auswechselt oder in der Nähe dieses Werkzeugs arbeitet, muss diese
Sicherheitshinweise lesen, verstanden haben und befolgen!
Unsachgemäßer Gebrauch von Werkzeugen kann zu Verletzungen oder zum Tod führen.
WARNUNG
An der Druckluft angeschlossene Werkzeuge können unerwartet anspringen, während Justierungen oder Wartungsarbeiten am Werkzeug
ausgeführt werden oder wenn Zubehör ausgewechselt wird.
Bevor Sie Justierungen oder Wartungsarbeiten am Werkzeug ausführen oder Zubehör auswechseln, entfernen Sie das Werkzeug
immer von der Druckluft, und aktivieren Sie den Auslöser, um Restluft abzulassen.
Unerwartet anspringende Werkzeuge können Verletzungen verursachen.
WARNUNG
Diese Sandschleifmaschine ist nicht für den Gebrauch mit einer Hartschleifscheibe geschützt.
Die Sandschleifmaschine darf nicht mit einer Hartschleifscheibe verwendet werden.
Die Verwendung dieser Sandschleifmaschine mit einer Hartschleifscheibe kann zu Verletzungen führen.
WERKZEUGWELLE
SICHERUNGS-
MUTTER
SCHLEIFSCHEIBE
HALTERING
SCHLEIFSCHEIBENHALTER STÜTZS-
CHEIBEN
WARNUNG
Die Maschine stets von der Druckluftzufuhr trennen, bevor die Sandschleifscheibe befestigt oder ausgewechselt wird!