b
First edition: Oct. 2019
Q05296700
©2019 SATO Corporation
Quick Guide
Kurzanleitung
Guía rápida
Guide rapide
Guida rapida
Snelgids
Skrócona instrukcja
Guia rápido
Краткое руководство
Snabbguide
퀵 가이드
A
D
D
C
E
B
Barcode Printer
English
This is the quick start guide for your rst operation.
For detail, refer to the operator manual available on your region’s website (www.satoworldwide.com).
Illustrations used in this quick guide is thermal transfer model unless otherwise specied.
Accessories ( )
CT4-LX AC adapter Power cord* Quick guide Global Warranty Program leaflet
Documents Core adapters (2) Ribbon core (3 types)
* The shape of power plug varies depending on the region.
Parts Identication ( A)
NFC built-in antenna LCD/Touch panel LED indicator / (Power/Home) button
Media discharge outlet Cover open latch DC input connector USB connector (Type
B) USB connector (Type A) LAN connector Media loading port Print head
USB connector (Type A) * (ribbon cover open) mark Top cover Media guide
Platen roller
* This USB connector is inside the top cover.
Options ( B)
Cutter unit Dispenser unit
Interface Options
• RS-232C for connection with RS-232C cable
• WLAN/Bluetooth for wireless connection
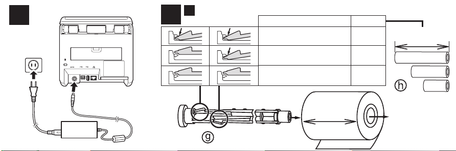
Connecting the AC Adapter ( C)
1Connect the power cord to the AC adapter .
2Connect the plug of the AC adapter to the DC input connector of the CT4-LX .
3Plug the power cord into an AC outlet.
Setting the Carbon Ribbon (Thermal transfer model only) ( D)
aSetting the Core adapter with the carbon ribbon
bLoading the Carbon Ribbon
1"# Open the top cover and $pull the mark of the ribbon unit (C). The ribbon cover (A)
is drawn forward. %& Set the carbon ribbon (B) on the ribbon cover.
2"Attach the carbon ribbon to the ribbon core with adhesive tape (D) or the like, and #
wind them in the direction of the arrow a few rounds.
3"# Set the ribbon core.
4"Close the ribbon cover (A), and #turn the dial (E) to wind the carbon ribbon a few
rounds. $Close the top cover.
Loading Media ( E)
• When the media roll is installed properly, the ap (F) will be vertical.
• Pass the media under the tab (G) at the edge of the media guide .
• Use only the supply products specied by SATO.
• Adjust the media guide to the media size.
Turning on the Power
Press the /(Power/Home) button .
Turning off the Power
Press the /(Power/Home) button , then tap ✔on the LCD/Touch panel .
Basic Specications
Print method: Direct thermal, Thermal transfer
Head density (Resolution): 203 dpi/305 dpi
Model name: CT4-LX
Dimensions: 178 (W) x 238 (D) x 214 (H) mm (7 x 9.4 x 8.4 in.) (not including protruding parts)
Weight: Direct thermal model: Approx. 3.3 kg (7.3 lb), Thermal transfer model: Approx. 3.4 kg
(7.5 lb) (not including media and options)
Power consumption:
Input power voltage condition: AC 100 - 240 V, 50 - 60 Hz
At peak: 155 VA/95 W (AC100V, 30 % printing ratio)
187 VA/88 W (AC240V, 30 % printing ratio)
Standby: 18 VA/8 W (AC100V), 24 VA/8 W (AC240V)
Power requirements: AC adapter
Input voltage: AC 100 - 240 V, 50 - 60 Hz
Output voltage: DC 24 V ±5 % 2.7 A (DC Symbol )
Maker: Lead Year Enterprise Co., Ltd.
Model: TG16-0064-01
Environmental conditions (Temperature/Humidity):
Operating: 0 - 40 ºC (32 - 104 ºF), 30 - 80 % RH (non-condensing)
Storage: −10 - 60 ºC (14 - 140 ºF), 15 - 90 % RH (non-condensing)
Technical Specication ([B] Bluetooth [W] Wireless LAN [N] NFC)
Frequency band: [B] 2402 - 2480 MHz, [W] 2412 - 2472 MHz, 5180 - 5825 MHz, [N] 13.56 MHz,
Modulation: [B] GFSK, Π/4 DQPSK, 8DQPSK, [W] DSSS, OFDM, [N] NFC Type 2 Tag (Passive),
Channel Spacing: [B] 1 MHz, [W] 5, 20, 40, 80 MHz, Max. output power*: [B] 4 dBm,
[W] 20.5 dBm, Antenna gain (2.4 GHz)*: [B] +5 dBi, [W] +5 dBi, Antenna gain (5 GHz)*:
[W] +5 dBi
* [N] Operating distance of up to 100 mm (depending on various parameters, such as eld strength
and antenna geometry)
To display the regulatory information on the LCD/Touch panel, tap “Ofine” - “ (Setting)” -
“Information” - “Regulatory.”
Deutsch
Dies ist die Kurzanleitung für Ihren ersten Betrieb.
Weitere Details nden Sie in der Betriebsanleitung, die auf der Webseite für Ihre Region
erhältlich ist (www.satoworldwide.com).
Die in dieser Kurzanleitung verwendeten Illustrationen zeigen das Thermotransfer-Modell,
sofern nicht anders angegeben.
Zubehör ( )
CT4-LX Netzteil Netzkabel* Kurzanleitung Weltweite Garantie Unterlagen
Kernadapter (2) Farbbandkern (3 Typen)
* Die Form des Netzsteckers ist je nach Region unterschiedlich.
Identizierung der Bauteile ( A)
Integrierte NFC-Antenne LCD/Touchpanel LED-Anzeige
/(An/Aus/Home)-Taste Etikettenauswurf Hebel zum Öffnen der Abdeckung
DC-Eingangsbuchse USB-Buchse (Typ B)
USB-Buchse (Typ A) LAN-Buchse Medien-Ladeöffnung Druckkopf
USB-Buchse (Typ A)* (Farbbandabdeckung offen)-Markierung Obere Abdeckung
Etikettenführung Andruckrolle
* Dieser USB-Anschluss bendet sich in der oberen Abdeckung.
Optional ( B)
Schneideeinheit Spendeeinheit
Schnittstellenoptionen
• RS-232C für Verbindung mit RS-232C-Kabel
• WLAN/Bluetooth für Drahtlosverbindung
Anschluss des Netzteils ( C)
1Schließen Sie das Netzkabel an das Netzteil an.
2Schließen Sie den Netzstecker des AC-Adapters an den DC-Eingangsbuchse des
CT4-LX an.
3Schließen Sie das Netzkabel an eine AC-Steckdose an.
Einstellen des Farbbands (Nur Thermotransfer-Modell) ( D)
aEinstellen des Kernadapters mit dem Farbband
bLaden des Farbbands
1"# Öffnen Sie die obere Abdeckung und $ziehen Sie an der -Markierung des
Farbbandgerätes (C). Die Farbbandabdeckung (A) wird nach vorne gezogen. %& Legen
Sie das Farbband (B) auf die Farbbandabdeckung.
2"Bringen Sie das Farbband mit Klebeband (D) oder dergleichem an dem Farbbandkern
an und #wickeln Sie es ein paar Umdrehungen in Pfeilrichtung.
3"# Legen Sie den Farbbandkern ein.
4"Schließen Sie die Farbbandabdeckung (A) und #drehen Sie die Drehscheibe (E), um
das Farbband ein paar Umdrehungen aufzuwickeln. $Schließen Sie die Obere Abdeckung.
Laden von Medien ( E)
• Wenn die Etikettenrolle richtig eingesetzt ist, steht die Lasche (F) vertikal.
• Führen Sie die Medien unter den Streifen (G) am Rand der Etikettenführung .
• Verwenden Sie nur die durch SATO spezizierten Produkte.
• Passen Sie die Etikettenführung an die Mediengröße an.
Einschalten des Stroms
Drücken Sie die / (An/Aus/Home)-Taste .
Ausschalten des Stroms
Drücken Sie die / (An/Aus/Home)-Taste und tippen Sie dann auf ✔auf dem LCD/
Touchpanel .
Grundlegende Spezikationen
Druckverfahren: Thermodirektmethode,Thermotransfer
Thermokopf-Druckdichte (Auösung) 203 dpi/305 dpi
Modellname: CT4-LX
Abmessungen: 178 (B) x 238 (T) x 214 (H) mm (ohne hervorstehende Teile)
Gewicht: Thermodirektmodell: Ca. 3,3 kg, Thermotransfer-Modell: Ca. 3,4 kg (ohne Medien
und Optional)
Leistungsaufnahme:
Eingangsspannungsbedingungen: AC 100 - 240 V, 50 - 60 Hz
Bei Spitzenwert: 155 VA/95 W (AC100V, 30 % Schwärzungsgrad)
187 VA/88 W (AC240V, 30 % Schwärzungsgrad)
Bereitschaftszustand:18 VA/8 W (AC100V), 24 VA/8 W (AC240V)
Spannungsversorgung: Netzteil
Eingangsspannung: AC100 - 240 V, 50 - 60 Hz
Ausgangsspannung: DC24 V ±5 % 2,7 A (DC-Symbol )
Hersteller: Lead Year Enterprise Co.,Ltd.
Modell: TG16-0064-01
Open Source Software
This printer product includes open source software applied to the open
source software license. Please see our web site for more information.
http://www.satoworldwide.com/licenses/OSS.aspx
a
Umgebungsbedingungen (Temperatur/Luftfeuchtigkeit):
Bei Betrieb: 0 - 40 ºC, 30 - 80 % Luftfeuchtigkeit (nicht kondensierend)
Bei Lagerung: −10 - 60 ºC, 15 - 90 % Luftfeuchtigkeit (nicht kondensierend)
Technische Spezikationen ([B] Bluetooth [W] Wireless LAN [N] NFC)
Frequenzband: [B] 2402 - 2480 MHz, [W] 2412 - 2472 MHz, 5180 - 5825 MHz, [N] 13,56 MHz,
Modulation: [B] GFSK, Π/4 DQPSK, 8DQPSK, [W] DSSS, OFDM, [N] NFC Type 2 Tag
(Passive), Kanalabstand: [B] 1 MHz, [W] 5, 20, 40, 80 MHz, Max. Ausgangsleistung*:
[B] 4 dBm, [W] 20,5 dBm, Antennengewinn (2,4 GHz)*: [B] +5 dBi, [W] +5 dBi,
Antennengewinn (5 GHz)*: [W] +5 dBi
* [N] Betriebsabstand von bis zu 100 mm (abhängig von verschiedenen Parametern wie Feldstärke
und Antennengeometrie)
Um die Regulierungsinformationen auf dem LCD/Touchpanel anzuzeigen, tippen Sie auf
„Ofine“ - „ (Einstellung)“ - „Information“ - „Regulatory“.
Das Gerät ist nicht für die Benutzung im unmittelbaren Gesichtsfeld am Bildschirmarbeitsplatz
vorgesehen.
Um störende Reexionen am Bildschirmarbeitsplatz zu vermeiden, darf dieses Produkt nicht im
unmittelbaren Gesichtsfeld platziert werden.
Español
El presente documento es la guía de inicio rápido para el primer uso.
Para obtener más información, consulte el manual de usuario disponible en el sitio web de su
región (www.satoworldwide.com).
Las ilustraciones usadas en esta guía rápida muestran el modelo de transferencia térmica, en
caso contrario se especicará.
Accesorios ( )
CT4-LX Adaptador de CA Cable de corriente* Guía rápida Especificaciones de
garantía Documentos Adaptadores de bobina (2) Núcleo de la cinta de transferencia
(3 tipos)
* La forma de la clavija varía en función de la región.
Identicación de las piezas ( A)
Antena NFC incorporada LCD/Panel táctil Indicador LED Botón /(Encendido/Inicio)
Salida de papel Palanca de apertura de la cubierta Conector de entrada de CC
Conector USB (tipo B) Conector USB (tipo A) Conector LAN
Puerto de carga de papel externo Cabezal de impresión Conector USB (tipo A) *
Marca (apertura de la cubierta de la cinta) Tapa superior Guía de etiquetas Rodillo
de goma
* Este conector USB se encuentra dentro de la cubierta superior.
Opciones ( B)
Unidad del cortador Unidad del dispensador
Opciones de interfaz
• RS-232C para conexión con cable RS-232C
• WLAN/Bluetooth para conexión inalámbrica
Conexión del adaptador de CA ( C)
1Conecte el cable de corriente al adaptador de CA .
2Conecte el enchufe del adaptador de CA al conector de entrada de CC del CT4-LX .
3Enchufe el cable de corriente a una toma de CA.
Conguración de la cinta de transferencia (solo modelo de transferencia
térmica) ( D)
aConfiguración del adaptador de bobina con la cinta de transferencia
bCarga de la cinta de transferencia
1"# Abra la tapa superior y $tire de la marca de la unidad de la cinta (C). La cubierta de
la cinta (A) se abre hacia delante. %& Coloque la cinta de transferencia (B) en la cubierta
de la cinta.
2"Conecte la cinta de transferencia al núcleo de la cinta de transferencia con cinta
adhesiva (D) o similar y # enróllela unas cuantas veces en la dirección de la echa.
3"# Coloque el núcleo de la cinta.
4"Cierre la cubierta de la cinta (A) y #gire el disco (E) para enrollar la cinta de
transferencia unas cuantas veces. $Cierre la tapa superior.
Carga de papel ( E)
• Cuando el rollo de etiquetas está bien instalado, la pestaña (F) quedará en posición vertical.
• Pase las etiquetas por debajo de la lengüeta (G) que está en el borde de la guía de
etiquetas .
• Utilice únicamente los productos suministrados y especicados por SATO.
• Ajuste la guía de etiquetas al tamaño del papel.
Encendido de la impresora
Pulse el Botón / (Encendido/Inicio) .
Apagado de la impresora
Pulse el Botón / (Encendido/Inicio) y, a continuación, toque ✔en el LCD/Panel táctil .
Especicaciones básicas
Método de impresión: Método térmico directo,Transferencia Térmica
Densidad de cabezales (resolución): 203 dpi/305 dpi
Nombre del modelo: CT4-LX
Dimensiones: 178 (An) x 238 (P) x 214 (Al) mm (7 x 9.4 x 8.4 in.) (sin incluir las partes que
sobresalen)
Peso: Modelo térmico directo: Aprox. 3,3 kg (7.3 lb), Modelo de transferencia térmica: Aprox.
3,4 kg (7.5 lb) (sin incluir el papel ni los accesorios)
Consumo de energía:
Condiciones de voltaje de entrada de corriente: CA 100 - 240 V, 50 - 60 Hz
Máximo: 155 VA/95 W (CA 100 V, relación de impresión del 30 %)
187 VA/88 W (CA 240 V, relación de impresión del 30 %)
En standby: 18 VA/8 W (CA 100 V), 24 VA/8 W (CA 240 V)
Requisitos de alimentación de corriente: Adaptador de CA
Voltaje de entrada: CA de 100 - 240 V, 50 - 60 Hz
Voltaje de salida: CC de 24 V ±5 % 2,7 A (Símbolo de CC )
Fabricante: Lead Year Enterprise Co.,Ltd.
Modelo: TG16-0064-01
Condiciones ambientales (temperatura/humedad):
En funcionamiento: 0 - 40 ºC (32 - 104 ºF), 30 - 80 % RH (sin condensación)
En almacenaje: −10 - 60 ºC (14 - 140 ºF), 15 - 90 % RH (sin condensación)
Especicaciones técnicas ([B] Bluetooth [W] LAN inalámbrica [N] NFC)
Bandas de frecuencias: [B] 2402 - 2480 MHz, [W] 2412 - 2472 MHz, 5180 - 5825 MHz,
[N] 13,56 MHz, Modulación: [B] GFSK, Π/4 DQPSK, 8DQPSK, [W] DSSS, OFDM, [N] NFC
Type 2 Tag (Passive), Separación entre canales: [B] 1 MHz, [W] 5, 20, 40, 80 MHz, Potencia
máx. de salida*: [B] 4 dBm, [W] 20,5 dBm, Ganancia de antena (2,4 GHz)*: [B] +5 dBi,
[W] +5 dBi, Ganancia de antena (5 GHz)*:[W] +5 dBi
* [N] Distancia de alcance de hasta 100 mm (en función de distintos parámetros, como intensidad
de campo o geometría de antena)
Para visualizar la información normativa en el LCD/Panel táctil, toque “Ofine” -
“(Conguración)” - “Information” - “Regulatory”.
Français
Ceci est le guide de démarrage rapide pour la première utilisation.
Pour plus de détails, reportez-vous au manuel de l’opérateur sur le site Web de votre région
(www.satoworldwide.com).
Les illustrations utilisées dans ce guide rapide proviennent du modèle de transfert thermique, sauf
indication contraire.
Accessoires ( )
CT4-LX Adaptateur secteur Cordon d’alimentation* Guide rapide Notice du
programme de garantie mondiale Documents Adaptateurs de noyau (2) Mandrin de
ruban (3 types)
* La forme de la che d’alimentation varie en fonction de la région.
Nomenclature ( A)
Antenne NFC intégrée Écran LCD/tactile Indicateur LED Interrupteur /(Mise sous
tension/Accueil) Sortie Étiquette Loquet d’ouverture du capot Connecteur d’entrée CC
Connecteur USB (Type B) Connecteur USB (Type A) Connecteur LAN
Overture pour chargement des étiquettes Tête d’impression Connecteur USB (Type A)*
Marque (ouverture du capot du ruban) Capot supérieur Guide d’étiquette Rouleau
d’entrainement
* Ce connecteur USB se trouve à l’intérieur du capot supérieur.
Options ( B)
Unité de massicot Unité de distributeur
Options d’interface
• RS-232C pour une connexion avec le câble RS-232C
• WLAN/Bluetooth pour une connexion sans fil
Connexion de l’adaptateur secteur ( C)
1Branchez le cordon d’alimentation à l’adaptateur secteur .
2 Branchez la che de l’adaptateur secteur au connecteur d’entrée CC du CT4-LX .
3Branchez le cordon d’alimentation à une prise secteur.
Réglage du ruban carbone (modèle de transfert thermique uniquement) ( D)
aRéglage de l’adaptateur de noyau pour le ruban carbone
bChargement du ruban carbone
1"# Ouvrez le capot supérieur et $tirez la marque de l’unité de ruban (C). Le capot du
ruban (A) est tiré vers l’avant. %& Installez le ruban carbone (B) sur le capot du ruban.
2"Fixez le ruban carbone au mandrin de ruban à l’aide de ruban adhésif (D), ou similaire,
et # faites-les tourner dans le sens de la èche.
3"# Installez le mandrin de ruban.
4"Fermez le capot du ruban (A), et #tournez la molette (E) pour faire tourner le ruban
carbone.$Fermez le capot supérieur.
Chargement des étiquettes ( E)
• Lorsque le rouleau d’étiquettes est installé correctement, l’onglet (F) est à la verticale.
• Passez les étiquettes sous la languette (G) au bord du guide d’étiquette .
• N’utilisez que les produits fournis et spéciés par SATO.
• Ajustez le guide d’étiquette à la taille de l’étiquette.
Mise sous tension
Appuyez sur Interrupteur / (Mise sous tension/Accueil) .
Mise hors tension
Appuyez sur Interrupteur / (Mise sous tension/Accueil) , puis appuyez sur ✔sur l’écran
LCD/tactile .
Spécications de base
Méthode d’impression : Méthode thermique directe, Transfert thermique
Densité de tête (Résolution) : 203 dpi/305 dpi
Nom de modèle : CT4-LX
Dimensions : 178 (L) x 238 (P) x 214 (H) mm (7 x 9.4 x 8.4 po.) (parties saillantes non
incluses)
Poids : Modèle thermique direct : environ 3,3 kg (7.3 lb), modèle de transfert thermique :
environ 3,4 kg (7.5 lb) (étiquettes et options non incluses)
Puissance consommée :
En crête : 155 VA/95 W (100 V CA, rapport d’impression 30 %)
187 VA/88 W (240 V CA, rapport d’impression 30 %)
Veille : 18 VA/8 W (100 V CA), 24 VA/8 W (240 V CA)
Puissance requise : Adaptateur secteur
Tension d’entrée : CA 100 - 240 V, 50 - 60 Hz
Tension de sortie : CC 24 V ±5 % 2,7 A (Symbole CC )
Fabricant : Lead Year Enterprise Co.,Ltd.
Modèle : TG16-0064-01
Conditions d’utilisation (Température/Humidité) :
En service : 0 - 40 ºC (32 - 104 ºF), 30 - 80 % HR (sans condensation)
En stockage : −10 - 60 ºC (14 - 140 ºF), 15 - 90 % HR (sans condensation)
Spécications techniques ([B] Bluetooth [W] LAN Sans l [N] NFC)
Bandes de fréquences: [B] 2402 - 2480 MHz, [W] 2412 - 2472 MHz, 5180 - 5825 MHz,
[N] 13,56 MHz, Modulation: [B] GFSK, Π/4 DQPSK, 8DQPSK, [W] DSSS, OFDM, [N] NFC
Type 2 Tag (Passive), Espacement des canaux: [B] 1 MHz, [W] 5, 20, 40, 80 MHz, Puissance
de sortie max.*: [B] 4 dBm, [W] 20,5 dBm, Gain d’antenne (2,4 GHz)*: [B] +5 dBi, [W] +5 dBi,
Gain d’antenne (5 GHz)*: [W] +5 dBi
* [N] Distance opérable jusqu’à 100 mm (en fonction de plusieurs paramètres, tels que l’intensité
de champ et la géométrie de l’antenne)
Pour afcher les informations réglementaires sur l’écran LCD/tactile, appuyez sur « Ofine » -
« (Réglage) » - « Information » - « Regulatory ».
Italiano
È una guida introduttiva per la prima operazione.
Per i dettagli, consultare il manuale dell’operatore disponibile sul sito web della propria regione
(www.satoworldwide.com).
Le illustrazioni utilizzate in questa guida rapida fanno riferimento al modello di trasferimento termico,
se non specicato altrimenti.
Accessori ( )
CT4-LX Adattatore CA Cavo di alimentazione* Guida rapida Brochure
Programma di garanzia globale Documenti Adattatori nucleo (2) Nucleo del nastro (3 tipi)
* La forma della spina di alimentazione varia in base alla regione.
Identicazione delle parti ( A)
Antenna NFC incorporata LCD/pannello Touch Indicatore LED Tasto /
(Alimentazione/Home) Uscita prelievo etichetta Leva di apertura del coperchio Connettore
di ingresso CC Connettore USB (tipo B) Connettore USB (tipo A) Connettore
LAN Ingesso caricamento Carta Testina di stampa Connettore USB (tipo A)*
Simbolo (coperchio nastro aperto) Coperchio superiore Guida supporto Rullo
Stampa
* Questo connettore USB si trova all'interno del coperchio superiore.
Opzioni ( B)
Unità taglierina Unità dispensatore
Opzioni interfaccia
• RS-232C per connessione con un cavo RS-232C
• WLAN/Bluetooth per connessione wireless
Collegamento dell'adattatore CA ( C)
1Collegare il cavo di alimentazione all’adattatore CA .
2Collegare la spina dell'adattatore CA al connettore di ingresso CC dell'CT4-LX .
3Inserire il cavo di alimentazione in una presa CA.
Impostazione del nastro carbograco (solo per il modello di trasferimento
termico) ( D)
aImpostazione dell’adattatore nucleo con il nastro carbografico
bCaricamento del nastro carbografico
1"# Aprire il coperchio superiore e $tirare il simbolo dell'unità del nastro (C). Il coperchio
del nastro (A) viene tirato in avanti. %& Posizionare il nastro carbograco (B) sul coperchio
del nastro.
2" Collegare il nastro carbograco al nucleo del nastro con nastro adesivo (D) o simili e
# avvolgerlo per qualche giro seguendo la direzione della freccia.
3"# Posizionare il nucleo del nastro.
4"Chiudere il coperchio del nastro (A) e #ruotare la manopola (E) per avvolgere per
qualche giro il nastro carbograco. $Chiudere il coperchio superiore.
Caricamento del supporto ( E)
• Quando il rullo del supporto è installato correttamente, la linguetta (F) è verticale.
• Passare il supporto sotto l'aletta (G) sul bordo della guida del supporto .
• Utilizzare solo i prodotti di alimentazione specicati da SATO.
• Regolare la guida del supporto in base alle dimensioni del supporto.
Accensione della stampante
Premere il tasto / (Alimentazione/Home) .
Per spegnere la stampante
Premere il tasto /(Alimentazione/Home) , quindi toccare ✔sull’LCD/sul pannello Touch .
Speciche di base
Metodo di stampa: Metodo termico diretto,Trasferimento termico
Densità testina (risoluzione): 203 dpi/305 dpi
Nome modello: CT4-LX
Dimensioni: 178 (L) x 238 (P) x 214 (A) mm (escluse le parti sporgenti)
Peso: Modello termico diretto: Circa 3,3 kg, Modello trasferimento termico: Circa 3,4 kg (non
compresi supporto e opzioni)
Potenza assorbita:
Condizione di tensione di alimentazione d'ingresso: CA 100 - 240 V, 50 - 60 Hz
In fase di picco: 155 VA/95 W (CA 100 V, rapporto di stampa del 30%)
187 VA/88 W (CA 240 V, rapporto di stampa del 30%)
Stand-by: 18 VA/8 W (CA 100 V), 24 VA/8 W (CA 240 V)
Requisiti di alimentazione: Adattatore CA
Tensione di ingresso: CA 100 - 240 V, 50 - 60 Hz
Tensione in uscita: CC 24 V ±5 % 2,7 A (simbolo CC )
Produttore: Lead Year Enterprise Co.,Ltd.
Modello: TG16-0064-01
Condizioni ambientali (temperatura/umidità):
Operativa: 0 - 40 ºC, 30 - 80 % di umidità relativa (senza condensa)
Conservazione: −10 - 60 ºC, 15 - 90 % di umidità relativa (senza condensa)
Specica tecnica ([B] Bluetooth [W] LAN wireless [N] NFC)
Banda di frequenza: [B] 2402 - 2480 MHz, [W] 2412 - 2472 MHz, 5180 - 5825 MHz,
[N] 13,56 MHz, Modulazione: [B] GFSK, Π/4 DQPSK, 8DQPSK, [W] DSSS, OFDM, [N] NFC
Type 2 Tag (Passive), Spaziatura tra i canali: [B] 1 MHz, [W] 5, 20, 40, 80 MHz, Max. potenza
in uscita*: [B] 4 dBm, [W] 20,5 dBm, Guadagno antenna (2,4 GHz)*: [B] +5 dBi, [W] +5 dBi,
Guadagno antenna (5 GHz)*: [W] +5 dBi
* [N] Distanza operativa di no a 100 mm (può variare in funzione di vari parametri, come
l’intensità di campo e la geometria dell’antenna)
Per visualizzare le informazioni sulla regolamentazione sull’LCD/pannello Touch a soramento,
toccare “Ofine” - “ (Impostazione)” - “Information” - “Regulatory”.
Nederlands
Dit is de snelstarthandleiding voor uw eerste handeling.
Meer informatie vindt u in de gebruikershandleiding op de website van uw regio (www.
satoworldwide.com).
De gebruikte afbeeldingen in deze beknopte handleiding zijn van het model met thermische
overdracht, tenzij anders aangegeven.
Accessoires ( )
CT4-LX Lichtnetadapter Netsnoer* Snelgids Brochure met Programma voor
Wereldwijde Garantie Documenten Kernadapters (2) Lintkern (3 types)
* De vorm van de stekker verschilt afhankelijk van de regio.
Identicatie van onderdelen (zie afbeelding A)
Ingebouwde NFC-antenne Lcd/bedieningspaneel Led-indicatielampje / (Aan-Uit/
Home)-knop Media-uitvoer Pal voor beschermkap open DC-ingangaansluiting
USB-aansluiting (type B) USB-aansluiting (type A) LAN-aansluiting
Medialaadpoort Printkop USB-aansluiting (type A)* (beschermkap lint
open)-markering Bovendeksel Mediageleider Drukrol
* Deze USB-aansluiting bevindt zich in de bovenste beschermkap.
Opties ( B)
Snijeenheid Dispenser
Interfaceopties
• RS-232C voor verbinding met RS-232C-snoer
• WLAN/Bluetooth voor draadloze verbinding
Aansluiting van de lichtnetadapter ( C)
1Sluit het netsnoer aan op de lichtnetadapter .
2Sluit de stekker van de lichtnetadapter aan op de DC-ingangaansluiting van de CT4-LX .
3Steek het netsnoer in een stopcontact.
Het koolstoint plaatsen (enkel voor model met thermische overdracht) ( D)
aDe kernadapters met het carbonlint plaatsen
bHet koolstoflint laden
1"# Open de bovendeksel en $trek aan de -markering van de linteenheid (C). De
beschermkap van het lint (A) wordt naar voren getrokken. %& Plaats het carbonlint (B) op
de beschermkap van het lint.
2"Maak het carbonlint aan de lintkern vast met plakband (D) of iets dergelijks en #draai
het een paar keer in de richting van de pijl.
3"# Plaats de lintkern.
4"Sluit de beschermkap van het lint (A) en #draai de draaiknop (E) om het carbonlint een
paar rondjes op te draaien. $Sluit de bovendeksel.
Papier plaatsen ( E)
• Wanneer de papierrol goed is geplaatst, staat de klep (F) in verticale positie.
• Voer het papier onder het lipje (G) aan de rand van de mediageleider .
• Gebruik alleen verbruiksartikelen die door SATO zijn vermeld.
• Pas de papiergeleider aan de grootte van het papier aan.
Het toestel inschakelen
Druk op de / (Aan-Uit/Home)-knop .
Het toestel uitschakelen
Druk op de / (Aan-Uit/Home)-knop , tik vervolgens op ✔op het lcd/bedieningspaneel .
Basisspecicaties
Afdrukmethode: Directe thermische methode,Thermische overdracht
Kopdichtheid (resolutie): 203 dpi/305 dpi
Modelnaam: CT4-LX
Afmetingen: 178 (B) x 238 (D) x 214 (H) mm (niet inclusief vooruitstekende onderdelen)
Gewicht: Direct thermisch model: Ca. 3,3 kg, model met thermische overdracht: Ca. 3,4 kg
(exclusief papier en opties)
Stroomverbruik:
Spanning ingangsvermogen: AC 100 - 240 V, 50 - 60 Hz
Bij piek: 155 VA/95 W (AC100V, bij afdrukverhouding van 30 %)
187 VA/88 W (AC240V, bij afdrukverhouding van 30 %)
Stand-by: 18 VA/8 W (AC100V), 24 VA/8 W (AC240V)
Voeding: Lichtnetadapter
Ingangsspanning: AC 100 - 240 V, 50 - 60 Hz
Uitgangsspanning: DC 24 V ±5 % 2,7 A (DC-symbool )
Fabrikant: Lead Year Enterprise Co.,Ltd.
Model: TG16-0064-01
Omgevingsomstandigheden (temperatuur/vochtigheid):
In bedrijf: 0 - 40 ºC, 30 - 80 % RV (niet-condenserend)
Opslag: −10 - 60 ºC, 15 - 90 % RV (niet-condenserend)
Technische specicatie ([B] Bluetooth [W] Draadloos LAN [N] NFC)
Frequentieband: [B] 2402 - 2480 MHz, [W] 2412 - 2472 MHz, 5180 - 5825 MHz, [N]
13,56 MHz, Modulatie: [B] GFSK, Π/4 DQPSK, 8DQPSK, [W] DSSS, OFDM, [N] NFC Type 2
Tag (Passive), Kanaalafstand: [B] 1 MHz, [W] 5, 20, 40, 80 MHz, Max. uitgangsvermogen*:
[B] 4 dBm, [W] 20,5 dBm, Antennewinst (2,4 GHz)*: [B] +5 dBi, [W] +5 dBi, Antennewinst
(5 GHz)*: [W] +5 dBi
* [N] Ontvangstbereik tot 100 mm (afhankelijk van verschillende parameters, zoals veldsterkte en
antennegeometrie)
Om de wettelijk verplichte informatie op het lcd/bedieningspaneel weer te geven, tik op
“Ofine” - “ (Instelling)” - “Information” - “Regulatory”.