l The removed turntable will be deformed by the heat of the
soldering iron, and cannot be reused.
l Prepare dial type calipers.
(1,
The attached bonding material can be dissolved by using a
60W soldering iron to heat the shaft at the under part of the
turntable
(CMl-2)
for about one minute.
(2)
The turntable can then be removed from the shaft by very
carefully applying force upward at the center of the lower surface
of the turntable.
(3)
Remove the two screws
(CMl-3)
and remove the spindle motor
(CMl-5).
(4)
(6)
(6)
Attach the special washer
(CM1-4)
to the spindle motor.
Apply a small amount of a mixture of the “Three Bond 2001
and
2015F”
bonding materials to the motor’s shaft.
Initial the turntable as shown in the figure. Secure the turntable
by pressing gently. Be sure to wipe away (by using a price of
cloth, or similar material) any bonding material coming out of
the hole.
REPLACEMENT OF CD MECHANISM
lNote that the mechanism of the CD player is very delicate.
l
It
is very important that the spindle motor (witch rotates the disc), and the sled motor (which cases the disc signals to be tracked), as
well as the gear and other components, operate smoothly, without eccentricity.
l When handling the pickup, take care not to exert excessive force, and particular care should be taken not to touch the lens or the
drive circuit’s P.W.Board pattern.
a. Replacement of the spindle motor
l
First, prepare the new turntable
(CMl-2)
and new special washer
(CM1-4) for replacement.
Don’ t attached bonding material
at the too of shaft.
Bonding material
8-IOmm
11.0
&
f
O.lmm
CM2
L---L
SHAFl
CM%5
Be
sure to
woe
away
the bonding material.
I
I
SPINDLE
MO1
SHAFT
b.
Confirm of inclination for the turntable
(1)
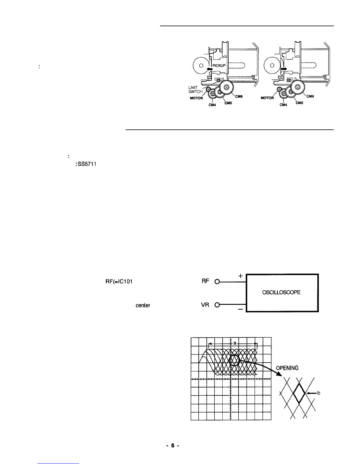
Connect the digital voltmeter as shown in the figure.
(2)
Set the test disc
(YEDS18),
press the PLAY button (Playback
for the most inner music).
(3) At this time, record voltage value to indicate at the digital
voltmeter.
(4)
Access the most outer music, press the PLAY button (Playback
for the most outer music).
(5)
Again at this time, record voltage value to indicate at the digital
voltmeter.
FrF*m
(6)
For reference at the recorded voltage of the most inner music, Low Pass Filter
confirm at
+
300mV less than for recorded voltage of the most
outer music.