
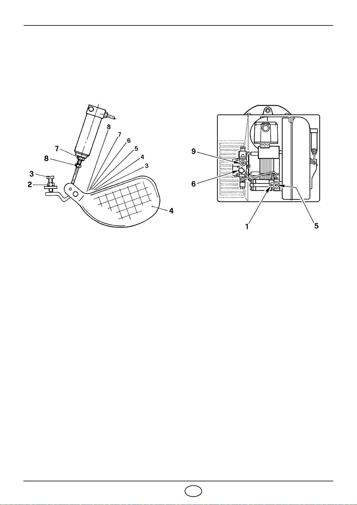
2354 8I
Le regolazioni della testa indicate in tabella vanno bene nella generalità dei casi. L’adattamento della
portata del ventilatore all’impianto va fatta normalmente solo con la serranda dell’aria.
Se eventualmente si vuole ritoccare successivamente, con bruciatore funzionante, anche la regola-
zione della testa, agire sull’asta (1) con chiave fissa (2) come segue:
Ruotare verso destra: (segno +), per aumentare la
quantità di aria immessa in camera di combustione e
diminuire la sua pressione. La CO2diminuisce e l’ag-
gancio fiamma al disco di turbolenza migliora. (Rego-
lazione indicata per accensioni a basse temperature).
Ruotare verso sinistra: (segno –), per diminuire la
quantità di aria immessa in camera di combustione
ed aumentare la sua pressione. La CO2migliora e
l’aggancio fiamma si riduce. (Regolazione sconsiglia-
ta per accensioni a basse temperature).
Non spostare, in ogni caso, la regolazione della testa
oltre una tacca dal valore indicato in tabella. Una tac-
ca corrisponde a tre giri dell’asta.
Un foro (3) alla sua estremità facilita il conto dei giri.
REGOLAZIONE SERRANDA ARIA:
Le regolazioni riportate in tabella si riferiscono al bruciatore con cofano montato e camera di com-
bustione con depressione zero. Tali regolazioni sono puramente indicative.
Ogni impianto ha condizioni di funzionamento sue proprie, non prevedibili: portata effettiva
dell’ugello, pressione o depressione in camera di combustione, eccesso d’aria necessario; ecc.
Tutte queste condizioni possono richiedere una diversa regolazione della serranda.
È importante tenere conto che la portata d’aria del
ventilatore è differente a seconda che il bruciatore
abbia il cofano smontato o montato.
Pertanto è opportuno procedere come segue:
– regolare la serranda come indicato in tabella (3);
– montare il cofano avvitando per semplicità solo la
vite superiore;
– controllare il Bacharach;
– se occorre variare la portata d’aria, allentare la vite
del cofano, toglierlo, agire sulla serranda, rimontare
il cofano e quindi ricontrollare il Bacharach.
NOTA: Quando il bruciatore funziona ad una
portata superiore a 18 kg/h togliere il
pannello montato all’interno del cofano.
(Vedi figura a lato).