1 Description...................................................................................................3
2 Safety conditions........................................................................................4
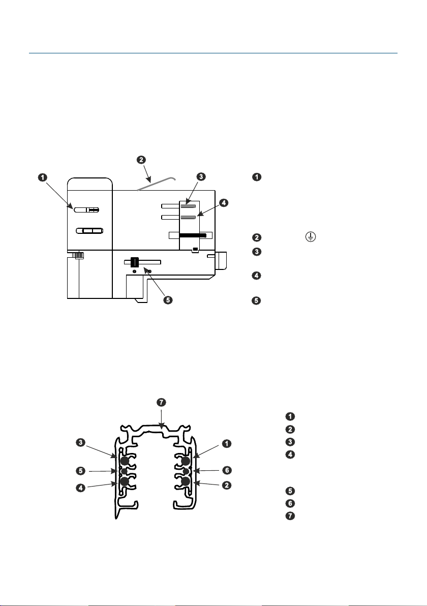
3 Connectors and control elements...........................................................6
4 Information on version..............................................................................6
5 DMX connection.........................................................................................7
5.1 LOBAL Trac® AC 600 adapter..............................................................................7
5.2 The cross-section of the DMX LOBAL Trac® Pulse Control..............................7
6 Control..........................................................................................................8
6.1 Buttons.......................................................................................................................... 8
6.2 DMX signal................................................................................................................. 10
7 Cooperating with the PX277 con/gurator...........................................11
7.1 Available parameters............................................................................................... 11
7.2 The PxArt+ 6 menu diagram in PX277.................................................................13
8 RDM – available parameters..................................................................15
9 Connection scheme.................................................................................17
10 Dimensions.............................................................................................18
11 Technical data........................................................................................19
Manufacturer reserves the right to make modications in order to improve device
operation.
!"#
$% !
&'()*"+$
#,-$,",
*./*
000*
12-%$
$#$-
$