
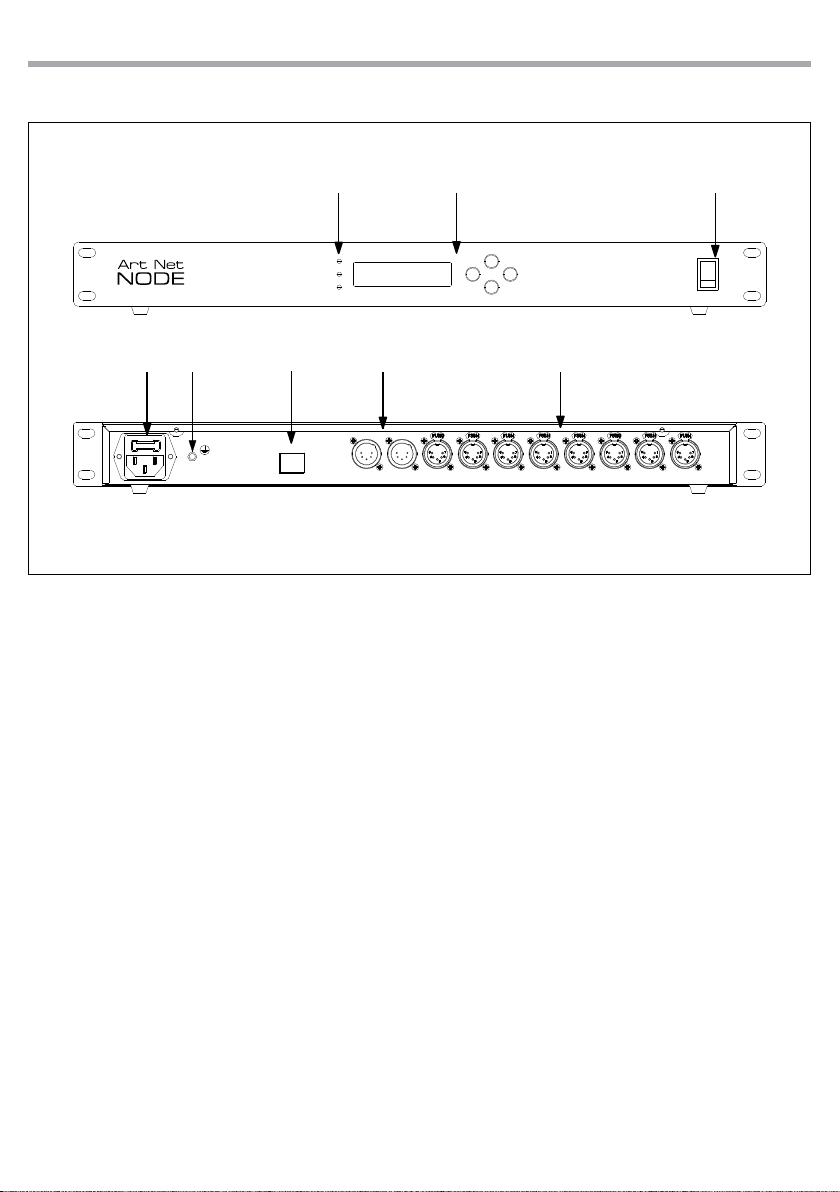
ARTNETNODE
2
WARNING! Before carrying out any operations with the unit, carefully read this instruction
manual and keep it with cure for future reference. It contains important information about
the installation, usage and maintenance of the unit.
SAFETY
General instruction
• The products referred to in this manual conform to the European Community Directives and are there-
fore marked with .
• The unit is supplied with hazardous network voltage (230V~). Leave servicing to skilled personnel only.
Never make any modications on the unit not described in this instruction manual, otherwise you will
risk an electric shock.
• Connection must be made to a power supply system tted with ecient earthing (Class I appliance ac-
cording to standard EN 60598-1). It is, moreover, recommended to protect the supply lines of the units
from indirect contact and/or shorting to earth by using appropriately sized residual current devices.
• The connection to the main network of electric distribution must be carried out by a qualied electrical
installer. Check that the main frequency and voltage correspond to those for which the unit is designed
as given on the electrical data label.
• This unit is not for home use, only professional applications.
• Never use the xture under the following conditions:
- in places subject to excessive humidity;
- in places subject to vibrations or bumps;
- in places with an ambient temperature of over 40°C.
• Make certain that no inammable liquids, water or metal objects enter the xture.
• Do not dismantle or modify the xture.
• All work must always be carried out by qualied technical personnel. Contact the nearest sales point for
an inspection or contact the manufacturer directly.
• If the unit is to be put out of operation denitively, take it to a local recycling
plant for a disposal which is not harmful to the environment.
Warnings and installation precautions
• This product is for indoor use only! It is rated IP20. Make sure that the device is not exposed to extreme
heat, moisture or dust.
• This product is not intended for permanent installation.
• If this device will be operated in any way dierent to the one described in this manual, it may suer
damage and the guarantee becomes void. Furthermore, any other operation may lead to dangers like
short circuit, burns, electric shock, etc.
• Always inspect the mechanical and electrical parts of the unit before tting to check they are not dam-
aged. Do not operate the product if you see damage. If the part is damaged, it has to be replaced by a
qualied technician.
• When carrying out any work, always comply scrupulously with all the regulations (particularly regard-
ing safety) currently in force in the country in which the xture’s being used.
• Before starting any maintenance work or cleaning the xture, cut o power from the main supply.
• Install the xture in a well ventilated place.
• Keep any inammable material at a safe distance from the xture.
• Never remove warning or informative labels from the unit.
• For replacement use fuses of same type and rating only.
• Don’t connect the device to a dimmer pack.