
2 EmStat3-MUX16 for OEM
Contents
1EmStat3 PCB.................................................................................................................................... 3
2Connecting EmStat board to MUX16 multiplexer .............................................................................. 3
2.1 CON1 description..................................................................................................................... 4
2.2 CON2 description..................................................................................................................... 4
2.3 Pinout of sensor connector (CON4): ......................................................................................... 4
2.4 CON1 to MUX16 ...................................................................................................................... 5
3MUX16 PCB...................................................................................................................................... 5
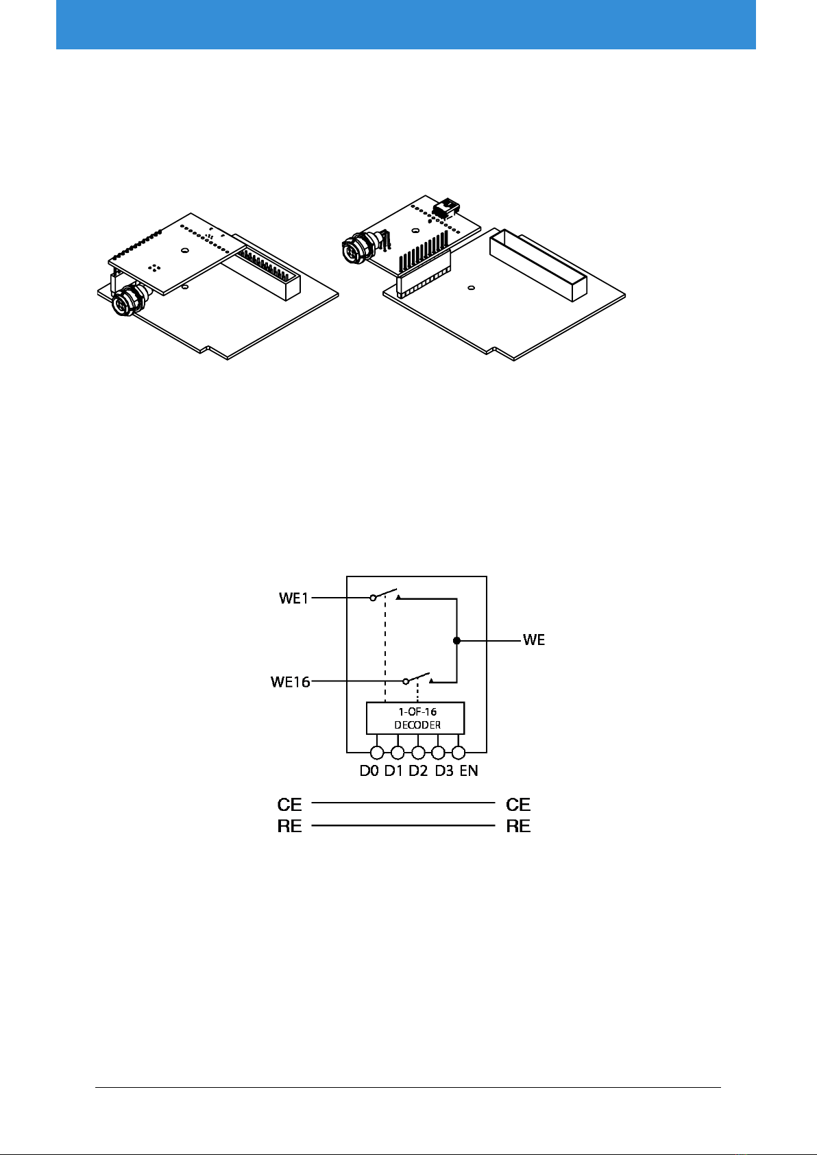
3.1.1 Functional diagram ............................................................................................................... 5
3.2 Set standby potential with the Vaux pin .................................................................................... 6
3.3 MUX16 configurations .............................................................................................................. 7
3.4 Electrodes connections ............................................................................................................ 9
3.5 Specifications ........................................................................................................................... 9
4PCB dimensions.............................................................................................................................. 10
4.1 MUX16 PCB ........................................................................................................................... 10
4.2 EmStat3PCB.......................................................................................................................... 11
4.3 PCB’s connected – option 1................................................................................................... 12
4.4 PCB’s connected – option 2................................................................................................... 13