
10-20 LB. 12V BOTTLE HEATER
PRESSURE-ACTIVATED
P/N 14169NOS
INSTALLATION INSTRUCTIONS
199R10309
INTRODUCTION:
The NOS bottle heater will keep your bottle at the correct pressure under the most grueling conditions with its 75+ square inches
of heating area. It more accurately controls bottle pressure, since it is controlled by internal bottle pressure; not bottle
temperature. The heater starts to work when the bottle pressure drops below 900 psi and stops at approximately 1050 psi.
INSTALLATION:
1. Disconnect the battery ground cable.
2. Install the -4 swivel female/male adapter on the bottle nut.
WARNING! DO NOT use any Teflon sealer on the flare connections!
3. Screw the pressure switch into the adapter. Tighten securely. Reconnect the NOS supply line.
WARNING! Over-tightening the pressure switch can damage the switch internally.
WARNING! DO NOT use any sealer on the o-ring connection!
4. Install the heater element on the nitrous bottle. The element must be square and flat on the bottle surface.
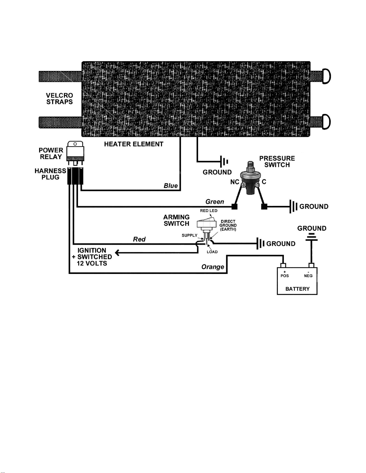
5. Connect either wire from the heater to a ground source using a supplied ring terminal (usually the bottle bracket mount is
OK if it is mounted to the vehicle chassis or body). The other heating element wire will go to the blue wire from the relay.
6. The heavy-duty relay should be mounted as close to the heating element as practical.
7. From the relay:
(1) Connect the orange wire (with supplied 30A fuse) to a key-on 12V source
(2) Connect the green lead to the “NC” terminal on the pressure switch
(3) Connect the blue wire to the remaining heater blanket wire (if not already done).
(4) Connect the red wire to the center terminal of the arming switch.
NOTE: Additional lengths of matching colored wire, wiring spades, and ground wire (black) are provided in your kit.
8. Connect the “C” terminal from the pressure switch to ground.
9. Connect the terminal of the arming switch closest to the LED to ground. The terminal away from the LED must be
connected to key-on 12V power (refer to the wiring diagram if further help is needed).
10. Check all wiring circuits for correct routing and confirm all connections. Double check that the nitrous supply line is tight at
the bottle along with the fitting adapter. Reconnect the ground cable and your bottle heater is ready to go!
NOTE: The heater will not come on unless the bottle pressure is below 900 psi and will not automatically turn off until the bottle
pressure is approximately 1050 psi.
CAUTION! Never operate your heater with the bottle valve in the closed position. The pressure transducer cannot
sense the internal bottle pressure when the valve is closed. Failure to open the valve before operating
heater could result in rupture of the blow off disc in the bottle.
CAUTION! Never touch your heater when it is operating. The surface temperature may reach 400 degrees.
CAUTION! Never operate your heater unless the heating element is installed on the nitrous bottle, tightened firmly and
completely flat. If you do not observe this caution, element burnout will result! This is not covered by
warranty.
CAUTION! Do not attempt to operate the heater without the heavy-duty relay properly installed, per the wiring diagram.
Failure to do so will result in premature pressure transducer failure.