PL © 2021 MOEVI. Wszystkie prawa zastrzeżone. Głośnik BT
5
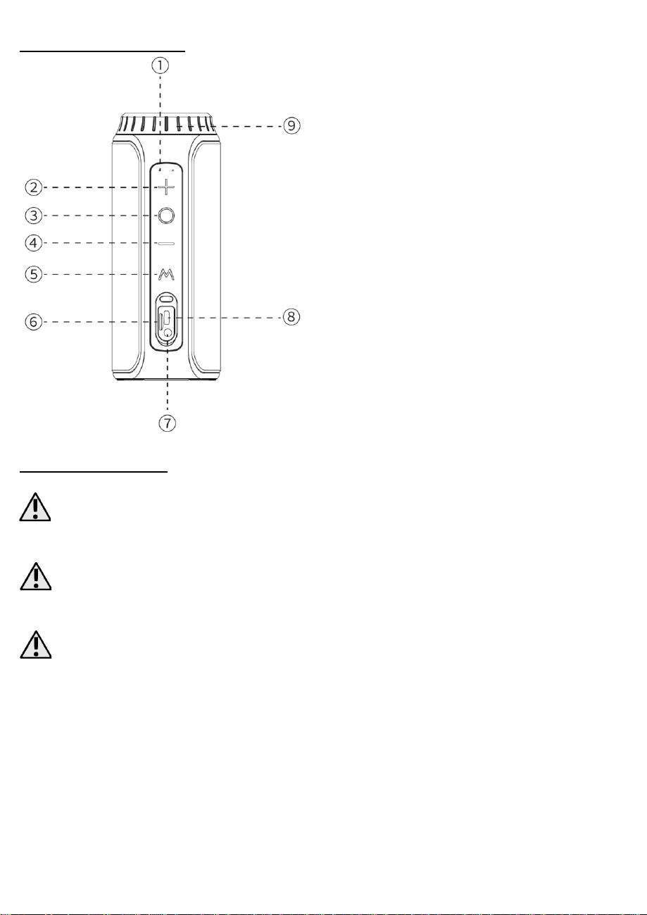
4.2 Włączanie i wyłączanie urządzenia
1. Wciśnij i przytrzymaj przez ok. 2 sekundy przycisk włącznika (3) żeby włączyć urządzenie.
Dioda stanu (1) zaświeci się i będzie migać na niebiesko, a z głośnika dobiegnie sygnał
dźwiękowy potwierdzający włączenie urządzenia.
2. Wyłączenie urządzenia nastąpi przy kolejny wciśnięciu i przytrzymaniu przycisku włącznika
przez ok. 2 sekundy. Dioda stanu zgaśnie, a z głośnika dobiegnie sygnał dźwiękowy
potwierdzający wyłączenie urządzenia.
4.3 Tryb Bluetooth
1. Włącz głośnik przyciskiem ON/OFF (3) na obudowie. Gotowość do parowania ze źródłem
dźwięku zostanie zasygnalizowana szybkim miganiem diody stanu (1).
2. W źródle dźwięku w razie potrzeby włącz moduł Bluetooth, odszukaj na liście urządzenie
„MOEVI_EGD-4812” i wybierz je do sparowania.
3. W przypadku niektórych urządzeń konieczne może być potwierdzenie parowania kodem
PIN. Najczęściej jest to 0000, jeśli instrukcja źródła dźwięku nie podaje innego lub żadnego
kodu PIN.
4. Udane parowanie zostanie potwierdzone krótkim sygnałem dźwiękowym, a niebieska dioda
stanu (1) zacznie świecić światłem ciągłym.
4.4 Tryb TWS (True Wireless Stereo)
Istnieje możliwość połączenia dwóch głośników w celu uzyskania dźwięku stereo:
1. Upewnij się, że moduł Bluetooth w urządzeniu źródłowym jest wyłączony.
2. Włącz oba głośniki.
3. W głośniku, który będzie głośnikiem głównym dwukrotnie wciśnij przycisk ON/OFF (3).
Obydwa głośniki wejdą w tryb parowania TWS. Poprawne połączenie się głośników zostanie
potwierdzone sygnałem dźwiękowym, dioda stanu dodatkowego głośnika będzie świecić się
ciągłym światłem niebieskim.
4. Włącz moduł Bluetooth w urządzeniu źródłowym, odszukaj na liście urządzenie
„MOEVI_EGD-4812” i wybierz je do połączenia.
W trybie TWS głośnik główny odpowiada za lewy kanał, a głośnik dodatkowy za prawy kanał.
4.5 Tryb AUX
1. Włącz głośnik przyciskiem ON/OFF (3) na obudowie.
2. Podłącz przewód minijack-minijack (nie jest częścią zestawu) jednym końcem do wejścia
AUX w urządzeniu (7), drugim końcem do źródła dźwięku.
3. Rozpoznanie trybu AUX nastąpi automatycznie. Możesz zacząć słuchać muzyki przesyłając
ją z urządzenia źródłowego.
4.6 Tryb microSD
1. Włącz głośnik przyciskiem ON/OFF (3) na obudowie.
2. Włóż kartę microSD (o pojemności do 64GB) do slotu kart microSD (6).
3. Urządzenie automatycznie wykryje kartę i rozpocznie odtwarzanie muzyki we wspieranym
formacie (WAV, MP3, AAC lub FLAC).
4.7 Regulacja poziomu głośności oraz sterowanie odtwarzaniem muzyki
Przyciski (2) i (4) służą do regulacji poziomu głośności. Krótkie wciśnięcie któregoś z nich powoduje
zmniejszenie, bądź zwiększenie głośności. Regulacji poziomu głośności można również dokonać przy
pomocy pokrętła (9) znajdującego się u góry urządzenia. Uzyskanie najwyższej głośności zostanie
potwierdzone dźwiękiem.
Długie wciśnięcie przycisku (2) włączy kolejny utwór, a przycisku (4) poprzedni bądź ponowne
odtwarzanie bieżącego utworu. Krótkie wciśnięcie przycisku wielofunkcyjnego (5) włącza pauzę