LyxPro SPA-12BAT Manual de usuario

PORTABLE PA
SPEAKER SYSTEM
User Guide
LYXSPA12BAT
Thank you for purchasing the LyxPro SPA-12BAT Portable PA Speaker System and welcome to the LyxPro™ family. This User Guide
should provide a practical overview of this product’s features and usage applications. We hope you nd it helpful.
This User Guide is also intended to provide guidelines to ensure that operation of this product is safe and does not pose risk to the
user. Any use that does not conform to the guidelines described in this User Guide may void the limited warranty.
Please read all directions before using the product and retain this guide for reference. This product is intended for household
use only.
This product is covered by a limited one-year warranty. Coverage is subject to limits and exclusions. See warranty for details.
Features
• Two (2) wireless hand-held microphones
• Built-in handle and rolling wheels
• Built-in Bluetooth receiver
• USB & SD card readers
• Built-in 2-band equalizer
• Two (2) wired microphone inputs
• 3.5mm stereo auxiliary input
• RCA L/R (Red & White) inputs
• Mix output to daisy chain other speakers
• 12” low frequency woofer
• 70 Watt RMS power
• Built-in 4-hour rechargeable battery
What’s in the Box?
• 1 x SPA-12BAT portable battery PA system
• 2 wireless hand-held transmitters
• 1 x IR remote
• 1 x power cord
• 1 x user guide
Safety Precautions
1. Installation and/or repair of the speaker cabinet must be carried out by qualified personnel according to approved safety standards.
2. Do not clean plastic enclosure with solvents or petrochemical-based cleaners.
3. Do not place lighting equipment or other heat-generating objects on speaker cabinet.
4. Do not place speaker cabinet in water or expose to rainfall. This poses a risk of a hazardous short circuit.
5. Do not stack speaker cabinet in a manner that could cause injury if it becomes dislodged.
6. Before installation, ensure that voltage and frequency of power outlet match power requirements of the speaker.
7. Make connections to the speaker first, before connecting to main power.
8. Ensure that power cord is never crimped or damaged by sharp edges. Do NOT allow power cord to come into contact with other
cables. Only handle power cord by the plug when disconnecting or connecting to an electrical outlet.
9. If fuse replacement is needed, be sure to use one of identical rate and dimensions.
This product shall not be treated as household waste. Instead, it shall be dealt with in accordance with regulations of recycling electrical
and electronic equipment. By ensuring this product is disposed of correctly, you will help prevent potential negative consequences
to the environment and to human health, which could otherwise be caused by inappropriate waste handling of this product. The
recycling of materials will help conserve natural resources. For more detailed information about recycling of this product, please
ontact your local city oce, your household waste disposal service or the shop where you purchased the product.
1

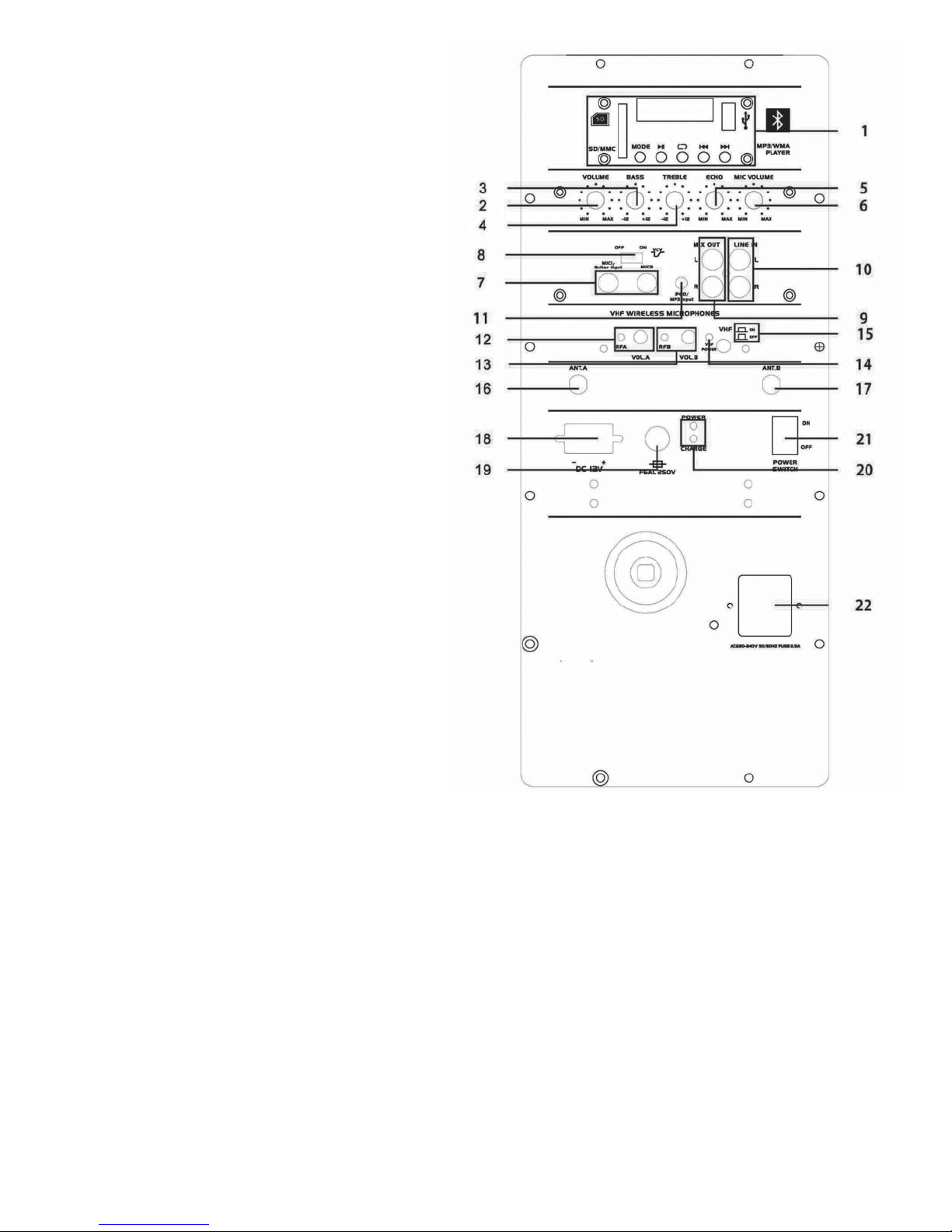
Location of Controls
1. USB Playback
a. MODE Exchange between USB / SD /
BLUETOOTH /REMOTE CONTROL
b. BLUETOOTH
c. Play/Pause
d. Repeat
e. Last
f. Next
2. Volume: Control master sound level
3. Volume: Bass level control
4. Volume: Treble level control
5. Volume: Echo level control
6. Volume: Mic. level control
7. MIC 1 /GUITAR / MIC 2 input
8. VCV Voice control volume switch to control the
priority for Mic.
9. Left / Right Mic. output
10. Left/ Right Line input
11. Aux input
12. Indicator light for wireless mic A / Volume control for
wireless mic A
13. Indicator light for wireless mic B / Volume control for
wireless mic B
14. Indicator light for VHF power
15. Switch to control the VHF
16. Antenna for wireless mic. A
17. Antenna for wireless mic. B
18. DC 12V input
19. F6AL 250V fuse
20. Light indicator for battery charge
21. Power switch: Switch the unit on / off
22. Main supply input: Connect an IEC main power cable in order
to power the unit through electrical outlet connection.
Operations Overview
Charging the battery
• When not in use but connected to the main power supply, if the POWER switch is in the off position, the internal battery
will be re-charged from the main. This is indicated by the CHARGE LED, which lights when charging.
• When fully charged, the CHARGE LED will go out.
Powering the Unit On
• Turn the VOLUME, ECHO and MIC VOLUME controls down and turn the POWER switch to the on position (the power LED
will light).
• Switch VCV (voice controlled volume) off.
Using the VHF Wireless Microphones
1. Insert 9V batteries into the handheld microphones by carefully unscrewing the base of each one and connecting the “+” and “-“
terminals of the battery to the corresponding clips inside the microphone body. Make sure to observe the correct polarity.
2. With the VOL A and VOL B controls turned down, press the VHF ON/OFF button in so that the VHF POWER LED lights. Switch on
each wireless mic in turn – the RF LEDs will light as a result.
3. Gradually increase VOL controls, testing each microphone in turn for output through the speaker.
4. Turning the ECHO control clockwise adjusts a pre-set echo function for singing and special effects. BASS and TREBLE can be
cut or lowered by turning counter-clockwise or increased by turning clockwise.
5. When not in use, switch the wireless microphones off.
2

Using VCV Voice Control Volume Switch Function
• The VCV switch will prioritize the microphone over the music playback. When the VCV is enabled the music will be silenced
when there is an announcement through the microphone. This is very useful for announcements during a party, for example.
Connecting to Bluetooth
1. Press and hold the Mode Button (#1a). Display will read “Blue.”
2. Turn on Bluetooth function on mobile device you wish to pair.
3. When “LYXPRO” appears on your mobile device, select it.
4. There will be a short “beep” sound. Devices are now paired.
Using the Remote Control
• In addition to the panel controls, an infra-red remote control is included for the USB/SD player which provides additional
functions to allow greater control over the media player.
• To operate remote control, remove the clear plastic tab to activate the battery.
• In order for the remote to operate properly, ensure that it is pointed toward the front of the speaker.
Specications
SpeakerType: Active
Frequency Response: 70Hz-18KHz
Power Output: 70W
Maximum Sound Pressure Level (SPL): 110dB
Nominal Sensitivity: 93dB
Impedance: 4ohm
Low Frequency Driver: 12" Woofer 30 oz. 1.5" VC 4 ohm
High Frequency Driver: 1" Ti. Diap 8ohm
Enclosure Material: Plastic
Input Connections: 1/4" Mic/Line Input, Aux Input, 2 RCA Line
Input Dimensions: 25.5” x 16.5” x 14.17"
Weight: 39.6lbs.
This product is covered by a limited one-year warranty. Please see warranty information on our website at www.lyxpro.com.
Customer Service:
info@lyxpro.com
866-849-3049
www.lyxpro.com
Distributed by
C&A Marketing, Inc.
2 Bergen Turnpike
Ridgeeld Park, NJ 07660
MADE IN CHINA
LyxPro is a trademark of
C&A IP Holdings, LLC
©2016 All Rights Reserved
3
Tabla de contenidos
Otros manuales de Oradores de LyxPro





















