
7
Für Ihre Notizen. For your notes.
Pour vos remarques. Para sus notas.
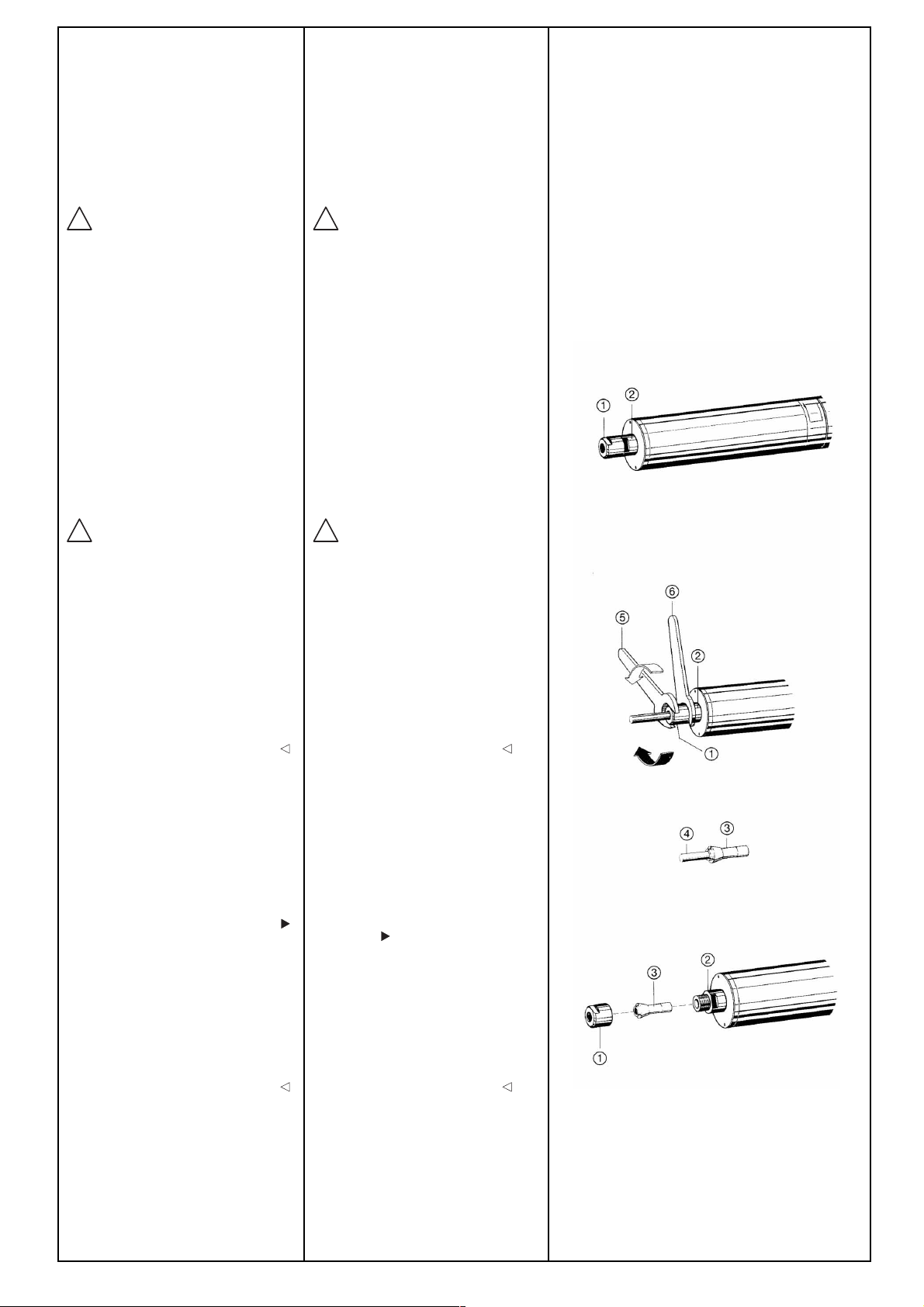
6. Cambio de la herramienta
6.1 Inmovilizar el casquillo de protección
➁mediante la llave bifurcada ≈y
aflojar la tuerca tensora ➀conlaayuda
de la llave bifurcada ➄, que se moverá
en la dirección de la flecha , hasta
que la espiga de verificación √o la
herra-mienta anteriormente utilizada
se pue-dan sacar hacia adelante.
6.2 Introducir la herramienta nueva hasta
el tope en las tenazas ➂. Apretar la tu-
erca tensora ➀con la ayuda de la
llave bifurcada ➄, que se moverá en la
direc-ción de la flecha , y inmovilizar
de esta manera la herramienta.
7. Mantenimiento
¡Atención!
!
Bajo ningún concepto se admite que
el husillo del motor
AV EWL 4029 se lim-
pie con ultrasonido, chorro de vapor,
aire comprimido o similares.
Los detergentes (como p.ej. spray de
limpieza, disolvente de grasa, etc.) no
debende ningún modo llegar al interior
del husillo del motor AV EWL
4029.
7.1 Limpiar las tenazas ➂con toda regu-
laridad.
7.1.1 Limpiar el sujetador de las tenazas y
las tenazas ➂propriamente dichas
conunpincel o cepillo.Limpiar y aceitar
ligeramente la rosca de la tuerca ten-
sora ➀y del casquillo de protección ➁.
7.1.2 Volver a colocar las tenazas ➂ya lim-
pias, junto con la herramienta o la
espiga de verificación √, en el husillo
del motor AV EWL 4029 (ver 5.1 -5.1.3
).
8. Datos técnicos del husillo del motor
AV EWL 4029 se refieren al servicio
con el convertidor AV 4444:
Caja de acero especial ø 33 mm
Frecuencia 83-1.000 Hz
Numéro de revoluciones sin carga
5.000-60.000 rpm
Par de giro/Par motor máx. 6 Ncm
Rendimiento de puntas
máx. 150 Watt
Tensión máx. 30 V
Corriente máx. 8 A
Peso (incl. cable de conexión 1,5 m)
0,8 kg
6. Changement d'outil
6.1 Positionner la douille antipoussière
➁avec la clef àfourche ≈et desserrer
l'écrou de serrage ➀avec la clef à
fourche ➄dans le sens de la flèche
jusqu'à ce que la goupille d'essai
√ou l'outil utilisé jusqu'ici puisse être
enlevée vers l'avant.
6.2 Introduire le nouvel outil jusqu'en
butée dans la pince de serrage ➂.
Bloquer l'écrou de serrage ➀avec la
clef à fourche ➄dans le sens de la
flèche
et positionner ainsi l'outil.
7. Entretien
Attention!
!
Il ne faut en aucun cas nettoyer la
broche HF EWL 4029 aux ultrasons,
au jet de vapeur, à l'air comprimé ou
avec des moyens similaires.
Enaucun cas, les detergents (comme
p.ex. spray de nettoyage, solvant de
graisse, etc.) ne doivent pas parvenir
à l'interieur du moteur broche HF
EWL 4029.
7.1 Nettoyer régulièrement la pince de
serrage ➂.
7.1.1 Nettoyer le logement de la pince de
serrage et la pince de serrage ➂
avec un pinceau ou
avec une brosse. Nettoyer et huiler
légèrement le file-tage de l'écrou de
serrage➀ etdeladouille de protection
de poussière ➁.
7.1.2 Monter de nouveau la pince de
serrage ➂nettoyée et l'outil ou de la
tige d'essai √dans le moteur broche
HF EWL 4029 (voir les § 5.1 à 5.1.3).
8. Les caractéristiques techniquesde
labroche HF EWL 4029 se rapportent
au service avec le convertisseur HF
4444:
Caisse d'acier spécial ø 33 mm
Fréquence 83-1.000
Hz
Vitesse à vide 5.000-60.000 tr/min
Moment d'un couple max. 6 Ncm
Puissance maximale max. 150 Watt
Tension max. 30 V
Courant max. 8 A
Poids (Cable de connection 1,5 m
inclus) 0,8 kg
Pinces de serrage livrables: Tenazas entregables:
Réf./Ref. Ø Réf./Ref. Ø Réf./Ref. Ø Réf./Ref. Ø
674 2122 0,3 674 2212 1,2 674 2302 2,1 674 2392 2,9
674 2132 0,4 674 2222 1,3 674 2312 2,2 674 2402 3,0
674 2142 0,5 674 2232 1,4 674 2322 2,3 674 2412 3,1
674 2152 0,6 674 2242 1,5 674 2332 2,35 674 2422 3,175
674 2162 0,7 674 2252 1,6 674 2342 2,4 674 2432 3,2
674 2172 0,8 674 2262 1,7 674 2352 2,5 674 2442 3,3
674 2182 0,9 674 2272 1,8 674 2362 2,6 674 2452 3,4
674 2192 1,0 674 2282 1,9 674 2372 2,7 674 2462 3,5
674 2202 1,1 674 2292 2,0 674 2382 2,8 674 3132 4,0